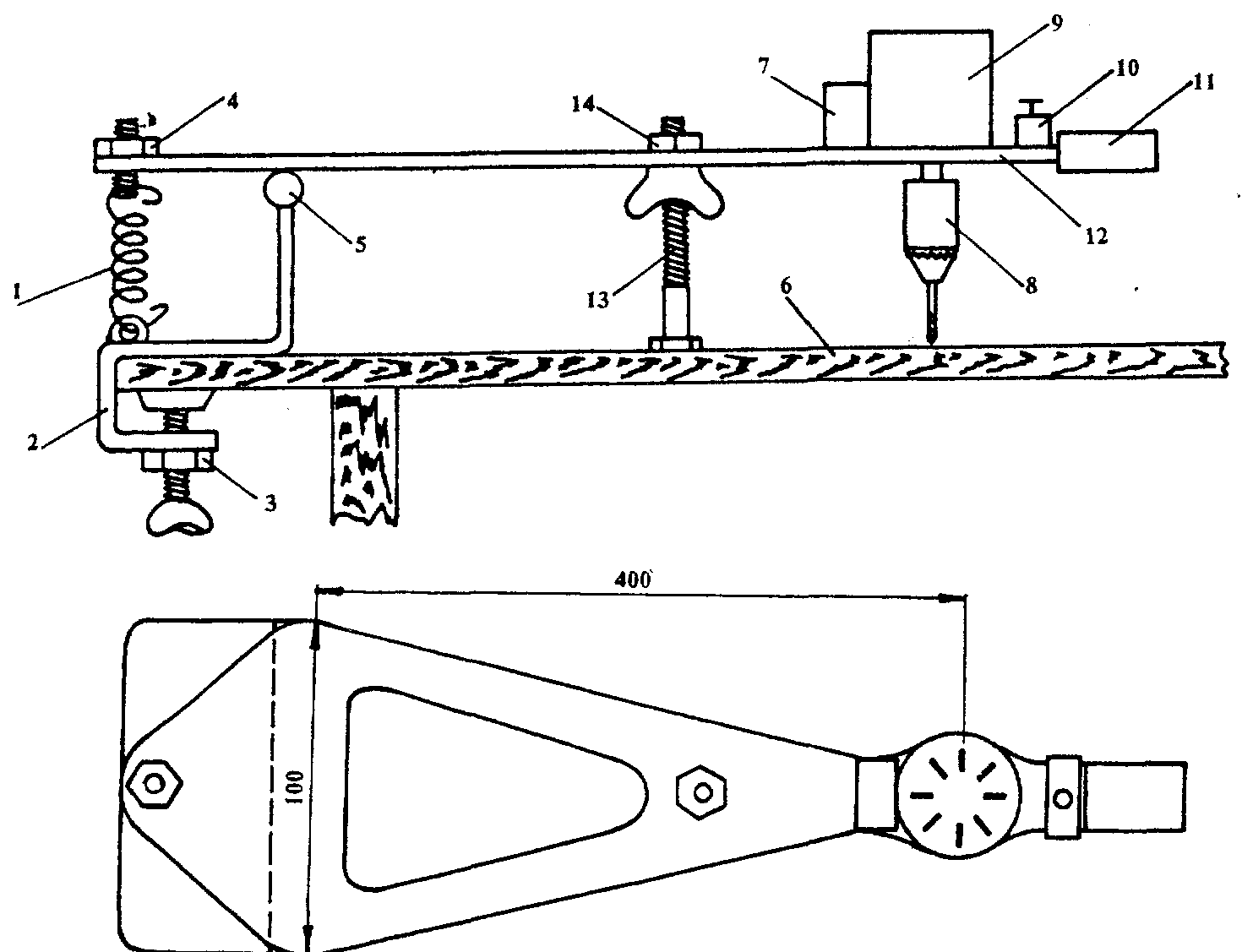
Станок для сверления плат.До этой конструкции автор делал подобные станки с применением фотоштатива, с различными направляющими элементами, поданную разработку считает наиболее удачной и полезной для практического использования радиолюбителями. Ее достоинства: надежное крепление на столе, удобство в управлении, возможность сверления больших плат, а при определенной настройке опорного винта — возможность операции фрезерования.
Составные части станка, изображенного на рисунке:

1. Возвратная пружина. 2. Опорная скобка 8-4мм. 3. Гайки М-10 — 2 шт. (приварить). 4. Гайка М-10 натяжная. 5. Шарнир (без люфта). 6. Стол. 7. Конденсатор. 8. Патрон. 9. Асинхронный электродвигатель (40 Вт). 1.0. Кнопка включения. 11. Ручка (отрезок шланга). 12. Несущая пластина, 5-3 мм. 13. Упорный винт М8. 14. Гайка М8 (приварить).
Ю.САВЕНКО, г.Усть-Лабинск.
Радиолюбитель 8/93