Трехполосный громкоговоритель.

Повышение качества звучания современных громкоговорителей достигается главным образом за счет применения новых мощных динамических головок, а это чаще всего влечет за собой увеличение их габаритов, массы, стоимости. Между тем очень неплохой громкоговоритель можно построить и на базе недорогих динамических головок.

Основные технические характеристики.

Номинальная (паспортная) мощность, Вт ...................................10 (30)

Номинальный диапазон воспроизводимых частот, Гц............30...25 000

Число полос ........................................................................................3

Частоты разделов, Гц...................................................................500; 5000

Номинальное электрическое сопротивление, Ом...........................6,3

Среднее стандартное звуковое давление, Па ..................................0,35

Габариты, мм...............................................................................620х350х310

Электрическая схема громкоговорителя приведена на рис. 1. Он построен на базе трех динамических головок. Функции низкочастотной (НЧ) выполняет головка 6ГД-2, среднечастотной (СЧ) — ЗГД-38Е, высокочастотной (ВЧ) — 6ГД-13 (новое название 6ГДВ-4). В НЧ звене применен фильтр второго порядка L1C1, в СЧ — первого L2C2, а в ВЧ — третьего L3C3C4. Для выравнивания АЧХ громкоговорителя в области средних звуковых частот СЧ головка включена через резистор R1. С целью улучшения звучания системы на частотах выше 503 Гц ВЧ головка 6ГДВ-4 подключена к фильтру с использованием резисторов R2 и R3. Важно отметить, что эта головка включена в противофазе с НЧ и СЧ головками.

Акустическое оформление громкоговорителя — фазоинвертор. Корпус его изготовлен из ДСП толщиной 20 мм. Передняя панель и боковые стенки соединены друг с другом рейками 20 х 20 мм с помощью эпоксидного клея ЭДП. Задняя стенка съемная, она прикрепляется к корпусу через резиновые прокладки толщиной 2 мм.

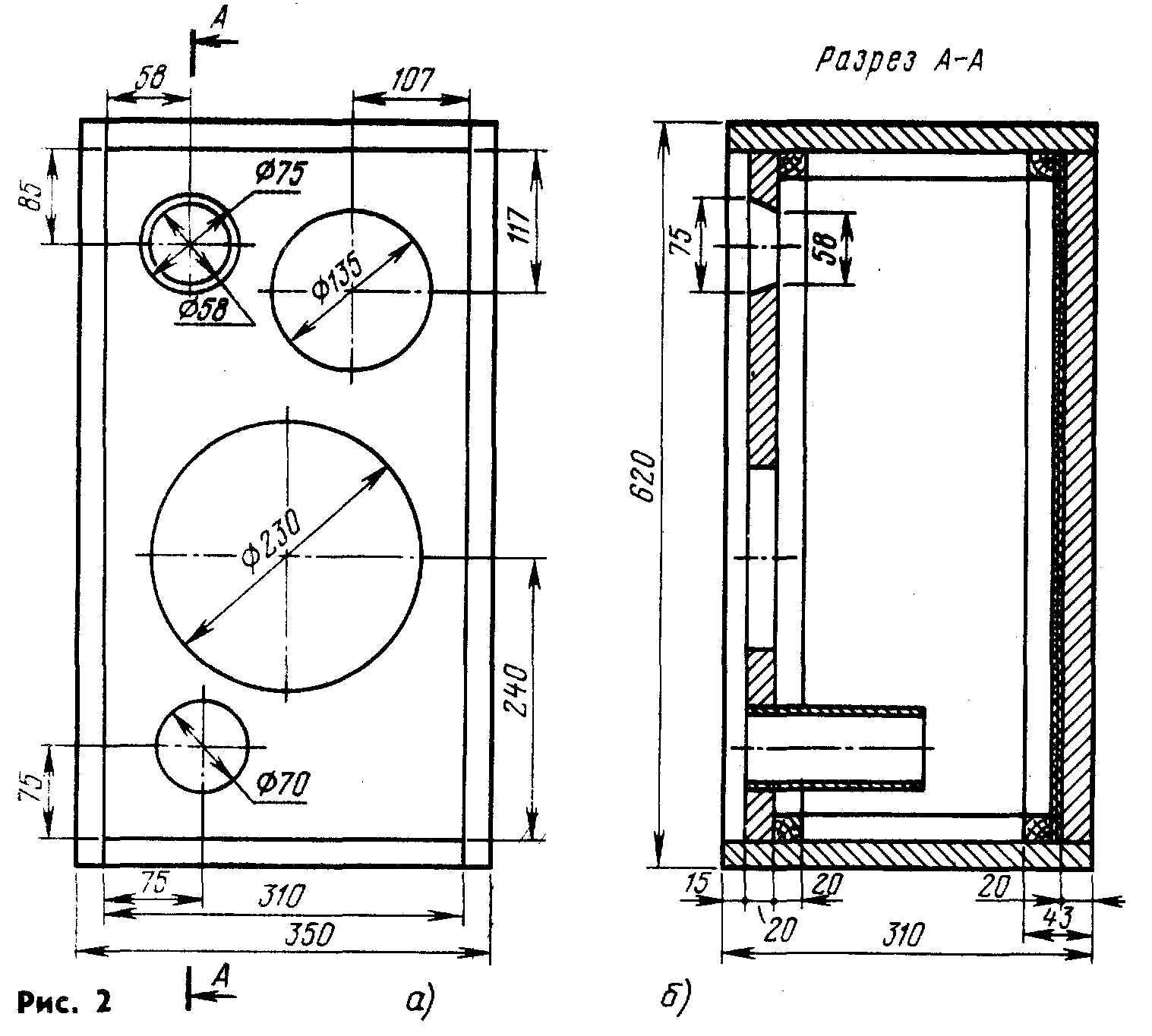
Вид со стороны лицевой панели показан на рис. 2, а, а разрез корпуса по линии А-А— на рис. 2, б. НЧ и СЧ голоіки закрепляются с наружной стороны лицевой панели. Между ней и диффузорами головок проложены резиновые (можно и пенополиуретановые) кольца толщиной 1,5 мм.

Головку 6ГД-2 перед размещением на лицевой панели необходимо доработать с целью снижения ее полной добротности. Для этого в окнах ее диффузородержателя следует установить панели акустического сопротивления (ПАС), т. е. заклеить их синтетическим войлоком или, в крайнем случае, сложенной в несколько слоев медицинской марлей. Среднечастотную головку необходимо поместить в герметический бокс объемом около 2 л, заполненный ватой. Диаметр бокса равен диаметру отверстия в лицевой панели под СЧ головку. Место его соединения с панелью должно быть тщательно загерметизировано (например, пластилином). ВЧ головку 6ГДВ-4 крепят с внутренней стороны лицевой панели, причем боковые поверхности отверстия для ее установки должны как бы продолжать имеющийся на головке конус и образовывать вместе с ним излучающий рупор. Между корпусом этой головки и панелью следует проложить уплотняющее резиновое кольцо. Туннель фазоинвертора представляет собой пластмассовую трубку с внешним диаметром 70 и внутренним 65 и длиной 150 мм. Она вставляется в соответствующее отверстие на лицевой панели с наружной стороны. Щели между панелью и туннелем герметизируют с внутренней стороны пластилином.

Детали разделительного фильтра размещены на плате из гетинаксе размерами 250 х 150 мм, установленной на боковой стенке корпуса в его нижнем углу, напротив туннеля фазоинвертора. Во избежание дребезжания между платой и корпусом необходимо проложить звукопоглощающую прокладку. В фильтре использованы неполярные конденсаторы МБМ. МБГО на напряжение 200 В и проволочные резисторы мощностью 2 (R3) и не менее 7,5 Вт (остальные). Конденсатор С1 составлен из шести включенных параллельно конденсаторов по 10 мк. Катушки L1—L3 бескаркасные. Внутренний диаметр и высота первой из них — 40 мм, двух других соответственно 25 и 30 мм. Катушка L1 содержит 260 витков провода ПЭЛ 1,5, L2—170 и L3—90 витков провода ПЭВ 1,0. Внутренняя поверхность корпуса оклеена звукопоглощающим материалом (ватином, поролоном) толщиной 10...15 мм. Сам корпус заполнен ватой, но так, что между НЧ головкой и фазоинвертором оставлен воздушный проход. Все соединения стенок корпуса герметизированы эпоксидным клеем.

Звучание описанного громкоговорителя сравнивалось со звучанием известной промышленной модели 35АС-012 (S-90). При испытаниях использовался стереофонический усилитель ЗЧ с номинальной мощностью 2 х 25 Вт и коэффициентом гармоник не более 0,2 %. Было отмечено более мягкое звучание самодельного громкоговорителя в области низших и средних звуковых частот, а также отсутствие в нем неприятных призвуков, создаваемых установленной в 35АС-012 головкой 10ГД-35 в диапазоне 5...10 кГц.

г. Горький Ю ДЛИ

P.S. Замена головки 6ГД-2. Вместо 6ГД-2 можно применить динамическую головку 75ГДН-1Л-4 (прежнее обозначение 30ГД-2) или 35ГДН-4 (25ГД-26Б). У этих головок более чем вдвое меньшее стандартное звуковое давление (соответственно 0,15 и 0,12 Па) по сравнению с 6ГД-2 (0,35 Па), однако их значительно большая номинальная мощность компенсирует этот недостаток. Паспортная мощность громкоговорителя после такой замены возрастет в первом случае до 50, во втором — до 40 Вт, номинальное электрическое сопротивление понизится до 4 Ом. Емкость конденсатора С1 при использовании головки 75ГДН-1Л-4 — 80 мкФ. ПАС в обоих случаях не требуется. Первый вариант замены предпочтительнее, так как головка 75ГДН-1 Л-4 имеет те же размеры, что и 6ГД-2, и больший, чем у 35ГДН-4, КПД, особенно на частотах ниже 100 Гц.

Радио № 3, 9, 1989 г.

Назад