Эквалайзер, как известно, предназначен для регулировки АЧХ звуковоспроизводящей аппаратуры. Он состоит из нескольких регуляторов, с помощью которых можно изменять коэффициент передачи усилительного устройства в достаточно узких полосах частот. Это позволяет получить сложную форму АЧХ, которую невозможно реализовать традиционными регуляторами тембра. В результате у слушателя появляется возможность существенно изменять характер воспроизводимой звуковой картины и таким образом компенсировать частотные искажения, вносимые источниками звуковых программ, акустическими системами и помещениями прослушивания. Эквалайзеры обычно строят на базе активных полосовых фильтров на ОУ, причем чем больше фильтров, тем сильнее можно изменять АЧХ. Однако существенное увеличение их числа сильно усложняет управление эквалайзером, поэтому количество фильтров обычно ограничивают 8-10.
Ниже приводится описание восьмиполосного эквалайзера. Диапазон его рабочих частот 20...20 000 Гц; коэффициент передачи — 3...4; частоты настройки каждого из восьми фильтров указаны в таблице; добротность (отношение частоты настройки к полосе пропускания) фильтра — 1,12; диапазон регулировки коэффициента передачи — +12,5 дБ.

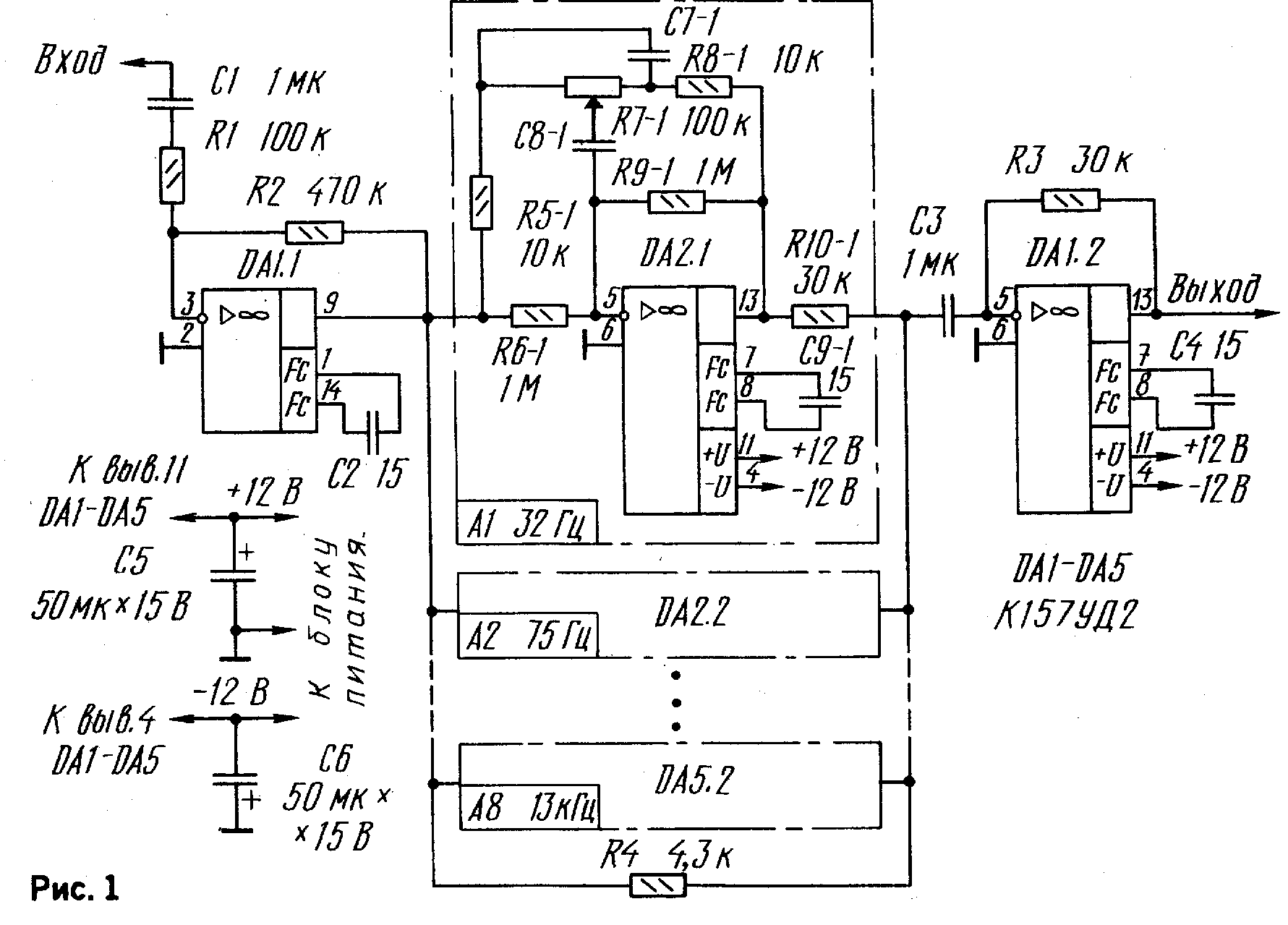
Принципиальная схема эквалайзера приведена на рис. 1. Он состоит из восьми параллельно включенных активных фильтров на сдвоенных ОУ DA2-DA5. На ОУ DA1 собран входной и выходной буферные усилители. Параллельно фильтрам включен резистор R4. Поскольку все фильтры инвертирующие, а через резистор R4 сигналы проходят без инверсии, то в выходном усилителе сигналы вычитаются Благодаря этому выравнивается АЧХ на краях полосы пропускания фильтров и получается требуемый диапазон регулировки коэффициента передачи в каждой полосе. Схемы фильтров одинаковы, а частоты их настройки определяются емкостями конденсаторов С7-1 - С7-8 и С8-1 - С8-8, значения которых указаны в таблице. Перемещением движков резисторов R7-1 - R7-8 можно изменять коэффициент передачи соответствующих фильтров, а следовательно, и АЧХ в полосе этих фильтров. В крайнем левом положении (по схеме) движка этих резисторов коэффициент передачи на частоте настройки фильтров максимален (+12,5 дБ), а в крайнем правом — минимален (-12,5 дБ).

Все детали эквалайзера, кроме переменных резисторов, размещены на печатной плате из фольгированного текстолита, эскиз которой показан на рис. 2. В эквалайзере можно использовать постоянные резисторы ВС и МЛТ, конденсаторы К50-6 (С5,С6) и КЛС, КМ, МБМ (остальные), причем для фильтров следует отобрать конденсаторы с небольшим ТКЕ. Конденсаторы С7 и С8 составлены из двух-трех, включенных параллельно. Функциональные характеристики переменных резисторов должны быть линейными (группа А), они могут быть как движковые, с линейным перемещением, так и осевые. При использовании движковых резисторов (СПЗ-23А) можно сделать графический эквалайзер. Положение движков этих резисторов будет наглядно отражать АЧХ эквалайзера (рис.3). При применении осевых резисторов СП, СПО и т. д. качество устройства нисколько не ухудшится, но снизится наглядность регулировки АЧХ. Какого-либо специального налаживания эквалайзер не требует, необходимо только заранее подобрать емкости конденсаторов фильтра с точностью не хуже 5...1096. Для питания эквалайзера необходим двух-полярный стабилизированный блок питания напряжением 12...15 В и током до 50 мА.
| Частота настройки фильтра, Гц | Емкость конденсаторов, пФ | |
| С7-1-С7-8 | С8-1-С8-8 | |
| 32 | 170 000 | 17000 |
| 75 | 73500 | 7350 |
| 180 | 30000 | 3000 |
| 425 | 13000 | 1300 |
| 1000 | 5000 | 550 |
| 2370 | 2300 | 230 |
| 5620 | 980 | 98 |
| 13 300 | 415 | 41 |

Для стереофонического комплекса потребуется изготовить два описанных эквалайзера и установить в них сдвоенные переменные резисторы.
И. НЕЧАЕВ, г. Курск
Литература:
1. Шкритек П. Справочное руководство по звуковой схемотехнике. — М.: Мир, 1991, с 154
2. Касметлиев В. Многополосные регуляторы тембра на ОУ. - Радио, 1980, Мв 10, с. 27.
РАДИО № 1,1993 г.