До настоящего времени самыми несовершенными элементами звуковоспроизводящего тракта остаются акустические системы (АС) и головные телефоны Однако, если потенциальные возможности обеспечения высокого качества звучания даже у очень хороших АС ограничены условиями прослушивания (акустическими свойствами жилых помещений, создающих нежелательные ре-верберационные эффекты и искажающих АЧХ), то телефоны имеют практически неограниченные возможности реализации высокой верности воспроизведения звуковых программ. При этом оказываются вполне достижимыми такие жесткие критерии качества, как неравномерность АЧХ, не превышающая 3 дБ в воспроизводимом диапазоне частот 20 . 20 000 Гц, уровень нелинейных искажений менее 0,1 %. К достоинствам телефонов следует отнести и удобство их эксплуатации, позволяющее избежать дискомфорта для всей семьи при прослушивании фонограмм одним из ее членов.
И все-таки широкому использованию телефонов мешает ряд неприятных обстоятельств. В большинстве случаев при пользовании телефонами для прослушивания фонограмм весьма редко удается получить АЧХ, соответствующую измеренной в лабораторных условиях и указываемую в инструкциях по их эксплуатации. В области низших звуковых частот это вызвано невозможностью обеспечить необходимую степень герметизации замкнутою звукового объема, образующегося между ухом слушателя и амбушюром телефона А это приводит к спаду АЧХ на низших звуковых частотах, даже если АЧХ телефонов, измеренная в лабораторных условиях, была достаточно равномерной. Особенно сильно указанный недостаток проявляется в телефонах динамического типа, так как малая гибкость подвеса излучателя требует высокой степени герметизации звукового объема для равномерного воспроизведения низших частот В области высших звуковых частот АЧХ телефонов, реализующаяся при прослушивании, сильно зависит от положения уха слушателя в замкнутом звуковом объеме, о котором говорилось выше. Эта зависимость обусловлена наличием отражений звуковых волн в данном объеме. Все сказанное указывает на то, что показатель качества телефонов должен включать равномерность не лабораторной, а реализуемой слушателем АЧХ и ее независимость от положения ушной раковины. Только при таком условии обеспечивается высокая верность воспроизведения звука телефонами. Однако даже лучшие образцы отечественных, да и зарубежных телефонов не удовлетворяют этим требованиям. Телефоны, использующие электромеханические преобразователи динамического типа, такие, как ТДС-1, ТДС-8, ТДС-3 и др., имеют высокую неравномерность измеренной в лаборатории АЧХ (15...20 дБ). Реализуемая же слушателями АЧХ имеет спад в области низших частот из-за недостаточной степени герметизации звукового объема и большой жесткости подвеса подвижной системы преобразователя. Чтобы обеспечить герметичность, поверхность заглушки должна плотно прилегать к поверхности головы. А большое прижимное усилие приводит к определенному дискомфорту, различным неприятным ощущениям, вплоть до болевых. При меньшей прижимной силе требуемую герметичность можно обеспечить, используя более мягкие заглушки. Однако слишком мягкая заглушка не дает желаемого результата из-за деформации материала, из которого она выполнена, что приводит к спаду АЧХ в области низших звуковых частот даже при идеальной герметизации.
Существенно лучшие характеристики имеют телефоны изодинамического типа (ТДС-5, ТДС-7), в которых в качестве излучателя используется гибкая мембрана с нанесенной на нее плоской звуковой катушкой. В таких телефонах гибкость мембраны существенно выше гибкости подвеса подвижной системы в телефонах динамического типа, что позволяет без особого труда реализовать равномерную АЧХ в области низших звуковых частот, используя мягкие заглушки и не прикладывая при этом большого прижимного усилия. Однако изодинамические телефоны имеют свои специфические недостатки. В частности, из-за неравномерности индукции магнитного поля в плоскости мембраны могут возникать резонансные явления. При неосторожном надевании телефонов мембрана может необратимо деформироваться, что создает заметные призвуки. Эти эффекты тем ярче выражены, чем мягче мембрана. Кроме того, неравномерное магнитное поле может привести к спаду АЧХ в области низших частот, что было обнаружено в телефонах ТДС-7.
Другой недостаток изодинамических телефонов — низкая отдача в области высших звуковых частот. Это объясняется тем, что магнитное поле, равномерно распределенное по поверхности мембраны при использовании магнитов массой 100...200 г, создает гораздо меньшую напряженность,» чем в зазоре традиционной магнитной системы. И, наконец, из-за достаточно большой толщины мембраны изодинамические телефоны имеют АЧХ со спадом в области высших звуковых частот 10... 15 дБ. Попытка электрической коррекции этого спада ухудшает отдачу телефонов во всем частотном диапазоне, делая ее намного меньше отдачи динамических телефонов.
Предлагаемые
вниманию читателей головные телефоны (см.
заставку) обладают рядом преимуществ.
Отличительная их особенность — применение так
называемого свободного излучателя. Понятие
«свободный» означает, что излучатель не имеет
сплошного герметизирующего подвеса по
периметру. Это дает возможность снизить частоту
основного механического резонанса до 20 Гц при
малой массе подвижной системы. Излучатель
расположен с узким зазором по периметру в
цилиндрическом отверстии диафрагмы. Как
показала практика, сопротивление зазора шириной
1 мм при диаметре излучателя 20 мм оказалось
достаточным для создания звукового давления
порядка 1 Па на частоте 20 Гц при подведении
электрической мощности порядка 1 мВт. При этом
амплитуда колебаний излучателя на этой частоте
не превысила 1 мм.
Низкая резонансная частота подвижной системы, позволила получить равномерную АЧХ телефонов в области низших звуковых частот вплоть до 20 Гц практически при любой степени герметизации звукового объема (от степени герметизации зависит лишь уровень звукового давления в этом диапазоне частот, ограниченный сопротивлением вышеуказанного зазора). Это обстоятельство позволило использовать заглушку, выполненную из обыкновенного поролона, без герметизирующей оболочки. Такой материал, как поролон, хорошо поглощает акустические волны, что благоприятно сказывается на качестве воспроизведения высших звуковых частот, поскольку при этом исключается переотражение акустических волн в звуковом объеме. Малые акустические сопротивления зазора между излучателем, диафрагмой и заглушкой способствуют устранению резонансов на средних частотах. Отсутствие же необходимости герметизации позволяет избежать большого прижимного усилия, что исключает дискомфорт при прослушивании передач. Следует также отметить, что в описываемых телефонах отсутствует основной источник нелинейных искажений — сплошной подвес по периметру излучателя, что позволило получить более низкий коэффициент нелинейных искажении. Для достижения высокой эффективности телефонов (она ограничена их отдачей на верхней граничной частоте) необходимо, чтобы масса подвижной системы была минимальной, причем масса провода звуковой катушки должна равняться половине массы всей подвижной системы. При использовании излучателя, выполненного из алюминиевой фольги толщиной 10 мкм, масса подвижной системы составляет не более 40 мг, что обеспечивает отдачу на частоте 20 000 Гц не менее 1 Па/мВт. Кроме того, катушка малой массы занимает относительно мало места в рабочем зазоре магнитной системы, что значительно облегчает центрирование звуковой катушки в этом зазоре.
Недостатком приведенной конструкции является ограниченный динамический диапазон на нижней граничной частоте. Однако и его можно существенно увеличить, уменьшая ширину зазора между излучателем и диафрагмой (тем самым увеличивая его акустическое сопротивление) и повышая акустическое сопротивление заглушки или увеличивая площадь излучателя. Однако все это приведет к подъему АЧХ на низших звуковых частотах, для компенсации которого потребуется электрическая коррекция первого порядка.
Основные технические характеристики телефонов
Диапазон воспроизводимых частот, Гц ............................................................................20...35 000
Звуковое давление на частоте 500 Гц при подведении мощности 2 мВт, Па........................1
Неравномерность АЧХ по звуковому давлению, дБ, я диапазонах частот, Гц:
20...20000...................................................... ±3
20...35000...................................................... ±8
Электрическое сопротивление, Ом ...........................................................................................13
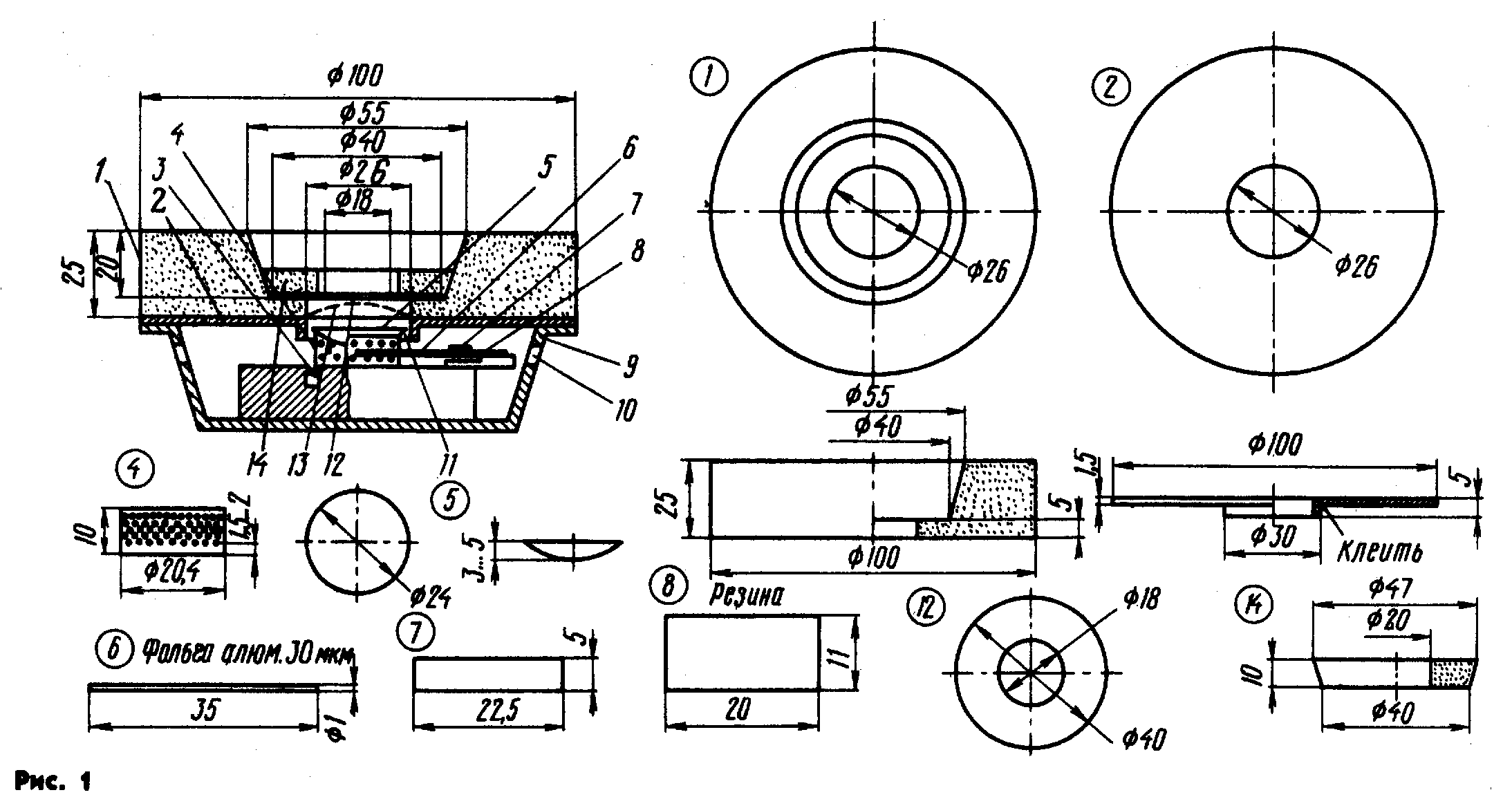
Сборочный чертеж и деталировка телефонов показаны на рис. 1. В данной конкретной конструкции была использована магнитная система от динамической головки 3 ГД-1 с диаметром керна 20 мм. Выбор магнитной системы не является принципиальным, однако следует иметь в виду, что если внутри магнитной системы имеется полость, образующая вместе с магнитным зазором резонатор Гельмгольца, то ее нужно заполнить любым плотным материалом (например пластилином), оставив минимальное пространство в области зазора для свободного перемещения звуковой катушки. Можно также просто отделить магнитный зазор от этой полости непроницаемой перегородкой.
При изготовлении телефонов особое внимание следует уделить механической части преобразователя. Подвижная система состоит из излучателя 5, каркаса 4 и звуковой катушки 3. При изготовлении подвижной системы рекомендуется использовать цилиндр диаметром 20 мм (равен диаметру керна магнитной системы) и достаточной длины. На этом цилиндре и собирают подвижную систему. Поскольку диаметр цилиндра равен диаметру керна, цилиндр необходимо обмотать дополнительным слоем бумаги (или несколькими слоями в зависимости от ее толщины). Дополнительная толщина должна быть такой, чтобы звуковая катушка попала в середину магнитного зазора. Сначала из плотной бумаги толщиной 30...50 мкм на цилиндре склеивают каркас 4. В бумаге нужно предварительно просверлить приблизительно 120 отверстий диаметром 0,5...0,7 мм. Отверстия в каркасе необходимы для того, чтобы под излучателем не возник резонатор и создались необходимые условия для демпфирования на частоте основного механического резонанса. Подготовленную таким образом полоску бумаги наматывают в один слой на цилиндр и склеивают внахлест (ширина склейки 2 мм). При этом следует слегка прокручивать каркас в процессе высыхания, чтобы он случайно не приклеился к поверхности цилиндра. На высохший каркас в один или два слоя виток к витку наматывают звуковую катушку 3. Ее обмотка содержит 20 витков провода ПЭЛ 0,05. Лишнюю часть каркаса (ниже катушки) отсекают лезвием как можно ближе к катушке. Затем каркас аккуратно перемещают к торцу цилиндра так, чтобы верхняя кромка каркаса выдвинулась за пределы цилиндра ровно на столько, сколько необходимо для приклеивания к ней излучателя. Излучатель приклеивают выпуклостью к магнитной системе. Такая конструкция позволяет увеличить отдачу в области высших звуковых частот. После приклеивания излучателя собранную подвижную систему желательно в течение суток не снимать с цилиндра. Затем ее можно аккуратно снять, стараясь случайно не деформировать. Излучатель 5 изготавливают из алюминиевой фольги толщиной 10 мкм. Для этого из нее вырезают круг диаметром 24 мм, кладут его на плотную бумагу, лежащую на ровной твердой поверхности, и накатывают с помощью гладкого стального шара диаметром 15...20 мм. Накатка производится до тех пор, пока углубление не составит 3...5 мм и излучатель не приобретет сферическую форму. Подвижную систему фиксируют в пространстве с помощью специального гибкого подвеса, состоящего из двух держателей 6, соединенных жесткой перемычкой 7, связанной с гибкой пластиной 8, которая приклеена к магнитной системе. Держатели 6 имеют форму трубок диаметром 1 и длиной 35 мм, которые изготовлены из алюминиевой фольги толщиной 30 мкм. Они расположены параллельно друг другу и перпендикулярно оси подвижной системы. С одного конца они жестко приклеены к каркасу 4 в диаметрально противоположных его точках (рис. 2), а с другого конца — к жесткой перемычке 7, предварительно ,приклеенной к гибкой пластине 8. Перемычку можно изготовить из плотной бумаги толщиной 0,1,...0,2 мм. Гибкая пластина 8 изготовлена из резины толщиной 0,5...0,7 мм. После окончательной сборки механической части пластину 8 закрепляют на магнитной системе таким образом, чтобы в нейтральном положении звуковая катушка попала точно в магнитный зазор, а держатели были параллельны плоскости магнитной системы. При этом можно использовать любую удобную подставку. Ширина рабочей части гибкой пластины составляет 1 мм. В общем случае параметры гибкой пластины должны быть такими, чтобы центр подвижной системы смещался под действием собственного веса приблизительно на 0,5 мм. В этом случае резонансная частота механической системы будет составлять 20 Гц.
Описанная
конструкция подвеса дает подвижной системе
единственную степень свободы, что обеспечивает
высокую надежность центрирования звуковой
катушки в магнитном зазоре практически при любой
гибкости подвеса в целом. Боковое смещение
катушки, вызванное вращением подвижной системы
вокруг некоторой фиксированной оси, не превышает
0,1 мм и не приводит к задеванию катушкой
магнитной системы. Несмотря на свою
непривлекательность, такая конструкция подвеса
наиболее проста в изготовлении. Выводы звуковой
катушки 3 желательно пропустить по держателям,
аккуратно приклеив их к ним по всей длине, и
закрепить на магнитной системе в любом удобном
месте. При изготовлении подвижных частей
телефонов рекомендуется использовать клей БФ-2, а
резиновую пластину следует приклеить клеем 88. В
остальных случаях можно пользоваться любым
клеем, обеспечивающим требуемую прочность
соединения деталей. Собранный таким образом
электромеханический преобразователь
закрепляется в корпусе 9 так, чтобы край
излучателя точно попадал (в нейтральном
положении) в плоскость диафрагмы посередине
цилиндрического отверстия в ней, как показано на
рис. 1. В данной конструкции был использован
корпус от телефонов ТДС-8 (можно и от ТДС-1 или
любой другой подходящий корпус). Вдоль верхней
кромки корпуса просверливают отверстия 10
диаметром 5 мм с интервалом между центрами
отверстий примерно 1 см. Диафрагму 2 прикрепляют к
корпусу 8 таким образом, чтобы зазор 11 имел
одинаковую ширину по всей длине зазора.
Зафиксировать диафрагму можно с помощью
трех-четырех винтов или любым другим способом.
Затем к диафрагме 2 приклеивают или пришивают
нитками поролоновую заглушку 1. Выходное
отверстие телефонов следует закрыть защитной
сеткой 13. Закрывать выходное отверстие тканью не
рекомендуется из-за появления нелинейных
искажений в области низших звуковых частот. К
донной части заглушки 1 приклеивают резиновое
кольцо 12 и для улучшения АЧХ в области высших
частот вставляют поролоновый вкладыш 14.
Свободные места в корпусе 9 желательно заполнить
звукопоглощающим материалом таким образом,
чтобы канал между отверстиями 10 в корпусе 9 и
задней частью излучателя (через отверстия в
каркасе 4) оставался свободным.

АЧХ описанных телефонов приведена на рис. 3 (сплошная кривая). Для сравнения здесь же приводится АЧХ одного из лучших образцов отечественных промышленных телефонов ТДС-7 (штриховая кривая). Общая неравномерность АЧХ предлагаемой конструкции не превышает 6 дБ. Она имеет плавную форму в отличие от АЧХ телефонов ТДС-7, которая имеет спад в области низших частот 6...8 дБ и спад в области высших частот 15 дБ. Общая неравномерность АЧХ ТДС-7 составляет 15 дБ.
Следует
заметить, что АЧХ описанных телефонов,
измеренная в лабораторных условиях, достаточно
хорошо совпадает с АЧХ, воспринимаемой на слух,
что нельзя сказать о промышленных конструкциях.
К усилителю мощности телефоны рекомендуется
подключать через делитель, изображенный на рис. 4.
Конструкция телефонов прошла государственную
патентную экспертизу и признана изобретением
(авторское свидетельство 1619424).
Александр и Владимир , ЗИМИНЫ, г. Химки, г. Подольск Московской обл.
РАДИО № 6, 1991 г.