Самый простой индикатор стереобаланса — со стрелочным прибором, у которого «0» расположен посредине шкалы, выполнен по мостовой схеме сравнения (рис. 1). Балансируют мост подстроенными резисторами R2, R3.

Рис. 1. Мостовая схема индикатора стереобаланса.
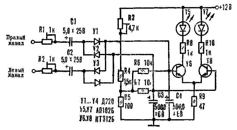
По дифференциальной схеме выполнен индикатор стереобаланса на транзисторах V6, V8 (рис. 2), в коллекторные цепи которых включены светодио-ды V5. V7. Электрические колебания зяуковой частоты поступают с правого и левого каналов усилителя мощности на соответствующие выпрямители VI, V2 и V3, V4 и заряжают конденсаторы СЗ, С4 до средних значений напряжений суммарных сигналов: отпирающего правого и запирающего левого на С4 и отпирающего левого и запирающего правого на СЗ. Когда уровни сигналов правого и левого каналов равны, они взаимно компенсируются и светодиоды не светятся. Если же это условие нарушается, возрастает коллекторный ток соответствующего транзистора дифференциального каскада и загорается светодиод: V5 — правый или V7 — левый канал.

Рис. 2. Принципиальная схема светодиодного индикатора стереобаланса с дифференциальным каскадом управления.
Переменными резисторами R1, R2 регулируют чувствительность индикатора стереобаланса, а с помощью R3 устанавливают слабое свечение светодио-дов V5, V7 при отсутствии сигнала. Делитель R3 — R5 создает начальное смещение на базах транзисторов V6, V8.
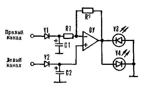
На операционных усилителях (ОУ) можно создавать индикаторы стереобаланса, структурная схема которых изображена на рисунке 3.

Рис. 3. Структурная схема индикатора стереобаланса на операционном усилителе.
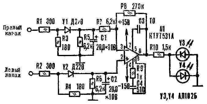
Электрические колебания с правого и левого каналов стереоусилителя поступают на выпрямители VI и V2 и заряжают конденсаторы С1 и С2 до напряжений, равных средним уровням соответствующих сигналов. Эти напряжения приложены к инвертирующему и неинвертирующему входам ОУ. При равенстве сигналов с усилителей мощности выходной ток ОУ приближенно равен нулю и светодиоды V3, V4, включенные встречно-параллельно, не светятся (условие стереобаланса). В случае дисбаланса напряжения на входах ОУ будут разными и его выходной ток вызовет свечение светодиода того канала, где уровень сигнала больше. Порог срабатывания индикатора стереобаланса, то есть минимальная разность уровней выходных напряжений каналов стереоусилителя, определяется отношением сопротивлений резисторов R1, R2. Операционный усилитель можно выполнить м на дискретных элементах, и на интегральных микросхемах. Примером индикатора стереобаланса на ИМС служит схема, изображенная на рисунке 4. Порог срабатывания устройства — около 200 мВ.

Рис. 4. Принципиальная схема индикатора
стереобаланса на ИМС.
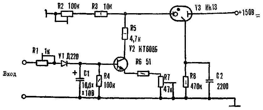
В последнее время в радиолюбительской практике находят применение линейные газоразрядные индикаторы ИН13. Легкость и удобство визуального сравнения длин светящихся полос нескольких ИН13, размещенных рядом, позволяют контролировать уровень сигнала в нескольких каналах и служить индикатором баланса в стерео- и квадрофонической аппаратуре. Вариант схемы такого индикатора представлен на рисунке 5. Транзистор V2 выполняет функцию регулируемого резистора. При варьировании напряжения на базе V2 изменяется его сопротивление, а также ток катода V3 и, следовательно, длина светящегося участка.

Рис. 5. Принципиальная схема индикатора уровня выходного сигнала на газоразрядном элементе ИН13.
На нулевую отметку индикатор устанавливают подстроенным резистором R2 (отмечена на корпусе прибора красной чертой], а чувствительность регулируют с помощью R1. Зависимость длины светящейся полосы от напряжения входного сигнала и ее крутизну задают «подстроечником» R7, включенным в цепь эмиттера транзистора V2. Время обратного хода светящегося участка определяет резистор R4. Для индикатора стереобаланса потребуется собрать два таких устройства, установив обе лампы рядом.
Детали: Диод Д220 во всех схемах можно заменить на полупроводниковый прибор серии Д9 или Д219; транзистор КТ312Б — на КТ312В, КТ315Б, КТ315Г, КТ315Е; КТ608Б — на КТ608Д, КТ605А, КТ605Б, П307 — П309; светодиод ДЛ102Б — на аналогичный элемент марки ДЛ102В. АЛ102Г. Транзисторы V6, V8 (рис. 2) нужно подобрать с коэффициентами передачи по току h21э, отличающимися не более чем на 15%. Постоянные резисторы — МЛТ-0,125, подстроечные — СПО-0,15, СП3-1, СП3-6 или другие. Конденсаторы — КЛС, электролитические К50-6. Собранный индикатор стереобаланса подключают к выходу стереофонического усилителя. Если же входящие в него элементы исправны и монтаж выполнен правильно, устройство сразу начинает работать.
Е. ПЕТРОВ, г. Сосновый Бор, Ленинградская обл., «М-К» № 8, 1984 г.