Измерители уровня сигналов звуковой частоты на основе стрелочных приборов наиболее просты и относительно недороги, благодаря чему и получили широкое распространение в аппаратуре магнитной записи второй-третьей групп сложности. Однако, как известно, по стрелочному прибору можно оценить лишь средний уровень сигнала, поэтому даже в моделях этих групп все чаще используют светодиодные или люминесцентные шкалы, способные, благодаря своей безынерционности, индицировать квазипиковые уровни сигналов звуковой частоты.
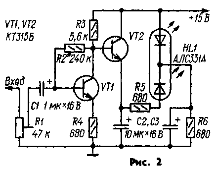
Интересное устройство, в некотором смысле сочетающее в себе достоинства измерителей обоих типов, можно собрать всего на одном двухцветном светодиоде АЛС331А, по которому при определенном навыке можно контролировать и квазипиковые, и промежуточные уровни сигнала в диапазоне 12 дБ, Уровню —3 дБ и менее соответствует зеленый цвет свечения индикатора, 0 дБ — желтый, +3 дБ — оранжевый, +6 дБ — красный.

Принципиальная схема индикатора приведена на рис. 2. При отсутствии входного сигнала транзистор VT2 почти закрыт, ток через нижний (по схеме) переход светодиода не превышает нескольких десятых долей миллиампера, поэтому излучает только верхний переход. По мере увеличения входного сигнала ток между светодиодами перераспределяется таким образом, что цвет излучения изменяется от зеленого до красного. Конденсаторы С2 и СЗ служат для увеличения времени индикации регистрируемого уровня.
Налаживание индикатора несложно: сначала при отключенном источнике сигнала подбором резистора R2 устанавливают ток через нижний излучающий переход светодиода, равный 0,5 мА, а затем, подав на вход сигнал номинального уровня, подстроечным резистором R1 добиваются желтого свечения светодиода.
А. ЗАРЯЕВ
Радио № 1, 1988 г.