Компенсатор переходных помех.

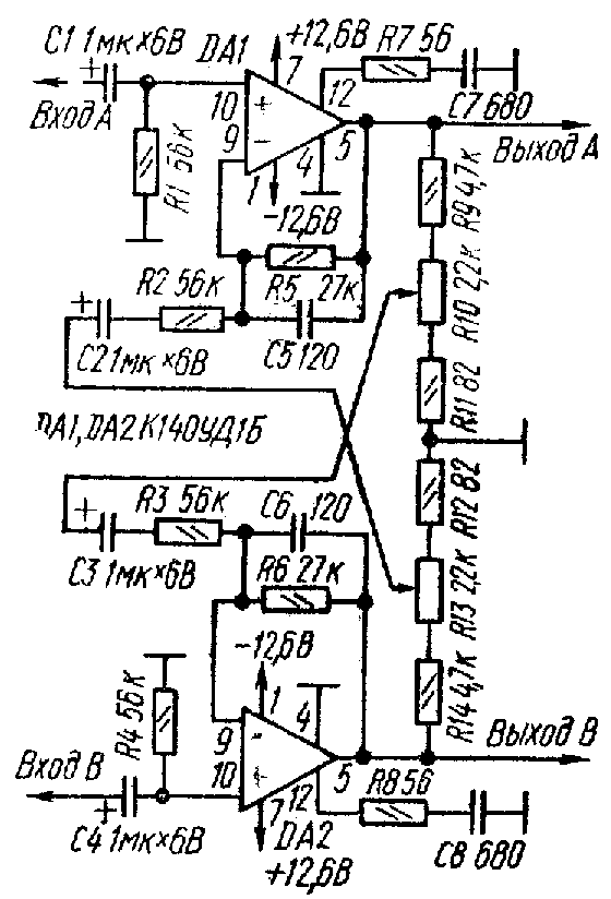
Для улучшения переходного затухания между каналами стереофонического УЗЧ можно применить компенсатор переходных помех, который включают в тракт УЗЧ. Схема компенсатора приведена на рис. VI. 67. Сигналы каналов А и В подаются на неинвертирующие входы ОУ А1 и А2, нагруженных делителями напряжения К9...К1/ и #12...КМ. Часть выходного напряжения канала А с выхода делителя подается на инвертирующий вход ОУ А2 и вычитается из паразитного сигнала А. содержащегося на входе канала В. Аналогично уменьшается уровень сигнала В в канале А. Коэффициент передачи напряжения в каждом канале компенсатора равен 1, 5, входное напряжение каждого канала не бочее 3 В, входное сопротивление 56 кОм, выходное сопротивление 400 Ом.Компенсатор регулируют с конкретным источником сигнала (звукоснимателем, магнитной головкой и т. п.) по сигналу измерительной или демонстрационной ленты (пластинки) Во время звучания канала А отключают АС этого канала и с помощью резистора К.10 добиваются минимальной громкости в канале В. Аналогично регулируют второй канал.

Источник: "Полупроводниковые приемно-усилительные устройства", Р.М.Терещук, К.М.Терещук, С.А.Седов.

 

Назад