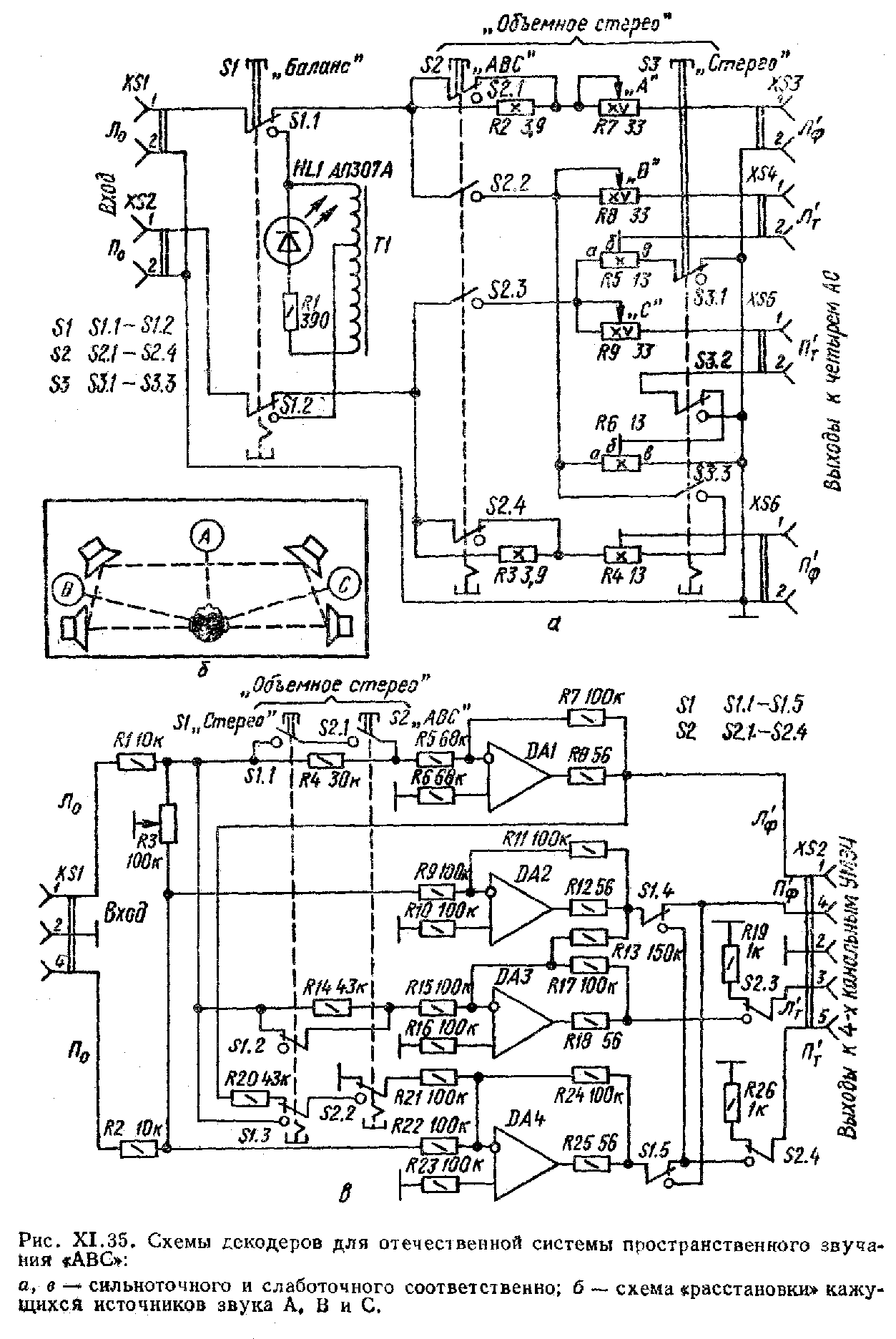
Декодер для отечественной системы пространственного звучания «АВС»

Декодер, реализуемый по методу панорамного кодирования [3], может быть выполнен в двух вариантах: как сильноточный узел, включаемый между выходом стереофонического УМЗЧ и АС (простой способ), или как слаботочный узел, включаемый на входе УМЗЧ, который в этом случае должен быть четырехканальным (сложный способ).

Основные технические характеристики сильноточного декодера системы «ABC» (рис. XI.35,а): номинальный диапазон воспроизводимых частот 5...18 000 Гц; неравномерность АЧХ 2 дБ; входное сопротивление 4 ± 1 Ом при сопротивлении нагрузки 4 Ом и 8 ± 2 Ом при сопротивлении нагрузки 8 Ом; максимальный уровень входного сигнала 15,5 В. Сигналы левого (Л0) и правого (П0) каналов с выхода стереофонического УМЗЧ подаются на соответствующие разъемы XS1 и XS2. На входе декодирующего устройства имеется индикатор баланса уровня входных сигналов, включаемый при балансировке сквозных каналов УЗЧ в монофоническом режиме. Индикатор выполнен на светодиоде HL1 и повышающем автотрансформаторе Т1. Режим работы декодера выбирают кнопками S1—S3. Предусмотрено три рабочих режима: «Стерео» (нажата кнопка S3, работают только передние AC), «ABC» (нажата кнопка S2, работают все четыре АС) и «Объемное стерео» — «ОС» (нажаты кнопки S2, S3, работают также четыре АС). Вычитание сигналов для тыловых АС в режиме «ABC» происходит на резисторах R5 и R6, при этом коэффициенты передачи делителей, образованных сопротивлениями между движками и выводами этих резисторов, равны отношениям Rбв/Rав=0,7. Благодаря полной совместимости системы «ABC» с обычной стереофонической системой описываемое устройство может быть использовано для прослушивания с получением иллюзии пространственного эффекта. Для этого включают декодер в режим «АВС» или «ОС»; балансировку источников А, В и С в режиме «ОС» производят по желанию. Вычитание сигналов в режиме «ОС» происходит так же, как в режиме «ABC», но при отношении Rбв/Rав = 1. В сильноточном декодере применены резисторы типа МЛТ (R1), ПЭВ-10 (R2, R3), ПЭВР-10 (R4—R6) и ППБ-15Г (R7—R9). Отклонение сопротивлений резисторов R2—R9 от номиналов не должно превышать ±10%. Переключатели S1—S3 — типа П2К с зависимой фиксацией кнопок, разъемы XS1—XS6—РВНЧ-2-Г1. Автотрансформатор Т1 изготовлен намоткой провода ПЭВ-1 0,15 на ленточный, магнитопровод ОЛб,5 из пермаллоя 79НМ. Обмотка содержит 800 витков (с отводом от 100-го).

Налаживание сильноточного декодера проводят в режиме «ABC» (нажата кнопка S2) при подключенных к его выходам эквивалентных нагрузках, сопротивления которых равны номинальным входным сопротивлениям АС на частоте 1000 Гц. Для этого удобно использовать резисторы ПЭВ-25 или ПЭВР-25. Соединив декодер с выходом стереофонического УМЗЧ, включенного в режим «Моно», и подав на входы усилителя напряжение частотой 1000 Гц, измеряют сигналы напряжением Л0 и П0 на входе декодера и, если они отличаются более чем на 10%, балансируют каналы регулятором стереобаланса. (В процессе эксплуатации для этого пользуются светодиодным индикатором декодера при ненажатых кнопках S2, S3). Движок резистора R4 устанавливают в среднее положение и резистором R7 добиваются равенства сигналов на разъемах XS3 и XS6, соответствующих левому и правому фронтальным каналам (баланс «А»). Переключают УМЗЧ в режим «Стерео» и убирают сигнал со входа правого канала, движком подстроенного резистора R8 устанавливают равными напряжения на разъемах XS4 и XS3 при среднем положении движка резистора R5 (баланс «В»). После этого сигнал со входа левого канала переключают на вход правого, устанавливают движок резистора R6 в среднее положение и движком переменного резистора R9 добиваются равенства сигналов на разъемах XS5 и XS6 (баланс «С»). Не убирая сигнала со входа правого канала, подстроечным резистором R5 добиваются того, чтобы сигнал на разъеме XS4 стал равен 0,7 сигнала на разъеме XS6 и, снова подав испытательный сигнал на вход левого канала, подстрочным резистором R6 устанавливают такое же соотношение между сигналами на разъемах XS5 и XS3: UXS5 = 0,7UXS3. B ходе этих регулировок становятся сбалансированными в заданных соотношениях сигналы, поступающие на левый и правый фронтальные и левый и правый тыловые громкоговорители (АС). При подготовке декодера к работе переменными резистордми R7, R8 и R9 проводят «расстановку» КИЗ A, B и C (рис. XI.35,б) в серединах соответствующих баз, прослушивая специальные испытательные сигналы А, В и С. При воспроизведении обычных стереозаписей пространственную панораму по вкусу слушателя создают регуляторами R7—R9. Для получения наилучшего качества звучания все четыре АС должны быть одинаковыми, при отсутствии такой возможности в качестве фронтальных устанавливают более качественные АС.

Основные технические характеристики слаботочного декодера (рис. XI.35,в): номинальный диапазон частот 5...30 000 Гц; неравномерность АЧХ - 0,5 дБ; коэффициент гармоник не более 0,2 %; отношение сигнал/шум - 65 дБ; номинальный уровень входного сигнала - 250 мВ, максимальный - 3,1 В. На входе устройства установлен балансирующий делитель, составленный из резисторов Rl—R3. Выравненные им по уровню в монорежиме входные сигналы напряжением Л0 и П0 через соответствующие контактные группы переключателей S1 и S2 подаются на масштабные резисторы R4, R5, R7, R9, R11, R13—R15, R17, R20—R22 и R24, подобранные с точностью 1 %. Они , образуют прецизионные делители напряжения на инвертирующих входах ОУ DA1—DA4, Применение ОУ обусловлено необходимостью получения точных суммирующих и вычитающих устройств с низким выходным сопротивлением и малыми нелинейными искажениями. Режим работы декодера выбирают кнопками S1 («Стерео») и S2 («ABC»), При нажатии обеих кнопок одновременно устройство переходит в режим «ОС». Резисторы R8, R12, R18 и R25 защищают ОУ от перегрузок по току. При конструировании слаботочного варианта декодера использованы резисторы СПЗ-4 (R3) и МЛТ (все остальные). Переключатели S1, S2 режимов работы — типа П2К с зависимой фиксацией кнопок, разъемы XS1 и XS2 — типа СГ-5. В качестве активных элементов могут быть использованы любые ОУ с соответствующими цепями коррекции и напряжения питания. Устройство не требует налаживания. Перед прослушиванием необходимо сбалансировать каналы четырехканального УМЗЧ.

Назад