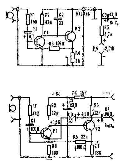
Для эстрадных оркестров, школьных радиоузлов или переговорных устройств часто нужен предварительный усилитель к низкоомному микрофону или используемой в той же роли динамической головке. Схемы двух вариантов таких усилителей предлагает журнал «Функаматер» (ГДР). Первый, наиболее простой, применяют, когда микрофон удален от основного усчлителя на значительное расстояние. Напряжение питания 7,5—12В поступает к предусилителю по «звуковому» кабелю с заземленной оплеткой. Транзисторы V1, V2 включены по схеме с общим эмиттером и дают большое усиление сигнала. Резистор R1 и конденсатор С2 устраняют самовозбуждение. Режим работы устанавливают с помощью подстроечного резистора R4 таким образом, чтобы на коллекторе V2 было «половинное» напряжение питания. Потребляемый ток — около 1,5 мА.
Второй усилитель предназначен для совместной работы с высококачественной аппаратурой. При увеличении сопротивления R5 до 100 кОм усиление устройства максимально (51 дБ). Чувствительность 3—8 мВ, оптимальное сопротивление микрофона 200 Ом.

Оба усилителя собраны из малогабаритных деталей и помещены в жестяные футляры размерами со спичечный коробок и заземлены. В устройствах применены кремниевые транзисторы малой мощности: V1 — малошумящий, например, КТ312Б, V2 — КТ306, КТ315, КТ342 с любым буквенным индексом.
«М-К» № 2, 1985 г.