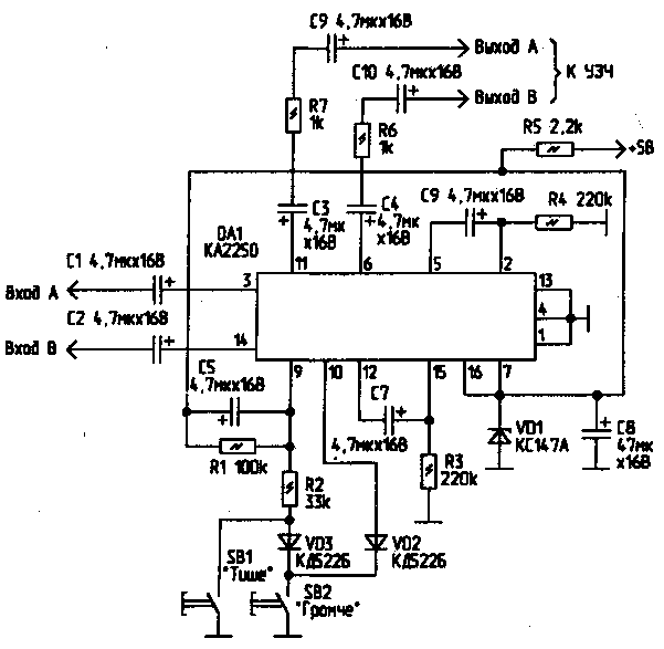
Для замены довольно посредственного по шумам и искажениям электронного регулятора громкости К174УН12 (A273D) предлагается применять более удачную ИМС KA2250. Типовая схема ее включения обеспечивает синхронную регулировку громкости двух каналов двумя кнопками SB1 ("Тише") и SB2 ("Громче"). К достоинствам КА2250, кроме доступной цены, относится и невысокое напряжение питания (5 В), позволяющее применять ее в переносной аппаратуре.

С. Сыч, Радиолюбитель № 12,99