Преобразователь спектра.

Описываемое устройство формирует богатый набор тембров и позволяет . имитировать гармонический синтез тембра. Преобразователь предназначен для применения в одноголосных ЭМИ.

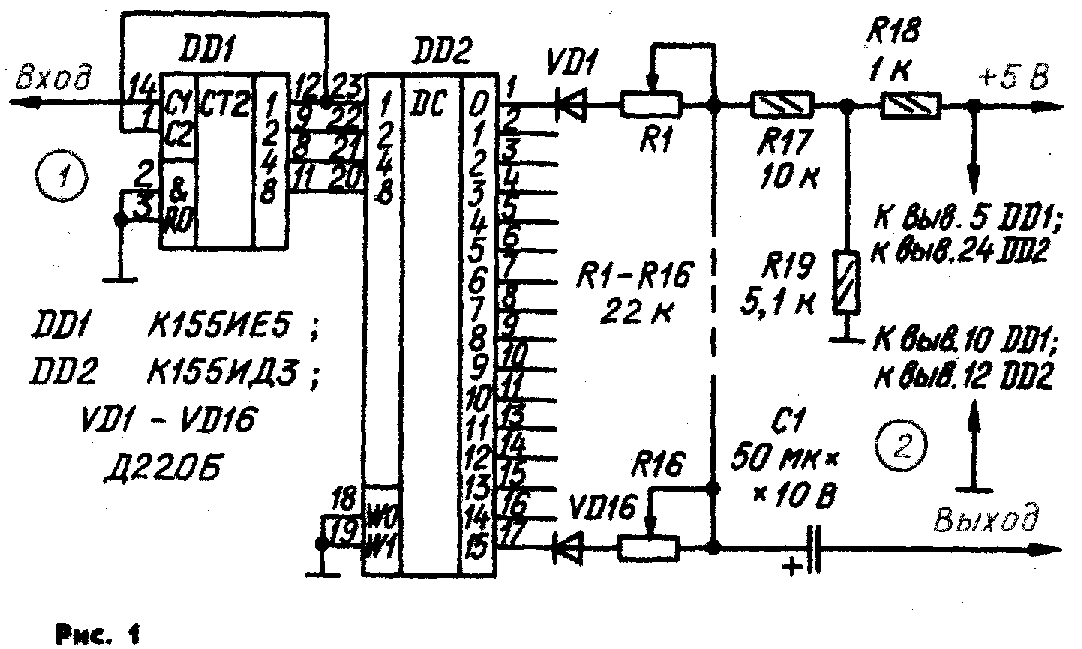
Основу преобразователя составляют счетчик DD1 и дешифратор DD2 (см. схему на рис. 1). За 16 импульсов, поступивших с ЭМИ на вход С1 счетчика DD1 (диаграмма 1 на рис. 2), преобразователь совершает полный цикл работы, формируя один обработанный импульс. Одна из возможных форм импульса показана на рис. 2 (диагр. 2). Форма импульса зависит от сопротивления каждого из резисторов линейки R1 —R16. Если в преобразователе использовать переменные резисторы серии СПЗ-23, установленные на пульте управления в ряд (как в эквалайзере), то по положению ручек резисторов можно наглядно выбирать требуемую форму импульса. Идея такого использования счетчика и дешифратора заимствована из [1]. В отличие от преобразователей, основанных на RC-цепях, на вход рассматриваемого преобразователя можно подавать сигнал любой частоты, и при этом частотные пропорции будут сохраняться. Такое свойство позволяет использовать его во всем музыкальном диапазоне ЭМИ.

Сравнив диаграммы 1 и 2 на рис. 2, легко сделать вывод о необходимости сдвинуть прежний диапазон ЭМИ на 4 октавы вверх, хотя можно и за 16 входных импульсов получить 2, 4 и даже 8 одинаковых выходных импульсов, если установить, например, R1 = R3 = R5...R15= Ra, R2= R4 = R6...= R16 = Rб и Ra не равно Rб (диагр. 2a). Таким образом, использование этого преобразователя еще и расширяет диапазон ЭМИ. Переменные резисторы в преобразователе — СПЗ-23а, остальные — МЛТ. Конденсатор С1 — К50-6. Вместо Д220Б можно использовать диоды Д220. Преобразователь я разместил в плоской коробке, размеры которой определил выбор переменных резисторов. Вместо изготовления печатной платы я использовал небольшой лист картона; проколов в нем отверстия для выводов микросхем DD1, DD2, резисторов R18 — R20 и конденсатора С1, установил детали с одной, а все проволочные соединения — с другой стороны. После проверки работоспособности эта картонная плата со стороны деталей была залита эпоксидной смолой, а со стороны монтажа — дважды. Диоды припаяны непосредственно к выводам переменных резисторов.

Описанный преобразователь спектра я использую в самодельном одноголосном грифовом ЭМИ [2], в котором для сдвига музыкального диапазона были заменены конденсаторы С1 — С6 на другие, меньшей емкости. Для питания использую готовый блок БП2/5 с небольшой доработкой: для получения выходного напряжения 5 В добавлен делитель из двух резисторов. Для нормальной работы преобразователя на вход счетчика DD1 необходимо подавать импульсы амплитудой не менее уровня логической 1, поэтому при необходимости нужно ввести в преобразователь предварительный усилитель сигнала. Возможно применение преобразователя в ЭМИ с канальным процессором, где в каждый канал звука необходимо установить по одному такому преобразователю. Интересные результаты дали эксперименты с электрогитарой, имеющей предварительный усилитель сигнала — звучание первой струны имитировало органный бас. Расширить возможности преобразователя можно, например, введением автоматической электронной регулировки, управляемой либо формирователем огибающей, либо одним или несколькими генераторами.

М. ДЖУСУПОВ, г. Новосибирск

ЛИТЕРАТУРА:

1. Н. Котов. Электромузыкальное устройство./ Сб. «В помощь радиолюбителю», вып. 87.—М.: ДОСААФ СССР.

2. Волошин В. И., Федорчук Л. И. Электромузыкальные инструменты. МРБ, вып. 773.— М.: Энергия, 1971.

РАДИО № 10, 1990 г.

Назад