В статье предлагается описание простого устройства, способного корректировать амплитудно-частотную характеристику передачи сигнала в соответствии с особенностями слуха человека при различной громкости звуковоспроизведения. Напомним, ухо человека имеет неодинаковую чувствительность при прослушивании различных частот звукового диапазона - более высокую на средних частотах (500...7000 Гц) по сравнению с высокими (10000...18000 Гц) и особенно низкими (20...100 Гц), поэтому одинаковый уровень акустического воздействия на различных частотах обеспечивается различным уровнем напряжения сигнала. Это физическое явление отражено так называемыми кривыми равных громкостей Флетчера и Мунсона.
Современные аудиоустройства высокой верности воспроизведения промышленного и любительского изготовления обычно стремятся делать с АЧХ, линейной в широкой полосе частот, что не полностью соответствует физиологическим основам слуха, но позволяет конструировать универсальный аппарат, в котором каждый индивидуальный слушатель сможет установить требуемое ему соотношение уровней воспроизведения на различных частотах. Такая установка может быть выполнена регулятором громкости и корректорами АЧХ (регуляторами тембров или эквалайзером). Есть в этом, однако, определенное неудобство - не каждый сможет это сделать правильно, так как манипулировать приходится одновременно несколькими регуляторами (в зависимости от конструкции усилителя - от двух до двадцати), при изменении уровня громкости вновь приходится подбирать желаемое соотношение.

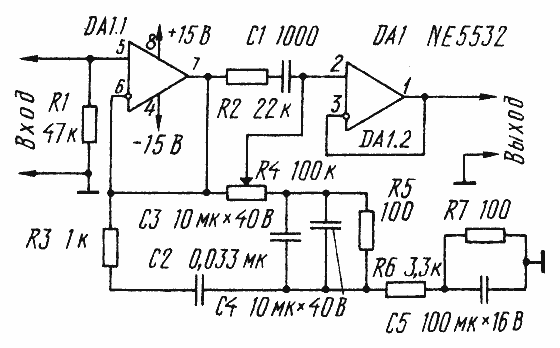
Рис. 1
Более удобным выходом из положения является создание тонкомпенсированного регулятора громкости, в котором необходимые уровни коррекций АЧХ в зависимости от громкости воспроизведения определены схемотехническим построением. Схема такого регулятора, хорошо зарекомендовавшего себя в эксплуатации, показана на рисунке. Между двумя операционными усилителями (ОУ), включенными как неинвертирующие повторители, включены элементы компенсации. Регулировка производится переменным резистором R4. Когда его движок находится в крайнем левом по схеме положении, сигнал с выхода ОУ DA1.1 передается на вход ОУ DA1.2 непосредственно. В этом случае коэффициент передачи равен 1 и АЧХ равномерна в пределах от 10 Гц до 100 кГц. При крайнем правом положении движка переменного резистора коэффициент передачи на самых низких частотах определяется последовательно включенными резисторами R4 - R6. По мере увеличения частоты в работу вступают конденсаторы С3 - C5, а затем и цепочка R3 С2. Минимальный коэффициент передачи устройства в области 500...1500 Гц. При работе на частотах свыше 5000 Гц начинает сказываться действие цепи R2 С1 и коэффициент передачи с ростом частоты повышается. Глубина подавления частотных составляющих зависит от положения переменного резистора R4 - максимальна она в крайнем правом положении. В реально работающем устройстве были получены следующие значения (уровень АЧХ на частоте 1500 Гц принят за 0 дБ): 20 Гц - +24 дБ, 100Гц - +17дБ,200Гц - +12дБ, 500Гц - +4 дБ, 5 кГц - +8 дБ, 10 кГц - + 10дБ.
При выполнении конструкции необходимо в качестве переменного резистора взять резистор с обратнологарифмической характеристикой изменения сопротивления (группа В), а для стереофонических конструкции переменные резисторы с возможно меньшим разбросом сопротивления. Конденсаторы С3 - С5 лучше взять неполярными. Если такой возможности нет, то можно применить оксидные, но выбирать следует типы конденсаторов с минимальными токами утечки. Питают устройство от двуполярного источника тока с напряжением +15 и -15 В (минимально допустимое +12 и -12 В). Ток потребления не превышает 50 мА для стереофонической конструкции. Выводы микросхем, подключаемые к цепям питания, следует развязать конденсаторами с емкостью не менее 0,1 мкФ. Устройство работает в широком диапазоне напряжений входных сигналов - от нескольких милливольт до 2 В.
По материалам журнала "Radioelektronik", 12/1993
P.S. Вместо рекомендованных на схеме микросхем использовать можно практически любые отечественные операционные усилители. Конденсаторы С1 и С2 керамические КМ-4, в качестве С3 и С4 лучше использовать полиэтилентерефталатные конденсаторы К73-11, К73-16, лакопленочные К76 любой разновидности, поликарбонатные К77-1, С5 - любой неполярный оксидный. Все постоянные резисторы могут быть выбраны с мощностью рассеяния 0,125 Вт.
Радио №6, 1994 г.