В процессе разработки автором регулятора громкости для высококачественного стереофонического усилителя и знакомства с рядом публикаций на эту тему выяснилось, что некоторые положения статей, помещенных в журнале «Радио» и другой радиолюбительской литературе, достаточно спорны. Так, например, широко распространено мнение, что высококачественный регулятор громкости невозможно построить на переменных резисторах, поскольку их характеристики имеют большой разброс от экземпляра к экземпляру и сопротивления изменяются в процессе эксплуатации. Однако от этих недостатков можно избавиться, ослабив влияние неидентичности и нестабильности параметров переменных резисторов на характеристики регулятора громкости цитированием каждого участка резистора между соседними отводами постоянным резистором с существенно меньшим сопротивлением.

Существует также точка зрения, что диапазон регулирования громкости высококачественного усилителя должен составлять 60...70 фон. Но в таком случае уровень громкости в минимальном положении регулятора составляет около 30 фон и большая часть динамического диапазона высококачественной музыкальной программы оказывается в неслышимой области (имеются в виду источники сигнала с динамическим диапазоном не менее 80 дБ, например, проигрыватель компакт-дисков или Hi-Fi магнитофон). Исходя из своего опыта, автор считает оптимальным диапазон регулирования громкости 50 фон, т.е. при максимальном уровне громкости 95...100 фон минимальный должен составлять 45...50 фон, что удобно для ночного прослушивания при отсутствии бытовых шумов и не мешает спящим в соседней комнате. Далее, все опубликованные схемы регуляторов имеют горизонтальную часть АЧХ только в положении максимальной громкости. Но для правильного звуковоспроизведения необходимо, чтобы АЧХ была горизонтальна при том уровне громкости, при котором звукорежиссер производит музыкальную балансировку программы. А такой уровень совсем не обязательно должен быть максимальным. И наконец, утверждение, содержащееся в статье П.Зуева «Регулятор громкости с распределенной частотной коррекцией» (см. «Радио», 1986, № 8, с.49—51), что требуемый подъем АЧХ в области низших звуковых частот прямо пропорционален ослаблению сигнала, вносимому регулятором громкости на средних частотах, по мнению автора, является неверным. Регулятор, собранный в соответствии с рекомендациями этой статьи, дает ощущение избытка низших частот почти при всех уровнях громкости, кроме самых больших. Если проанализировать вид кривых равной громкости, можно заметить, что при больших уровнях подъем АЧХ на низших частотах при уменьшении коэффициента передачи регулятора должен быть меньшим, чем указано в названной статье.

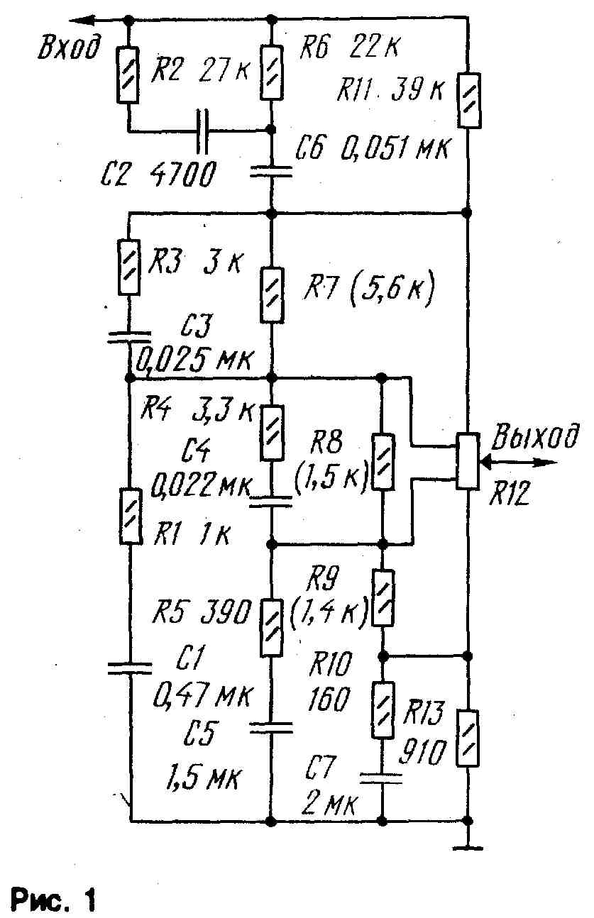
С учетом изложенных выше соображений, автором был рассчитан, построен и испытан регулятор громкости для высококачественного стереофонического усилителя. Принципиальная схема одного из каналов регулятора показана на рис.1, а его АЧХ- на рис.2. Расчет и подгонка номиналов элементов проводились на персональном компьютере. Регулятор громкости рассчитывался для звуковоспроизводящего комплекса, обеспечивающего максимальное звуковое давление в помещении прослушивания 96...100дБ. Предполагалось, что уровень музыкальной балансировки лежит в пределах 86...90 фон. Особенность данного регулятора — ослабление сигнала в положении максимальной громкости на 12 дБ (в авторском варианте с 775 до 200 мВ). Модуль полного входного сопротивления составляет не менее 11 кОм, допустимое сопротивление нагрузки — не менее 1 МОм. Отклонение фактических АЧХ регулятора от кривых равной громкости увеличивается по мере ослабления сигнала. Максимальное отклонение наблюдается на частоте 31,5 Гц при уровнях громкости, близких к минимальному, и равно 4 дБ. При сборке регулятора необходимо подобрать резисторы R7, R8 и R9 такого сопротивления, чтобы при параллельном их подключении к соответствующим участкам переменного резистора R12 их суммарные сопротивления равнялись указанным на схеме в скобках. Автор использовал одиночные переменные резисторы СПЗ-23 (ход движка 60 мм) с отводами, расположенными на расстоянии 25 и 40 мм от положения минимальной громкости. Сопротивление переменного резистора может быть в пределах 82...120 кОм, группа А или В. В качестве конденсаторов большой емкости (С1, С5, С7) можно использовать, например, конденсаторы К73 или К76 с максимально допустимым напряжением 25...50 В, конденсаторы малой емкости любые бумажные или керамические (термостабильных групп) или в крайнем случае группы НЗО. Сопротивления резисторов и емкости конденсаторов, используемых в разных каналах регулятора громкости, должны отличаться друг от друга не более чем на 2%, а от номиналов, указанных на схеме, не более чем на 5%. Субъективные испытания регулятора громкости показали, что тембровая окраска звука различных музыкальных программ сохраняется при изменении уровня громкости во всем диапазоне без применения какого-либо регулятора тембра.
А.ИВАНОВ г. Иваново
РАДИО № 12, 1993г.