Технические данные усилителя:
Чувствительность, В - 0,8;
Выходное сопротивление, кОм - 34;
Номинальная выходная мощность на нагрузке 8 Ом, Вт - 100;
Динамическая мощность, Вт на нагрузке 4 и 2 Ом - 200;
Скорость изменения выходного напряжения (без цепи R1C2), В/мкс - 18;
Время установления (без цепи R1C2), мкс - 4;
Полоса эффективно усиливаемых частот, Гц, по уровню 0..-0,5 дБ - 5..35000;
Коэффициент демпфирования в диапазоне частот 5..35000 Гц, более - 1000.
Предпагаемый УМЗЧ обладает настолько высокими параметрами, что может быть использован при экспертизе звучания звуковых программ, в том числе воспроизводимых проигрывателями компакт-дисков. О принципах построения таких усилителей рассказывалось в статье автора "К вопросу о природе нелинейных искажений УМЗЧ".
Принципиальная схема одного из каналов УМЗЧ приведена на рис.1. При ее разработке использованы отдельные схемные решения усилителя мощности. Отличительная особенность УМЗЧ - отсутствие усилительных каскадов, выполненных по схеме с ОЭ, а также отсутствие оксидных конденсаторов в сигнальных цепях.
Входной сигнал, пройдя через пассивные ФВЧ C1R2 с частотой среза 5 Гц и ФНЧ R1C2 с частотой среза 130 кГц, поступает на ОУ DA1 с входным каскадом на полевых транзисторах. Усиленный сигнал с выхода ОУ через повторитель (VT1) и цепь коррекции на опережение R6C6, компенсирующую создаваемый выходным каскадом полюс АЧХ иа частоте 2,3 МГц, поступает на каскады сдвига уровня (VT2) и усиления напряжения (VT7). Каскад усиления напряжения нагружен на генератор тока на транзисторе VT9 и три последовательно соединенных двухтактных эмиттерных повторителя на транзисторах VT10-VT12, VT14-VT16, выполняющих функции каскада усиления мощности. Размещенный иа теплоотводе транзистора VT15 транзистор VT8 задает напряжение смещения на базе транзисторов выходного каскада в режиме АВ и обеспечивает его термостабилизацию.
На транзисторах VT3, VT4 собран триггер защиты УМЗЧ от токовых перегрузок. Он управляется импульсами коллекторного тока транзистора VT13, являющегося датчиком датчиком тока транзисторов выходного каскада. При срабатывании триггера открываются ключи на транзисторах VT5 и VT6, которые закрывают транзисторы каскада усиления напряжения (VT7) и генератора тока (VT9), вследствие чего оказываются закрытыми и транзисторы VT10-VT12, VT14-VT16. Индикацию аварийного состояния УМЗЧ обеспечивает светодиод HL1. Возврат УМЗЧ в рабочее состояние (сброс триггера) возможен только после устранения причин перегрузки выходного каскада. Для этого с помощью выведенной на переднюю панель УМЗЧ кнопки SB1 следует через цепь R8C5 соединить базу транзистора VT4 с его эмиттером.
На ОУ DA2 выполнено устройство поддержания нулевого потенциала по постоянному току на выходе усилителя. Работает оно следующим образом. Выходной сигнал усилителя через ФНЧ R30C17 с частотой среза 1,5 Гц поступает на активный интегратор С18 R31DA2, а затем через резистор R7 в виде управляющего напряжения в соответствующей полярности подается на вход коррекции нуля основного ОУ DA1. В результате постоянный потенциал на выходе УМЗЧ определяется лишь собственным дрейфом напряжения смещения ОУ D А2 и не превышает +0,5 мВ при нагревании любого из элементов УМЗЧ до температуры 110?С и асимметрии питающих напряжений в диапазоне от +7 В, -45 В до +45 В, -7 В. Кроме того, такое схемотехническое решении позволило избавиться от применения блокировочных и разделительных оксидных конденсаторов в цепи прохождения сигнала и цепи сигнальной ООС, а также разделить точки подключения ООС по постоянному и переменному токам.
Последнее обстоятельство нуждается в особом пояснении. Дело в том, что в УМЗЧ обычно используется совмещенная цепь общей ООС, которая замыкает ее петлю как по постоянному, так и по переменному току (рис.2). При этом сигнал ООС снимают непосредственно с выхода усилителя, в то время как нагрузка Rн подключена к нему через контактную группу K1.1 реле защиты АС от аномального потенциала на выходе УМЗЧ. То есть нелинейный элемент (контактная группа) оказывается вне петли ООС, в результате чего проявление его нелинейности максимально. Подключение петли ООС к общей точке контактной группы К1.1 и нагрузки (т.е. охват ее петлей ООС), как показано штриховой линией, в этом случае невозможно, так как в первый момент после включения УМЗЧ контакты К1.1 будут разомкнуты, цепь ООС по постоянному току не замкнута и усилитель не сможет войти в нормальный режим работы. В рассматриваемом УМЗЧ цель ООС по постоянному току подключена непосредственно к его выходу, а по переменному (резистор R36) - после контактной группы К1.1. В результате нулевой потенциал на выходе УМЗЧ устанавливается независимо от положения контактов, а проявление нелинейности контактной группы К1.1 практически устранено петлей общей ООС по переменному току. На ОУ DA3 выполнено устройство компенсации сопротивления проводов, соединяющих выход УМЗЧ с АС. Работает оно следующим образом. Протекающий по "земляному" соединительному проводу ток нагрузки создает на нем падение напряжения, которое отдельным тонким проводником подводится к инвертирующему входу удвоителя напряжения на ОУ DA3. При этом напряжение на выходе этого ОУ равно падению напряжения на обоих соединительных проводах (как "земляной", так и "горячий" провода имеют практически одно и то же сопротивление и по ним протекает один и тот же ток), но противоположно по фазе. Это напряжение через резистор дополнительной ООС R35 подается в цепь инвертирующего входа ОУ DA1, суммируясь с сигналом основной ООС, в результате чего напряжение на выходе усилителя увеличивается ровно на падение напряжения на обоих соединительных проводах, чем и обеспечивается компенсация их сопротивления. Такое устройство не нуждается в каком-либо налаживании при замене АС или соединительных проводов и компенсирует не только резистивную, но и реактивную составляющие их полного распределенного сопротивления.
Аналогичные схемные решения применены в ряде престижных УМЗЧ японских фирм "Toshiba" (так называемая "Clean Drive System"), "Kenwood" ("Sigma Drive System"), "Akai" ("Zero Drive System").
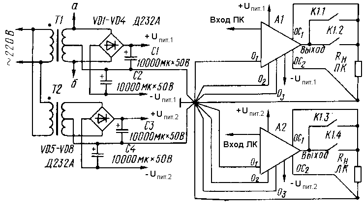
С целью уменьшения низкочастотных межканальных помех и искажений каждый канал УМЗЧ питается от отдельного нестабилизированного источника. Питающие напряжения зависят от необходимой выходной мощности, сопротивления нагрузки и могут быть установлены без каких-либо изменений схемы в диапазоне от ±25 до ±45 В. Требуется только замена реле устройства защиты АС (см. ниже) на более низкоомное. Для выбора питающих напряжений можно воспользоваться формулой Uпит=5+(2*Pн*Rн)1/2, где Pн - номинальная мощность в нагрузке, Rн - номинальное сопротивление АС. Емкость конденсаторов сглаживающего фильтра выпрямителей каждого канала должна быть не менее 2?10000 мкФ при Рн>40 Вт и 2?6000 мкФ при Рн<40 Вт.

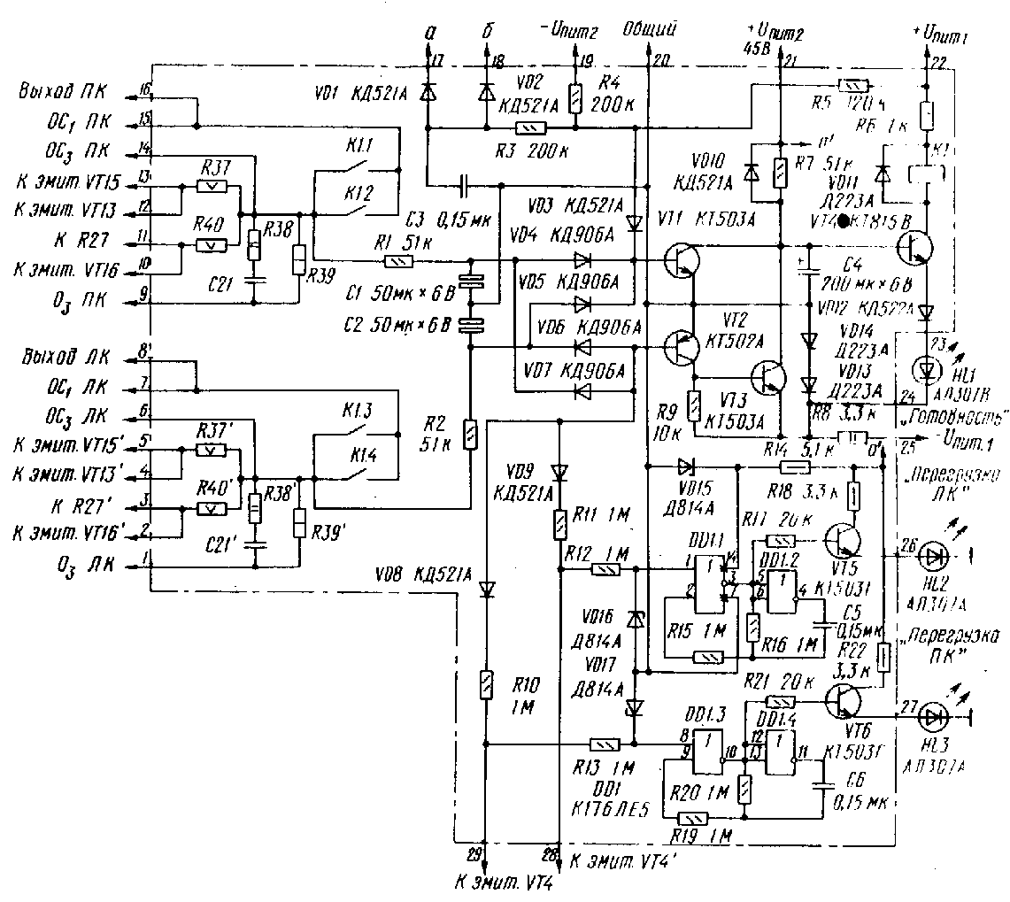
На рис.3 приведена принципиальная схема устройства защиты АС, обеспечивающего задержку подключения АС к выходу УМЗЧ при включении питания и отключение их при срабатывании триггеров защиты усилителя от токовых перегрузок, появлении на выходах аномального постоянного напряжения, снижения любого из четырех постоянных напряжений питания, а также при падении напряжения в сети переменного тока.
При включении питания подключение АС к выходу УМЗЧ задерживает (на 1..2 с) интегрирующая цепь R7C4 в цепи базы коммутирующего транзистора VT4. Нормальный режим индицирует зеленый светодиод HL1.
Появившееся на выходе любого канала УМЗЧ аномальное постоянное напряжение положительной полярности через развязывающие диоды VD4, VD5 поступает на базу транзистора VT1, а отрицательной через диоды VD6, VD7 и инвертор VT2 - на базу транзистора VT3. При этом соответствующий транзистор (VT1 или VT3) открывается и база коммутирующего транзистора VT4 оказывается соединенной с общим проводом. В результате последний транзистор закрывается и контакты К1.1 и К1.2 (рис.1) реле К1 отключают АС от УМЗЧ.
При срабатывании триггеров токовой защиты УМЗЧ отрицательное напряжение с их выходов через цепи R10VD8 или R11VD9 и инвертор VT2 поступает на базу транзистора VT3, который открывается и соединяет базу коммутирующего транзистора VT4 с общим проводом, что, как и в предыдущем случае, влечет за собой срабатывание реле К1 и отключение АС от УМЗЧ.
Отрицательное напряжение с выходов триггеров поступает также и на мультивибраторы на микросхеме DD1, которые запускаются, обеспечивая прерывистое свечение светодиодов HL2 или HL3, подключенных к ним через транзисторы VT5, VT6, что и сигнализирует о срабатывании токовой защиты.
При уменьшении (по модулю) напряжения питания -Uпит2 или напряжения сети (пропорциональное ему напряжение вторичной обмотки сетевого трансформатора, выпрямленное диодами VD1 и VD2) изменится (с отрицательного на положительный) потенциал точки соединения резисторов R3, R4. R5. В результате мгновенно откроется транзистор VT1, а вслед за ним закроется транзистор VT4 и реле К1 отключит АС от УМЗЧ. При уменьшении модулей напряжений -Uпит1, и +Uпит1 обесточивается непосредственно обмотка реле К1, по скольку оно питается от источников этих напряжений соответственно через резисторы R8 и R6. И наконец, при уменьшении напряжения +Uпит2 отключение АС от УМЗЧ достигается за счет срабатывания реле К1 в результате падения ниже порогового значения тока базы коммутирующего транзистора VT4, протекающего через соединенную с этим источником питания цепь VD10R7.
Каждый канал усилителя собран на отдельной печатной плате Чертеж печатной платы одного канала УМЗЧ показан на рис.4. Транзисторы VT12, VT13 установлены на теплоотводах из листового металла толщиной 0,5..1 мм (латунь, алюминий) площадью 6 см2.
Для исключения "наведенных" искажений каждый из общих выводов печатной платы O1, O2, O3 (рис.1), а также "земляной" провод нагрузки каждого канала необходимо соединить с общей точкой всех четырех конденсаторов сглаживающих фильтров выпрямителей отдельными проводниками, как показано на рис.5.
Резисторы R37-R40 и конденсатор С21 (рис.1), смонтированы на печатной плате устройства защиты АС (рис.6).
Мощные выходные транзисторы VT15, VT16 должны быть установлены на теплоотводы с такой площадью, при которой температура их корпусов в наиболее термонапряженном режиме (или рассеиваемой на одном транзисторе мощности Pk max = Uпит2/(10?Rн) ) не первышала бы +80°С Автор применил теплоотводы с тепловым сопротивлением 1,2°С/Вт. Транзистор VT8, обеспечивающий термостабилизацию тока покоя, установлен через изолирующую прокладку на теплоотводе транзистора VT15.
Вторичные обмотки каждого из сетевых трансформаторов Т1, Т2 (рис.5) должны быть рассчитаны на средний ток I>= (2*Pн*Rн)1/2/Pi. Для уменьшения магнитных наводок на окружающую УМЗЧ аппаратуру (особенно магнитофоны) сетевые трансформаторы целесообразно выполнить на тороидальных магнитопроводах и расположить их один над другим, подключив первичные обмотки трансформаторов к сети противофазно.
Возможная замена элементов усилителя: ОУ DA2 - К140УД7, К140УД12, К140УД14, К140УД17; DA1 - К574УД1Б, DA3 - К544УД2, К544УД1. Стабилитроны VD1, VD2 - любые маломощные на напряжение 12..14 В. Диоды VD3-VD6 - любые кремниевые маломощные, диоды устройства защиты АС (рис.3) - кремниевые маломощные с обратным напряжением не менее 50 В. Микросхему DD1 можно заменить на К561ЛЕ5, реле К1 (РЭС-22 РФ4.500.130) - РЭС-6, паспорт РФ0.452.110 или РФ0.452.100.
Отклонение номиналов резисторов R33-R36 УМЗЧ от указанных на схеме не должно превышать ±1 %, остальных ±10 %. Подстроечные резисторы R21, R26, R32 - СП5-3. Конденсаторы могут быть КМ-6, К73-9, К73-17. Автор применил К73-11. Отклонения номиналов конденсаторов С2, С4, С6, С16 и С18 от указанных на схеме не должно превышать 20 %, остальных - +80..-20 %.
Налаживание.
Перед налаживанием усилителя отключают нагрузку и временно подключают резистор R36 (ООС по переменному току) к общей точке резисторов R37 и R40. Движок резистора R32 должен при этом находиться в среднем положении, R26 — в крайнем верхнем, R21 — в крайнем правом (по схеме). Вход устройства компенсации на ОУ DA3 (OCv, см. рис. 1) соединяют с общим проводом. Подав на УМЗЧ питающие напряжения, резистором R21 по падению напряжения на резисторах R37, R40 (т. е. между эмиттерами VT15 и VT16), которое должно быть равным 0,1(R37 + R40) В, т. е. 66 мВ, устанавливают начальный ток транзисторов выходного каскада равным 100 мА. После этого резистором R32 устанавливают постоянный потенциал на выходе УМЗЧ в пределах ±0,5 мВ. Если же достичь балансировки нуля резистором R32 не удается, необходимо заменить ОУ DA1 или соединить его выводы 2 и 8 резистором сопротивлением 150... 300 кОм. В последнюю очередь устанавливают порог срабатывания токовой защиты. Для этого нагружают усилитель резистором сопротивлением 2 Ом, на вход подают синусоидальный сигнал частотой около 1 кГц и увеличивают его амплитуду до тех пор, пока средний потребляемый усилителем ток не достигнет 4,4 А. После этого резистором R26 добиваются срабатывания триггера защиты (о чем сигнализирует загорание светодиода HL1). Две последние операции во избежание перегрева мощных выходных транзисторов необходимо производить оперативно, не более 1 мин. Устройство защиты АС налаживания не требует, необходимо лишь проверить его работоспособность, подавая поочередно напряжения ±2 В на резисторы R1 или R2 и —Uпит1 — на R1 или R11, а также снимая напряжения ±Uпит1, ±Uпит2 и сетевое, что должно приводить к прекращению свечения светодиода HL1 и размыканию контактов реле К1. Кроме того, при подаче напряжения —Uпит1, на резисторы R10 или R11 должны прерывисто светиться светодиоды HL2 или HL3.
Эксплуатация усилителя особенностей не имеет, за исключением устройства компенсации сопротивления проводов на ОУ DA3. Для ее нормальной работы как «горячий», так и «земляной» проводники, соединяющие УМЗЧ с АС, должны быть однотипными и равной длины, а вход устройства компенсации (ОС2) должен быть подключен тонким проводником (например, ПЭЛШО 0,12) к общей точке АС и «земляного» проводника непосредственно на зажиме АС. При необходимости устройство компенсации может быть отключено: для этого достаточно его вход оставить свободным или заземлить. В этом случае оно не будет оказывать на работу УМЗЧ никакого воздействия.
Все испытания, кроме измерения выходной мощности, проводились на эквивалент нагрузки по стандарту IHF (см. рис. 3 в статье автора «К вопросу об оценке нелинейных искажений УМЗЧ» в «Радио», 1989, № 5, с. 54—57). Схема измерения коэффициента гармоник показана на рис. 7. Коэффициент гармоник измерялся спектроанали-затором СК4-56 (PS1), в качестве источника сигнала использовался генератор ГЗ-118 (G1). Для увеличения разрешающей способности измерений первая гармоника сигнала с выхода УМЗЧ подавлялась на 60...62 дБ режекторным фильтром ЕХ2.067.075 (Z1), входящим в комплект поверки генератора ГЗ-118. Точность таких измерений определяется собственным коэффициентом гармоник генератора. У прибора, которым пользовался автор, уровень гармоник не превышал — 110 дБ (Кг<0,00032 %) на частоте 1 кГц и —100 дБ (Кг< <0,001 %) на частоте 10 кГц.
На рис. 8 приведен спектр сигнала частотой
1000 Гц на выходе усилителя при работе на нагрузку
IHF и выходной мощности 100 Вт. Уровень наиболее
значимой второй гармоники с учетом подавления на
60 дБ первой гармоники составляет —105 дБ, что
соответствует Кг2 = 0,00056 %. Уровень гармоник высших
порядков сравним с уровнем гармоник генератора.
Спектр сигнала, показанный на рис. 9,
соответствует тем же условиям, но при работе на
резистивную нагрузку сопротивлением 1 Ом при
выходной мощности УМЗЧ 50 Вт. В этом случае
уровень второй гармоники выше —92 дБ (Кг2=0,0025 %), но
все же линейность усилителя достаточно высока.
Относительный уровень гармоник при выходной
мощности 30, 10, 1 и 0,1 Вт лежит ниже —110 дБ как для IHF
нагрузки, так и для нагрузки сопротивлением 1 Ом.
На рис. 10 показан спектр выходного сигнала УМЗЧ
вблизи 10 кГц при его работе на нагрузку IHF и
входном сигнале, состоящем из двух
синусоидальных сигналов частотой 10 кГц и 250 Гц с
соотношением амплитуд 1:4. Мощность в нагрузке
составляет 100 Вт, спектральная составляющая 10 кГц
подавлена на 62 дБ, а ближайшие составляющие
интермодуляционных искажений (9750 и 10250 Гц)
подавлены из-за неидеальной кривой ре-жекции
фильтра на 9 дБ. С учетом этого легко убедиться в
том, что уровень составляющих
интермодуляционных искажений не превышает —100
дБ, или Ким<0,001 %, т. е. совпадает с уровнем
искажений генератора ГЗ-118 на частоте 10 кГц. На
рис. 11 а, б и в приведены осциллограммы сигнала на
входе (верхние осциллограммы) и выходе усилителя
при частотах повторения напряжения
прямоугольной формы соответственно 20 кГц, 1 кГц и
50 Гц. Первая из них свидетельствует о
апериодической («гладкой») переходной
характеристике усилителя, а последняя —
незначительном (<5 %) спаде вершины
низкочастотного импульса. Осциллограммы,
показанные на рис. 12 и 13, иллюстрируют форму
напряжения на зажимах АС (нижние части
осциллограмм) сопротивлением соответственно 8 и 4
Ом при входном сигнале прямоугольной формы
частотой повторения 50 Гц (верхние осциллограммы).
Для имитации нагрузки 8 Ом использовались АС SB-3170
японской фирмы «Technics», а для имитации нагрузки 4
Ом — эти же АС, включенные параллельно. УМЗЧ
соединен с АС проводниками сечением 0,5 мм', длиной
20 м. Устройство компенсации сопротивления
проводов отключено (ОС г на рис. 1). Для сравнения
на рис. 14 изображена осциллограмма сигнала в тех
же условиях, но с включенным устройством
компенсации. В последнем случае форма напряжения
на зажимах АС практически не отличается от
изображенного на рис. 11 в, что свидетельствует о
высокой эффективности компенсации.
Н. СУХОВ, г. Киев
ЛИТЕРАТУРА:
1. Wiederhold M. Neuartige Konzeption fur einen Hi-Fi — Leis-tungsverstarkez.— Radio Fernse-hen Elektronik, 1977, № 14, S. 459— 462, 467.
2. Зуев П. Усилитель с многопетлевой ООС.— Радио, 1984, № 11, с. 29—32.
3. Патент ФРГ № 3107799, МКИ H04R 3/00, публ. 30.05.85.
4. Патент США № 4441085, МКИ H03F 1/34, публ. 03.04.84.
Радио № 6 - 7, 1989 г.