УМЗЧ класса G
известны сравнительно давно (еще в 1976 году Toshiba
применила его в своих усилителях), но пока что
получили распространение только в комплексах
сверхбольшой мощности - от киловатта и больше,
где они действительно хорошо конкурируют с
импульсными УМЗЧ класса D (КПД чуть хуже, но
значительно меньше ВЧ помех), а у
HiFi-конструкторов особого энтузиазма не вызывают.
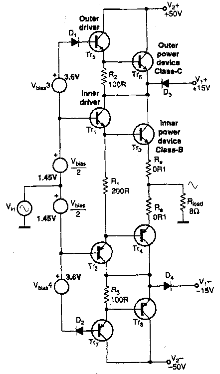
Действительно, изменяемое довольно резко питание «внутренних» драйверов ТгЗ, Тг4 в типовой схеме выходного каскада класса G (рис. 1) при достижении некоторого порога (обычно от 1/3 до половины максимальной) значительно повышает КПД усилителя (при мощности ниже пороговой - в несколько раз) и разгружает по рассеиваемой мощности ТгЗ, Тг4, но в моменты перехода с постоянного питания через диоды D3,D4 на динамическое через Тг6, Тг8 возникают кратковременные пики выходного напряжения (рис.3), не улучшающие звучание. Известный английский HiFi-конструктор Дуглас Селф путем моделирования в SPICE определил, что «пики» возникают в моменты отключения диодов, которые должны пропускать большой ток и поэтому мощные и инерционные. Из-за огромного времени рассасывания основных носителей такие диоды закрываются сравнительно медленно, из-за чего и возникают пики напряжения - на рис.3 хорошо видно, что пик на выходном напряжении появляется сразу за окончанием броска запирающего тока через диод. Этот ток «запускается» в диод с эмиттера Тг6, но после того, как диод закрылся, ток эмиттера продолжает некоторое время поступать (на этот раз из-за инерционности Тг6), но уже не в закрытый D3, а через емкость коллектор-эмиттер ТгЗ - прямиком в нагрузку. Поиски решения проблемы привели Дугласа к современным мощным диодам Шоттки, имеющим быстродействие выше, чем у транзисторов: первый же эксперимент с Мотороловскими MBR5025L (предельный прямой ток до 50 А) как в симуляторе SPICE, так и на «живом» макете показал полное исчезновение паразитных всплесков. Следующий логический шаг, сделанный в направлении HiFi-применения схемотехники класса G - перевод внутренних транзисторов ТгЗ, Тг4 в режим класса А. Такое решение позволяет обеспечить линейность выше, чем в обычном классе В или АВ при существенной лучшей экономичности.

На рис.4 приведены результаты симуляции каскада в статическом режиме - зависимость коэффициента передачи по напряжению от постоянного входного напряжения: нижняя кривая соответствует режиму класса В с выраженной нелинейностью вблиЛ нулевого входного напряжения (что характерно для переходной области всех усилителей класса В), а верхняя - этому же каскаду, но с внутренними транзисторами в режиме класса А. Здесь видны только небольшие изменения коэффициента передачи в точках, соответствующих ±16 В - на границе отключения D3, D4. Если приглядеться внимательно, то их же можно заметить и на нижней кривой, но там они замаскированы основной нелинейностью класса В; констатируем из рис.4, что верхняя кривая гораздо линейнее, хотя КПД обоих вариантов при рабочих уровнях мощности оказывается почти одинаковым. Полная схема HiFi УМЗЧ класса G=А+С приведена на рис.5.
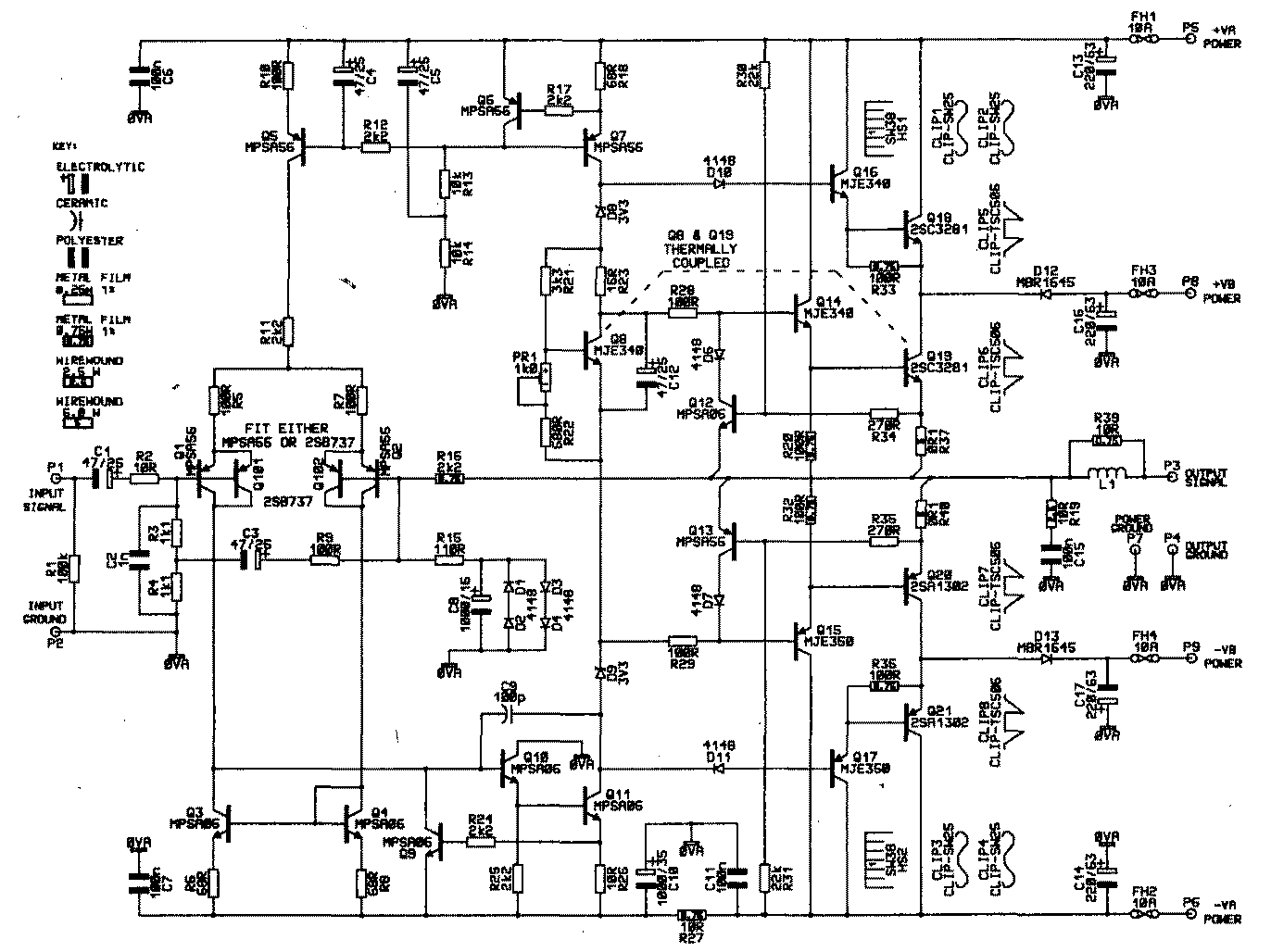
Здесь входные каскады практически заимствованы из хорошо зарекомендовавшей себя разработки Дугласа 2000-го года - изменен только выходной каскад. При напряжениях питания ±VR = ±50 В («внешнее») и +VB = ±15 В («внутреннее») усилитель отдает в 8-омную нагрузку до 120 Вт, а переход к «внешнему» питанию происходит при мощности около 25 Вт (при меньшей мощности усилитель работает в чистом «настоящем» режиме класса А). На рис.6 показаны зависимости коэффициента гармоник от частоты при выходной мощности 20 и 30 Вт, т.е. ниже и выше порога переключения. Из других схемных особенностей можно отметить применение во входном дифкас-каде спаренного включения транзисторов Q1Q101Q2Q102, а также низкоомного делителя в цепи ООС (обычно сопротивления резисторов R15, R16 на порядок больше).

Такое решение снижает уровень собственных шумов, а также смещение нуля по постоянному току, вызванное протеканием разности токов баз Q1Q101, Q2Q102 через R3+R4 и R16. Для того, чтобы R3 и R4 не ограничивали входное сопротивление усилителя малоприемлемыми 2 килоомами, через СЗ в их общую точку инжектируется напряжение с базы Q2, которое повышает RBX до 15 кОм. Резисторы R5 и R7, а также относительно большой ток коллекторов транзисторов входного каскада (6 мА) уменьшают проявление нелинейности третьего порядка, а токовое зеркало Q3Q4 предотвращает дисбаланс токов коллектора пар Q1Q101, Q2Q102, а также появление на выходе этого каскада четных гармоник (они компенсируются). Каскад усиления напряжения Q11 с целью предотвращения вредного шунтирования выхода первого каскада его емкостью Миллера предварен эмиттерным повторителем Q10. Термостабилизирующий Q8 смонтирован непосредственно на корпусе Q19 (не на радиаторе!). Единственный пункт в процедуре налаживания - установка резистором PR1 начального тока эмиттера Q19(Q20) 1,5 А. Нижняя граница АЧХ по уровню -3 дБ составляет 1,4 Гц, верхняя - определяется выходным сопротивлением источника сигнала и емкостью С2 (в типовом случае от 100 до 200 кГц), скорость изменения выходного напряжения 40 В/мкс. Выходные транзисторы необходимо монтировать на радиаторах с тепловым сопротивлением не более 2°С/Вт.
(«Electronics World» N12/2001, с.900-905; N1/2002, с. 12-17).