В процессе эксплуатации пластины автомобильных аккумуляторов постепенно сульфатируются, это все больше снижает емкость батареи. Наиболее эффективные способы борьбы с сульфатацией — поочередный заряд-разряд аккумулятора или пропускание через него так называемого «асимметричного» зарядного тока, у которого отношение зарядной и разрядной составляющих равно 10:1, а длительностей импульсов - 1:2. Причем второй способ позволяет не только восстанавливать работоспособность засульфатированных аккумуляторных батарей, но и проводить профилактическую обработку исправных. Предлагаем описание прибора дяя зарядки аккумуляторов «асимметричным» током, оснащенного устройствами защиты от коротких замыканий и автоматического отключения при полной зарядке аккумулятора.

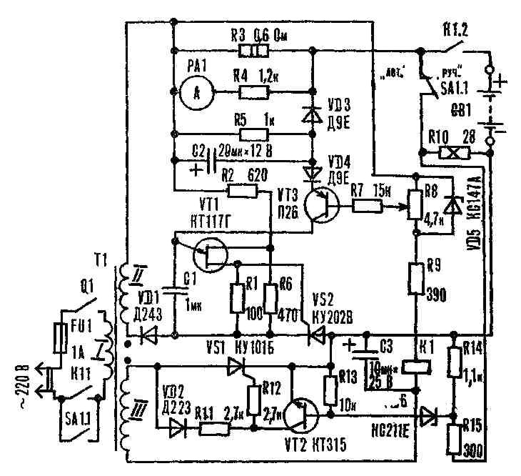
Рис. 1. Принципиальная схема зарядного устройства.
Регулирующим элементом является тринистор VS2, работающий в ключевом режиме. Он управляется импульсами, вырабатываемыми релаксационным генератором на однопереходном транзисторе VT1. Величина выходного тока определяется разностью фаз импульсов управляющего генератора и полуволн выпрямленного тока, зависящего, в свою очередь, от емкости зарядного конденсатора С1. Последний включен в коллекторную цепь транзистора VT3, выполняющего функции усилителя тока. С движка переменного резистора R8 на базу VT3 поступает часть напряжения со стабилитрона VD5. а на эмиттер подают через разделительный диод VD3 напряжение, снятое с резистора R4, являющегося датчиком тока. Параллельно соединенные резистор R5 и конденсатор С2 составляют цепь временной задержки в случае исчезновения напряжения обратной связи по току в период, когда тринистор VS2 закрыт. Постоянная времени цепи R5C2 равна 0,02 с. Диод VD4 служит для защиты перехода «база — эмиттер» транзистора VT3 от пробоя обратным напряжением. Когда на выходе происходит короткое замыкание, задающее напряжение на резисторе R8 исчезает, транзистор VT3 закрывается. В результате прекратится заряд конденсатора С1 и тринистор VS2 не откроется. Выпрямитель обеспечивает два режима заряда: ручной и автоматический. Первый служит для зарядки импульсами постоянной амплитуды от 0 до 5 А. В этом режиме можно заряжать отдельные аккумуляторы батареи. В автоматическом режиме одновременно с зарядкой происходит профилактическая обработка пластин для устранения их сульфитации. Для зарядки аккумулятор подсоединяют к выпрямителю, включают тумблер Q1, переключатель SA1 устанавливают в положении «Ручн.». При этом открывается тринистор VS1 и срабатывает реле К1. В автоматический режим прибор переводят установкой переключателя SA1 в положение «Авт.». В этом режиме амперметр РА1 показывает ток, равный одной третьей суммы импульсов тока заряда и тока, протекающего через зарядный резистор R10. Для устранения сульфатации пластин импульсный зарядный ток должен быть равен 5,5 А (заряд ведется в автоматическом режиме). Как только напряжение на аккумуляторе достигнет 14,4 В, зарядное устройство автоматически отключается. Данную величину устанавливают с помощью делителя на резисторах R14 и R15. Напряжение на аккумуляторе измеряют на резисторе R10 в период разряда, поскольку питание поступает на устройство автоматического отключения в полупериоды, при которых тринистор VS2 закрыт. Этого достигают правильным фазироаанием обмоток 2 и 3 трансформатора Т1. Когда напряжение на аккумуляторной батарее становится равным 14,4 В, открывается транзистор VT2, шунтируя импульсы управяения тринистором VS1. Он будет закрыт, и через интервал, определяемый емкостью конденсатора СЗ и сопротивлением обмотки реле К1, зарядное устройство отключится.

Ряс. 2. Монтажная плата зарядного устройства со
схемой расположения элементов.
Силовой трансформатор T1 выполнен на сердечнике Ш32х40. Обмотка 1 содержит 730 витков провода ПЭВ-2 диам. 0,35, а обмотки 2 и 3 — по 70 витков ПЭВ-2 1,5 и 0,25. В качестве стрелочного индикатора РА1 используется миллиамперметр типа M2001 с током полного отклонения 1 мА. Шкала прибора рассчитана на максимальный ток 6 А. Резисторы R4 и R1O — проволочные, мощностью 2 и 10 Вт соответственно. Q1 и SA1 — тумблеры Т2-1, реле — МКУ - 48 на 24 В.
А. ЛЕКОНЦЕВ, г. Краснотурьинск, Свердловская обл., «М-К» № 12, 1986 г.