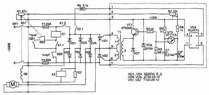
Во многих станках применяют электромоторы (ЭМ) постоянного тока. Они легко позволяют плавно управлять частотой вращения, изменяя постоянную составляющую напряжения на якорной обмотке, при постоянном напряжении обмотки возбуждения (0В). Электрическая схема будет полезна тем, кто собирает для себя необходимый станок или устройство с электроприводом. Схема позволяет управлять электромотором мощностью до 5 кВт. Мощные ЭМ постоянного тока имеют несколько особенностей, которые необходимо учитывать:
а) нельзя подавать напряжение на якорь ЭМ без подачи номинального напряжения (обычно 180...220 В) на обмотку возбуждения;
б) чтобы не повредить мотор, недопустимо сразу подавать при включении номинальное напряжение на якорную обмотку, из-за большого пускового тока, превышающего номинальный рабочий в десятки раз.

Приведенная схема позволяет обеспечить необходимый режим работы — плавный запуск и ручную установку нужной частоты вращения ЭМ. Направление вращения изменится, если поменять полярность подключения проводов на обмотке возбуждения или якоре (делается это обязательно только при выключенном ЭМ). В схеме применены два реле, что позволяет выполнить автоматическую защиту элементов схемы от перегрузки. Реле К1 является мощным пускателем, оно исключает вероятность включения ЭМ при установленной резистором R1 не нулевой начальной скорости. Для этого на оси переменного резистора R1 закрепляется рычаг, связанный с кнопкой SB2, которая замыкается (рычагом) только при максимальном значении сопротивления (R1) — это соответствует нулевой скорости. Когда замкнуты контакты SB2, реле К1 при нажатии кнопки ПУСК (SB1) включится и своими контактами К1.1 самоблокируется, а контакты К1.2 включат электропривод. Реле К2 обеспечивает защиту от перегрузки при отсутствии тока в цепи обмотки возбуждения ЭМ. В этом случае контакты К2.1 отключат питание схемы. Питается схема управления без трансформатора, непосредственно от сети через резистор R3. Величина действующего значения напряжения на якорной обмотке устанавливается с помощью изменения резистором R1 угла открывания тиристоров VS1 и VS2. Тиристоры включены в плечи моста, что уменьшает число силовых элементов в схеме. На однопереходном транзисторе VT2 собран генератор импульсов, синхронизированных с периодом пульсации сетевого напряжения. Транзистор VT1 усиливает импульсы по току, и через разделительный трансформатор Т1 они поступают на управляющие выводы тиристоров. При выполнении конструкции тиристоры VS1, VS2 и диоды VD5, VD6 необходимо установить на теплоотводящую пластину (радиатор).

Часть схемы управления, выделенная на рисунке пунктиром, размещается на печатной плате. Постоянные резисторы применены типа С2-23, переменный R1 — типа ППБ-15Т, R7 — СПЗ-196, R3 — типа ПЭВ-25. Конденсаторы С1 и С2 любого типа, на рабочее напряжение не менее 100 В. Выпрямительные диоды VD1 ...VD4 на ток 10 А и обратное напряжение 300 В, например Д231 Д231А Д232,Д232А,Д245,Д246. Импульсный трансформатор Т1 выполнен на ферритовом кольце М2000НМ типоразмера К20х12х6 мм и намотан проводом ПЭЛШО диаметром 0,18 мм. Обмотка 1 и 2 содержат по 50 витков, а 3 — 80 витков. Перед намоткой, острые грани сердечника нужно закруглить надфилем, чтобы исключить продавливание и замыкание витков. При первоначальном включении схемы замеряем ток в цепи обмотки возбуждения (0В) и по закону Ома рассчитываем номинал резистора R2 так, чтобы срабатывало реле К2. Реле К2 может быть любым низковольтным (6...9 В) — чем меньше напряжение срабатывания, тем лучше. При выборе резистора R2 необходимо учитывать также рассеиваемую на нем мощность. Зная ток в цепи 0В и напряжение на резисторе, ее легко посчитать по формуле P=UI. Вместо К2 и R2 лучше применять выпускаемые промышленностью специальные токовые реле, но они из-за узкой области применения не всем доступны. Токовое реле несложно изготовить самостоятельно, намотав на большем герконе примерно 20 витков проводом ПЭЛ диаметром 0.7...1 мм. Для настройки схемы управления вместо якорной цепи мотора подключаем лампу мощностью 300...500 Вт и вольтметр. Необходимо убедиться в плавном изменении напряжения на лампе резистором R1 от нуля до максимума. Иногда, из-за разброса параметров однопереходного транзистора, может потребоваться подбор номинала конденсатора С2 (от 0,1 до 0,68 мкФ) и резистора R7 (R7 устанавливает при минимальном значении сопротивления R1 максимум напряжения на нагрузке). Если при правильном монтаже не открываются тиристоры, то необходимо поменять местами выводы во вторичных обмотках Т1. Неправильная фазировка управляющего напряжения, приходящего на тиристоры VS1 и VS2, не может их повредить. Для удобства контроля работы тиристоров управляющее напряжение допустимо подавать сначала на один тиристор, а потом на другой — если регулируется резистором R1 напряжение на нагрузке (лампе), фаза подключения импульсов управления правильная. При работе обоих тиристоров и настроенной схеме напряжение на нагрузке должно меняться от 0 до 190 В. На этом настройка закончена и можно подключать якорную цепь ЭМ.