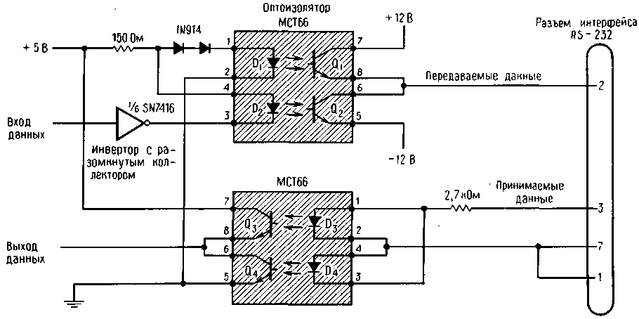
Быстродействующий интерфейс RC-232 с оптоизолятором.

Когда сигналы изолированного источника поступают на питаемый другим напряжением приемник, становятся необходимыми схемы сопряжения, обладающие малыми искажениями и хорошей помехоустойчивостью. К сожалению, такие схемы снижают скорость передачи данных. Правда, если для изоляции интерфейса RS-232 применить оптоизолятор МСТ66 фирмы General Instrument с двумя фототранзисторами, то можно все еще работать с относительно высокой скоростью - 9600 бит/с.


Puc.1

В интерфейсе RS-232 (см. часть рисунка 1) с оптической изоляцией применены МСТ66, два диода, инвертор и резистор. Если вместо транзисторов Q1 и О3 взять резисторы, подключив их к положительному полюсу источника питания, то длительности фронтов сигнала станут больше, и скорость передачи не превысит 1200 бит/с. Эта граница зависит от сопротивления резисторов и длины кабеля интерфейса. Однако, если сопротивления резисторов будут меньше 1 кОм, рассеиваемая мощность станет недопустимой.

Помимо того что эта схема позволяет достичь высокой скорости передачи данных, полярность ее сигнала можно изменить, не вводя еще один инвертор, но включив по-другому транзисторы Q1 и Q2 или Q3 и Q4 (схема 2).


Puc.2

Vojin G., Oklobdzija.
Фирма Xerox-Microelectronics (Эль-Сегандо, шт. Калифорния)

Назад