Изготовить несложный станок для намотки катушек трансформаторов и дросселей под силу каждому радиолюбителю, а приобрести удобный в работе счетчик витков удается не всем. Эту проблему поможет решить публикуемая здесь статья.
Устройство имеет небольшие размеры, совместимо с любым намоточным станком, как с ручным, так и с электрическим приводом. Прибор считает числа оборотов рабочего вала от 0 до 4095, может работать и в прямом, и в обратном направлениях вращения вала, имеет светодиодное цифровое табло с гашением незначащих нулей и кнопку обнуления.
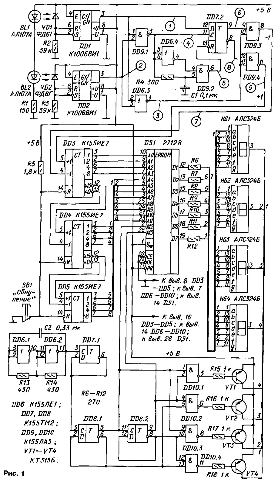
Принципиальная схема прибора представлена на рис. 1. В состав устройства входят реверсивный двенадцатиразрядный двоичный счетчик DD3— DD5, постоянное запоминающее устройство DS1, выполняющее функции мультиплексора, дешифратора состояния счетчиков, преобразователя двоичного кода в двоично-десятичный позиционный код для динамического управления индикатором с гашением незначащих нулей, селектор импульсов DD9, DD6.3, DD6.4, DD7.2, управляемый двумя оптоэлектронными инфракрасными датчиками BL1VD1. DD1 и BL2VD2, DD2, тактирующий генератор DD6.1, DD6.2 с делителем частоты на триггере DD7.1, счетчик импульсов DD8, четырехфазный дешифратор DD10, выходы которого нагружены усилителями тока VT1—VT4, коммутирующими светодиодные индикаторы HG1—HG4. В зависимости от состояния триггеров DD8.1, DD8.2 по входам А12 и А13 запоминающего устройства DS1 выбирается одна из его четырех областей памяти. Для индикации цифр в устройство записывают шестнадцатиричные числа согласно табл. 1. Знак X в ней обозначает гашение индикатора. Подробно этот принцип использования запоминающего устройства рассмотрен в [1]. Поскольку индикатор четырехразрядный, весь объем памяти разделен на четыре области, в которых записана соответствующая информация (табл. 2). Начиная с адреса 0000 заносят числа ряда 0, 1, 2.....8, 9, 0; 1, 2,... и т.д. до адреса OFFF, по которому должно записаться число 49, соответствующее цифре 5. Информация повторяется блоками 0000—004F, 0050— 009F, 00A0-00EF. С адреса 1000 заносят по 10 раз числа рядаХ,1,2,...,8,9,0;1,2,...ит. д. до адреса 1FFF, по которому должно записаться число 09 (цифра 9). Информация повторяется блоками 1000—118F, 1190—131F, 1320— 14AF. С адреса 2000 — по 100 раз числа ряда Х.1,2,...8,9,0,1,2,... и т. д. до 2FFF, по которому должно записаться число 03 (цифра 0). Информация повторяется блоками 2000 - 27CF, 27D0 - 2F9R 2FA0 - 2FFF. И наконец, с адреса 3000 — по 1000 раз числа ряда X, 1, 2,3, 4 до адреса 3FFF, по которому должно записаться число 99 (цифра 4). Информация повторяется блоками 3000—ЗЗЕ7, ЗЗЕ8—37CF, 37D0-3BB7, 3BB8-3F9F, 3FA0—3FFF. Содержимое памяти представлено фрагментами в табл. 3. Присутствие в начале каждой области (кроме первой) числа FF как раз и позволяет дешифратору выполнять функцию гашения незначащих нулей индикатора.
Таблииа1
|
Индицируемая цифра |
0 |
1 |
2 |
3 |
4 |
5 |
6 |
7 |
8 |
9 |
X |
|
Содержимое ППЗУ |
03 |
9F |
25 |
0D |
99 |
49 |
41 |
1F |
01 |
09 |
FF |
Для заполнения памяти с помощью программатора, совместимого с персональной ЭВМ, создают файл, в котором записана информация из "чистого" запоминающего устройства. Затем с помощью любого текстового редактора числа FF заменяют числами из табл. 1. Полупившийся в результате файл используют для программирования. К сожалению, примененный автором самодельный программатор не дает возможности вычислить контрольные суммы, поэтому они здесь не указаны.
Таблица 2
|
Индикация |
Адрес |
|
Единицы |
0000 — 0FFF |
|
Десятки |
1000 — 1FFF |
|
Сотни |
2000 — 2FFF |
|
Тысячи |
3000 — 3FFF |
При отсутствии микросхемы 27128 можно использовать К573РФ4 или 573РФ6, аналогично разделив их память на четыре области, но при этом максимальное индицируемое на табло число будет равно 2047. Допустимо нарастить объем памяти установкой двух таких микросхем, соединив их известным образом, но этот способ приведет к увеличению размеров устройства.
Датчик направления вращения вала намоточного станка, работающий совместно с селектором импульсов, представляет собой две оптопары BL1VD1, BL2VD2 и посаженный на вал диск—заслонку с секторным вырезом (рис. 2). Вращающийся диск—заслонка большую часть оборота перекрывает поток инфракрасных лучей от диодного излучателя (BL1, BL2) оптопары к своему фотодиоду (VD1, VD2). Угловая ширина выреза и размещение оптопар должны быть такими, чтобы при вращении диска в течение некоторого времени одновременно оба фотодиода были бы "засвечены" каждый своим излучателем (на рис. 2 условно снят один из компонентов каждой оптопары; стрелкой показано направление вращения вперед). Импульсы с фотоприемников VD1, VD2 поступают на входы триггеров Шмитта DD1, DD2. На элементах DD6.4. DD9.2 и цепи R4C1 собран формирователь коротких импульсов, обнуляющих триггер DD7.2 в конце каждого цикла работы селектора.
Временные диаграммы, иллюстрирующие работу селектора, представлены на рис. 3. Предположим, что ИК излучение сначала попадает на фотодиод VD1. На выходе триггера Шмитта DD1, а значит, и на входе D триггера DD7.2 установится низкий уровень. Это состояние триггера будет зафиксировано плюсовым перепадом с выхода элемента DD9.1, причем это произойдет после короткого промежутка времени, равного задержке распространения сигнала в элементе DD9.1. При дальнейшем вращении диска наступает момент, когда "освещенными" окажутся оба фотодиода. Высокий уровень с выхода элемента DD6.3 стробиру-ет элементы DD9.3, DD9.4. Так как на инверсном выходе триггера DD7.2 присутствует высокий уровень, то на выходе элемента DD9.4 появится импульс +1, увеличивающий на единицу состояние счетчика DD3— DD5 (прямой счет).
Таблица 3
|
0000 |
03 |
9F |
25 |
0D |
99 |
49 |
41 |
1F |
01 |
09 |
03 |
9F |
25 |
0D |
99 |
49 |
|
0FF0 |
03 |
9F |
25 |
0D |
99 |
49 |
41 |
1F |
01 |
09 |
03 |
9F |
25 |
0D |
99 |
49 |
|
1000 |
FF |
FF |
FF |
FF |
FF |
FF |
FF |
FF |
FF |
FF |
9F |
9F |
9F |
9F |
9F |
9F |
|
1FF0 |
01 |
01 |
01 |
01 |
01 |
01 |
01 |
01 |
01 |
01 |
09 |
09 |
09 |
09 |
09 |
09 |
|
2000 |
FF |
FF |
FF |
FF |
FF |
FF |
FF |
FF |
FF |
FF |
FF |
FF |
FF |
FF |
FF |
FF |
|
2FF0 |
03 |
03 |
03 |
03 |
03 |
03 |
03 |
03 |
03 |
03 |
03 |
03 |
03 |
03 |
03 |
03 |
|
3000 |
FF |
FF |
FF |
FF |
FF |
FF |
FF |
FF |
FF |
FF |
FF |
FF |
FF |
FF |
FF |
FF |
|
3FF0 |
99 |
99 |
99 |
99 |
99 |
99 |
99 |
99 |
99 |
99 |
99 |
99 |
99 |
99 |
99 |
99 |
При вращении намоточного вала станка в обратную сторону первым будет "освещен" фотодиод VD2, на выходе элемента DD9.1 появится плюсовой перепад. Поскольку к входу D триггера DD7.2 приложено напряжение высокого уровня, он останется а единичном состоянии. Поэтому стробирующий импульс с выхода элемента DD6.3 пройдет на выход элемента DD9.3 (-1) и уменьшит на единицу состояние счетчика DD3—DD5 (обратный счет). Цикл завершится возвращением триггера в исходное нулевое состояние под действием импульса с выхода элемента DD9.2. Емкость счетчика DD3—DD5 — 4096. Преобразование зафиксированного счетчиком двоичного числа в вид, удобный для считывания, выполняет запоминающее устройство DS1. Для всех возможных значений кода на выходах счетчика оно вырабатывает соответствующие комбинации сигналов, подаваемые на входы индикаторов. Динамический режим индикации предпочтителен с точки зрения увеличения долгоаечности индикаторов и снижения потребляемой устройством мощности.
Работой узла дешифрации—индикации управляет генератор, собранный на элементах DD6.1, DD6.2, DD7.1, и делитель частоты на триггерах DD8.1, DD8.2. Делитель частоты формирует кодовую последовательность чисел от 0 до 3, которые определяют нужную область памяти запоминающего устройства. Одновременно код этих чисел подают на четырехфазный дешифратор — коммутатор питания индикаторов, собранный на элементах DD10.1— DD10.4 и транзисторных усилителях тока VT1— VT4. Подобный принцип динамической индикации описан в [2]. Триггер DD7.1 — необязательный элемент генератора и если затрудняет разводку проводников платы, может быть исключен. При этом конденсатор С2 нужно заменить на другой емкостью 0,68 мкФ. В любом случае частота колебаний на входе С триггера DD8.1 не должна быть менее 400 Гц, чтобы не было заметно на глаз мерцания индикаторов.
Оптопары можно использовать готовые — от принтера D180 польского производства, от немецкого "Роботрона", от отечественных телетайпов РТА-80, ОУОД-200 или изготовить самостоятельно. И излучатель, и фотодиод каждой оптопары устанавливают в узких трубчатых тоннелях, которые располагают соосно. Конструкция и выбор материалов для изготовления оптопар должны обеспечивать независимость их работы от внешних источников света. Вместо указанных на схеме можно применить ИК излучатели серий АЛ 107, АЛ 108, АЛ 156, АЛ 164 и фотодиоды ФД256А, ФД263, КДФ111А. Очень компактным получается датчик, выполненный из деталей компьютерного манипулятора "мышь", так как в нем применен сдвоенный фотоприемник. В крайнем случае подойдут оптопары, составленные из лампы накаливания СМН-6 и фотодиода ФД-3. Ток через цепь излучателей BL1, BL2 устанавливают равным примерно 10 мА подборкой резистора R1. Резисторы R2, R3 подбирают такими, чтобы обеспечить четкую работу триггеров Шмитта DD1, DD2. В целом следует пользоваться рекомендациями, предложенными в [3, 4]. Все детали устройства, кроме оптопар и кнопки "Обнуление", собраны на двух платах размерами 70x50 и 70x30 мм из двустороннего стеклотекстолита толщиной 1 мм. Печатными проводниками разведены линии питания и некоторые короткие связи. Остальной монтаж выполнен навесными отрезками провода МГТФ. Все детали расположены очень компактно. Конденсаторы припаяны к выводам микросхем. Кнопку SB1 монтируют в месте, исключающем случайное нажатие.
Внешний вид намоточного станка в сборе представлен на фото (рис. 4).


Устройство питают от стабилизированного источника; потребляемый ток равен 250 мА. Обеспечить бесперебойное питание счетчика затруднительно, и наматывать каждую обмотку следует в один прием от начала до конца.
ЛИТЕРАТУРА
А. МАРИЕВИЧ, г. Воронеж