Киевский завод «Квазар» в 1989 г. приступил к выпуску «Микроконтроллера программируемого» — нового радиолюбительского набора конструктора из серии «Старт». Он представляет собой набор деталей и узлов для сборки электронного программируемого устройства. Собранный из набора комплекс аппаратуры имеет весьма широкие возможности использования. Он формирует и выполняет различные многошаговые программы, позволяет управлять электромеханическими игрушками-роботами, устройствами световых эффектов, проводить интересные эксперименты по автоматике. На его базе можно организовывать всевозможные логические игры. Радиоконструктор ориентирован на школьников и начинающих радиолюбителей, освоивших работу с печатным монтажом. Разнообразие игровых ситуаций, возможность творческого проявления своих способностей, достижение немедленных результатов работы — все это делает устройство интересной и полезной игрушкой, вводит юных в мир электроники и через игру формирует навыки обращения с программируемыми устройствами. В набор входят полностью собранная плата контроллера и две печатные платы с приложением комплекта радиоэлементов для сборки двух вариантов блока усилителей мощности исполнительного устройства. Собрать эти блоки юный техник сможет самостоятельно по прилагаемым схемам.
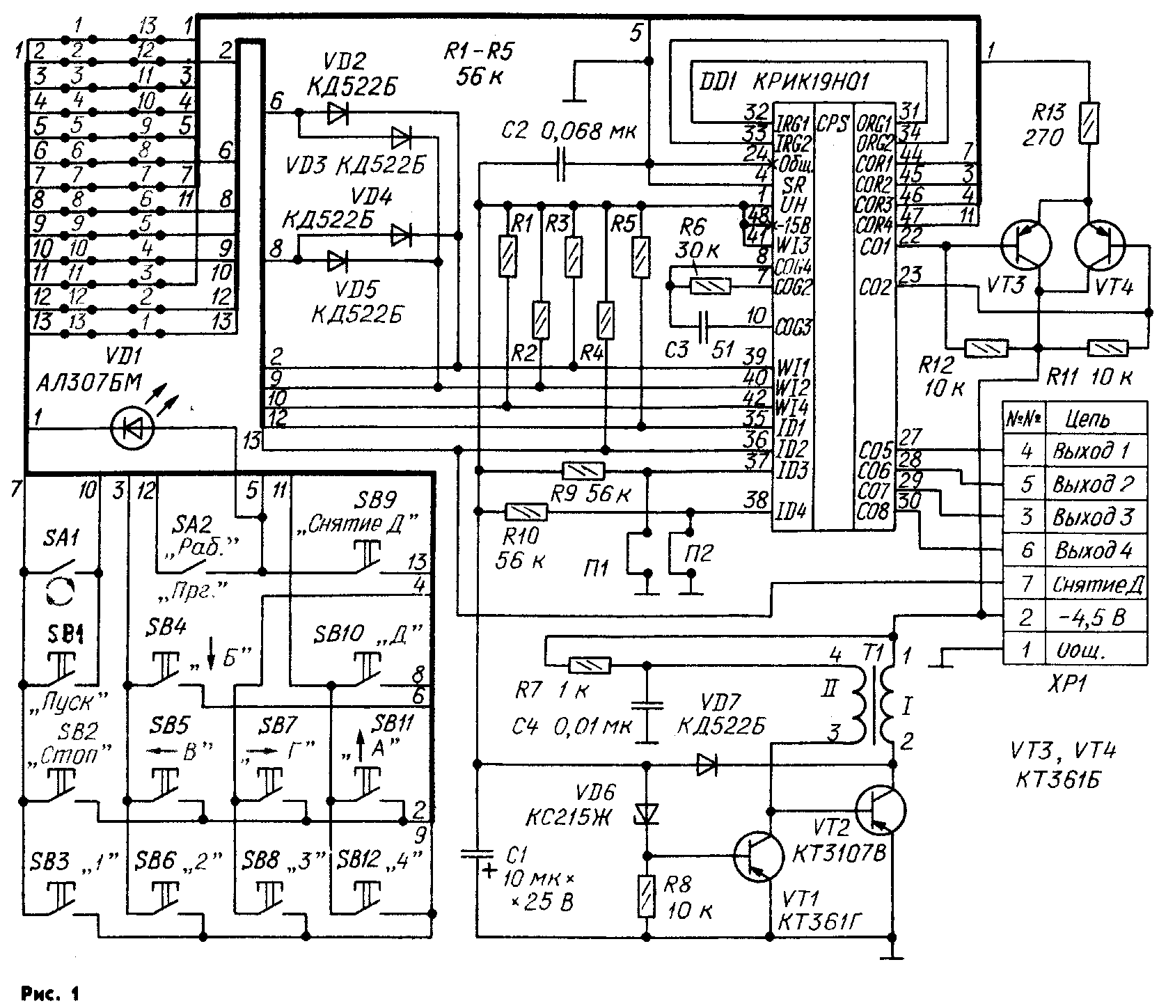
Контроллер состоит из трех функциональных узлов: собственно микроконтроллера с радиоэлементами, формирующими его режим, преобразователя напряжения с 4,5 на 15 В для питания микросхемы и клавиатуры для введения программы. Усилители мощности рассчитаны на совместную работу с устройствами, требующими тока управления до 450 мА. Источником питания комплекса может служить батарея гальванических элементов с общим напряжением 4,5 ±1,5 В (четыре элемента 343 или батарея 3336). Принципиальная схема контроллера (без усилителей мощности) изображена на рис. 1.
Преобразователь напряжения собран на транзисторах VT1, VT2 и трансформаторе Т1. Собственно микроконтроллер выполнен в виде однокристальной микро-ЭВМ последовательного действия, у которой математическое обеспечение ориентировано на решение задач управления. Эти задачи он решает путем выполнения вычислительных операций над исходной информацией и организации программных счетчиков и ветвлений по результатам ее обработки по программе, введенной в постоянное запоминающее устройство (ПЗУ) контроллера при его изготовлении. Кроме того, оперативное запоминающее устройство (ОЗУ) контроллера запоминает введенные команды, формирует временные интервалы, подает на выход сигналы управления. Для установки того или иного режима работы микросхемы в устройстве предусмотрены внешние радиоэлементы. Времяза-дающая цепь, состоящая из резистора R6 и конденсатора СЗ, определяет частоту фазогенера-тора контроллера. Режим работы микросхемы и длительность интервала выходных сигналов устанавливают выбором номиналов резисторов R3—R5, R9, R10 и установкой перемычек П1 и П2 согласно табл. 1. С выходов COR1—COR4 микросхемы на клавиатуру поступают сигналы четырех фаз. В зависимости от нажатой клавиши и положения переключателей SA1 и SA2 на входы W11, W12, W14, ID1, ID2 поступает сигнал соответствующей фазы, задавая таким образом команду для контроллера.
Таблица 1
| Интервал, с | Перемычка П1 | Перемычка П2 |
| 1,25 | Нет | Нет |
| 1,5 | Есть | Нет |
| 1,75 | Нет | Есть |
| 2 | Есть | Есть |
Таблица 2
| Выходы | Команды | |||||
| Д | Стоп | |||||
| СО5 | 1 | 0 | 1 | 0 | 0 | 0 |
| СО6 | 1 | 0 | 0 | 1 | 0 | 0 |
| СО7 | 0 | 0 | 0 | 0 | 1 | 1 |
| СО8 | 0 | 0 | 0 | 0 | 1 | 0 |
На диодах VD2—VD5 и резисторах R2, R3 собраны цепи,
обеспечивающие однозначность команд, подаваемых
клавишами «
Б» и «Д».
Для подтверждения принятия контроллером
команды, вводимой с клавиатуры, предусмотрен
индикатор контроля программирования, собранный
на транзисторах VT3, VT4, резисторах R11—R13 и
светодиоде VD1. При нажатии на каждую из клавиш
светодиод включается, а после отпускания гаснет.
При наборе тридцатого — последнего — шага
программы светодиод включается и после
отпускания клавиши не гаснет, сигнализируя об
окончании программирования. Распределение
уровней напряжения на выходах СО5— СО8
микросхемы DD1 в зависимости от введенной команды
с клавиатуры показано в табл. 2.
Преобразователь напряжения, питающий
микросхему DD1, выполнен по схеме
блокинг-генератора, преобразующего напряжение
источника питания (3...6 В) в повышенное переменное.
Собственно блокинг-генератор собран на
транзисторе VT2, а на VT1 выполнен стабилизатор
выходного напряжения. Импульсы
блокинг-генератора, снимаемые с коллектора
транзистора VT2, выпрямляет диод VD7 и сглаживает
конденсатор С1. При случайном изменении
выходного напряжения преобразователя
соответственно изменяется напряжение на
эмиттерном переходе транзистора VT1. Это приводит
к изменению коллекторного тока этого
транзистора, а значит, и соответствующей
коррекции режима блокинг-генератора, ведущей к
восстановлению установленного значения
выходного напряжения (15 В) преобразователя. Блок
клавиатуры состоит из двенадцати клавиш
введения программы и двух переключателей рода
работы. Переключателем SA2 «Прг» - «Раб» выбирают
нужный режим работы контроллера —
программирование или работа, то есть выполнение
введенной программы. Клавиши «
A», «
Б»,
«
В», «
Г» предназначены для
подачи команд управления. Стрелочная символика
удобна для команд управления
электромеханическими игрушками и указывает
направление движения (вперед, назад, влево,
вправо), а буквенная предпочтительна для
логических игр — буквами символизируют
задаваемые команды. Клавишей «Стоп» подают
команду остановки. Клавиши управления «
A», «
В», «
Г»
используют совместно с клавишами «1», «2», «3», «4»
для задания команды и времени ее выполнения.
Клавишами «Стоп» и «
Б», задают команды с временем
выполнения 1,25 с после одиночного нажатия.
Выполнение программы начинается по нажатию на
клавишу «Пуск» только при однократном режиме
выполнения программы. Нажатием на клавишу «Д»
вводят команду прерывания выполнения программы
с одновременным включением исполнительного
устройства, реализующего команду Д. Продолжение
выполнения программы происходит после снятия
команды Д исполнительным устройством — после
замыкания контакта 7 разъема ХР1 на общий провод
— или после нажатия на клавишу «СД» (Снятие
команды Д) на клавиатуре контроллера.
Переключателем SA1 устанавливают многократно
повторяемый (при замкнутых контактах) или
однократный режим выполнения программы. Перед
введением программы переключатель SA2
устанавливают в положение «Прг», а переключатель
SA1 — в положение однократного режима.
В наборе-конструкторе контроллер и клавиатура собраны на общей удлиненной плате. Если требуется применять клавиатуру в виде самостоятельного конструктивного блока, плату можно распилить на две части по специально предусмотренному контактному полю 1 —13 и в отверстия поля впаять контактные штыри, входящие в комплект конструктора. Блок усилителей мощности позволяет подключать к маломощным выходам контроллера нагрузку, потребляющую значительный ток.
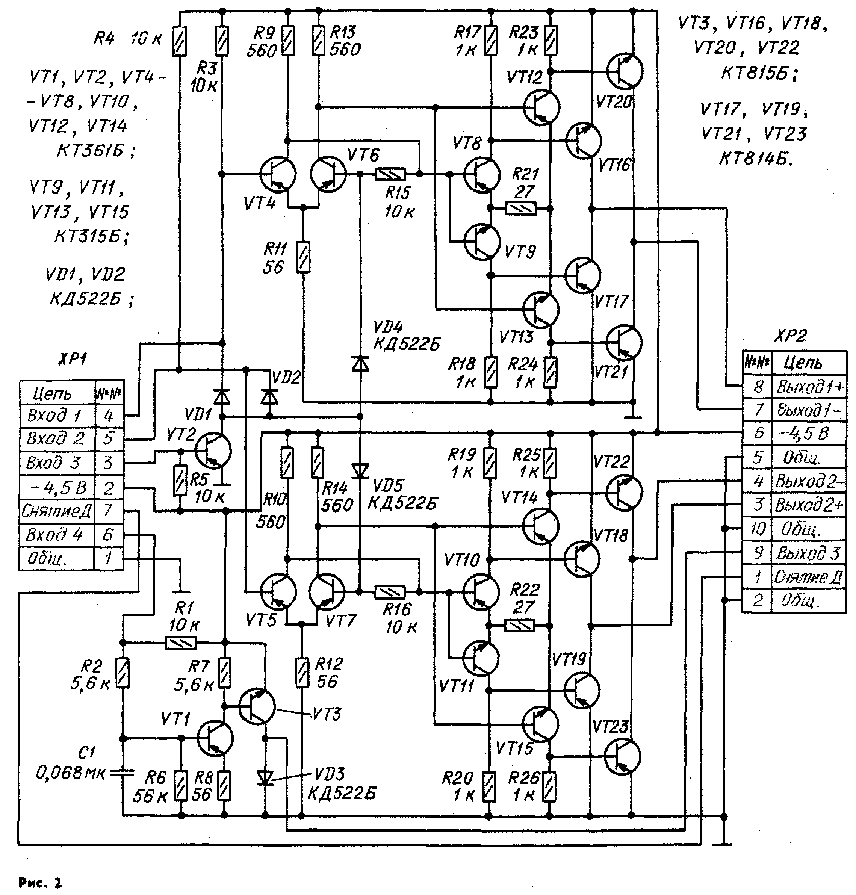
Первый вариант блока усилителей (его схема показана на рис. 2) предусматривает возможность управления двумя реверсивными электродвигателями (с изменением направления вращения ротора) и исполнительным устройством (электродвигатель, электромагнит и т. п.), приводимым в действие по команде Д, с током нагрузки до 450 мА каждый. Для управления электродвигателями предназначены два идентичных усилителя (VT4, VT6, VT8, VT9, VT12, VT13, VT16, VT17, VT20, VT21 и VT5, VT7, VT10, VT11, VT14, VT15, VT18, VT19, VT22, VT23). Усилители собраны по традиционной мостовой схеме. Нагрузку (электродвигатели) подключают к диагонали моста из транзисторов (VT16, VT17, VT20, VT21 и VT18, VT19, VT22, VT23). Узел на транзисторе VT2 блокирует входы усилителей при поступлении на вход команд Стоп или Д, что соответствует уровню 1 на выходе СО7 контроллера. В этот момент транзистор VT2 открывается и подключает базу транзисторов VT4—VT7 к общему проводу через диоды VD1, VD2, VD4, VD5, закрывая оба мостовых усилителя. Третий усилитель блока собран на транзисторах VT1, VT3. При команде Д отрицательное напряжение (4,5 В) на Входе 4 ХР1 открывает транзистор VT1, а вслед за ним и VT3. Открывшийся транзистор VT3 подключает питание к нагрузке, подключенной к Выходу 3 ХР2. Диод VD3 защищает транзистор VT3 от пробоя всплесками напряжения, которые могут появиться при индуктивной нагрузке усилителя (реле, электромагнит, электродвигатель).
Схема второго варианта блока усилителей показана на рис. 3. Блок предоставляет возможность управлять четырьмя исполнительными элементами и состоит из четырех идентичных усилителей на ток нагрузки до 450 мА. При подаче на Вход 1 ХР1 сигнала с уровнем логической 1 транзистор VT5 открывается. Вслед за ним открывается транзистор VT7, подключая к источнику питания цепь нагрузки, соединенную с Выходом 1 ХР2. Аналогично работают и остальные усилители блока. Диоды VD1—VD4 защищают выходные транзисторы усилителей от пробоя при индуктивной нагрузке. В зависимости от кода команды на входе этот вариант блока усилителей может одновременно подключать один или два исполнительных элемента.
Функциональная схема комплекса в обоих вариантах показана на рис. 4. Плату блока усилителей соединяют с контроллером и исполнительным устройством жгутом проводников. Проводники припаивают к специальным штырям, впаиваемым в отверстия на краях плат. Комплект штырей для этой цели имеется в наборе. Можно впаивать концы проводников и непосредственно в отверстия платы. В исполнительном устройстве варианта 1 можно использовать электродвигатели ДИ1-2, широко применяемые в моделизме. Микропереключатель SB1 может быть установлен так, что перемещающееся звено механизма в крайнем положении будет замыкать контакты, снимая команду Д и останавливая тем самым электродвигатель M1. Параллельно этому переключателю можно установить еще один для фиксации второго крайнего положения звена. Не исключено и ручное снятие команды Д.
Устройство позволяет реализовать программное управление электромеханическими моделями или игрушками-роботами, выполняющими сложные движения. Так, например, электродвигатели М2 и МЗ могут находиться в пяти различных состояниях: роторы не вращаются — модель неподвижна; оба ротора вращаются в одну сторону — модель движется вперед; оба вращаются в противоположную сторону — назад; роторы вращаются в разные стороны — движение, предположим, влево; то же, но направление вращения каждого изменилось на противоположное — вправо. Все эти команды соответствуют различным сочетаниям уровней 1 и О на выходах контроллера. Во втором варианте исполнительного устройства (рис. 4) могут быть использованы лампы на напряжение до 6,3 В в зависимости от того, сколько элементов в батарее GB1.
В радиоконструкторе применены резисторы МЛТ, конденсаторы К10-7В и К50-16. Микропереключатели на плате контроллера — ПД9-2. Трансформатор Т1 преобразователя выполнен в броневом магнитопроводе Б11 из феррита 2000НМ. Обмотка I содержит 50 витков, а II — 10 витков провода ПЭВ-2 0,1. Обе обмотки наматывают в одну сторону, сначала I, затем II. Между чашками магнитопро-вода при сборке установлена диэлектрическая прокладка толщиной 0,05...0,1 мм. В устройстве можно использовать любые транзисторы из серий, указанных на схеме. Правильно смонтированный радиоконструктор в налаживании не нуждается и начинает работать сразу же после подключения питания.
Как уже было упомянуто, в память контроллера
можно ввести шесть независимых команд и четыре
различных интервала времени. Объем памяти — 30
шагов. Под шагом надо подразумевать выполнение
контроллером любой из команд, набранной на
клавиатуре. Рассмотрим некоторые простые
варианты команд на примере исполнительного
устройства варианта 1. По шагу
A—1 роторы двух электродвигателей —
М2 и МЗ — вращаются в одну сторону (предположим,
по часовой стрелке) в течение одной секунды, по
шагу
В—2 якори будут
вращаться в разные стороны 2 с, а по шагу
Г—3 направление
вращения каждого двигателя изменится на
обратное, а время работы их будет равно 3 с. При
шагеАБ роторы обоих двигателей в течение 1 с
будут вращаться против часовой стрелки, но если
на клавишу
Б нажать
два или более раз, то время увеличится до двух или
более секунд. При шаге Стоп оба двигателя на 1 с
(или на большее время в зависимости от числа
нажатий на клавишу «Стоп» при наборе программы)
будут выключены. Шаг Д приведет к включению
электродвигателя M1, который будет работать до
тех пор, пока не замкнутся контакты конечного
выключателя SB1 или пока не будет нажата клавиша
«СД» (Снятие Д). При этом двигатели М2 и МЗ на время
отработки команды Д остаются выключенными. Если
программа выполняется при замкнутых контактах
переключателя SA1, то после выполнения команды СД
последовательность шагов будет повторяться
многократно до отключения питания.
Н. РАБЦУН, П. АЛЕКСЕЕНКО, А. ЩЕРБАКОВ, А. ХОЛОД, г. Киев
РАДИО № 10, 1990 г.