Цифровая система радиоуправления с частотным кодированием.

Наиболее распространенный тип систем радиоуправления моделями - системы, построенные на принципе частотного кодирования. В такой системе каждой команде соответствует строго определенная частота модулирующего сигнала. Кодер такой системы представляет собой мультивибратор, частота которого меняется при помощи нескольких кнопок подачи команд или при помощи переменного резистора. Декодер, обычно, состоит из набора RC или LC фильтров (почти как в цветомузыкальной установке), которые выделяют сигналы команд и направляют их на электронные ключи, управляющие нагрузками. Описываемая в этой статье система построена на аналогичном принципе (каждой команде соответствует определенная частота модуляции), но роль декодера в ней выполняет своеобразный упрощенный цифровой частотомер. Система кодирования, построенная на таком принципе подробно описана в Л.1.

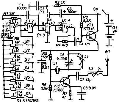
Принципиальная схема передающего пульта показана на рисунке 1. Собственно передатчик построен по однокаскадной схеме на транзисторе VT2. Колебательный контур L1C6, включенные в его коллекторную цепь настроен на частоту несущей. Частота несущей определяется частотой резонанса кварцевого резонатора Q1 (в данном случае 27,12 МГц). Частота резонанса Q1 должна быть равна частоте несущей или быть в два раза ее меньше, в первом случае генератор на VT2 работает на основной гармонике резонатора, а во втором на его второй гармонике. Например, для частоты несущей равной 27 МГц можно взять резонатор на 27 МГц или на 13,5 МГц.


Puc.1

Передатчик однокаскадный, транзистор VT2 выполняет роль и задающего генератора и усилителя мощности. ВЧ-переменное напряжение с коллектора VT2 поступает через развязывающий конденсатор С7 и удлинительную согласующую катушку L2 в антенну W1 роль которой выполняет один "ус" от старой телевизионной телескопической антенны. Длина "уса" в выдвинутом состоянии около 1 метра.

Амплитудный модулятор выполнен на транзисторе VT1. Этот транзистор включен в разрыв цепи питания передатчика. Напряжение смещения на его базе установлено резистором R3 таким образом, что при отсутствии переменного модулирующего напряжения на базе VT1, он находится в почти открытом состоянии. При этом на передатчик поступает примерно 3/4 напряжения питания. При подаче на базу VT1 переменного напряжения от кодера он начинает то более сильно открываться, то частично закрываться. При этом соответствующим образом меняется напряжение питания передатчика, и следовательно, мощность его излучения. Таким образом выполняется амплитудная модуляция высокочастотного сигнала, поступающего в антенну.

Кодер выполнен на микросхеме D1. Он представляет собой мультивибратор, частота которого зависит от емкости С1 и сопротивления резистора, включенного между входом и выходом элемента D1.1. При помощи семи подстроечных резисторов R6-R14 и семи кнопок S1-S7 можно задать семь разных частот, лежащих в пределах 500-3000 Гц. Этими частотами и будут кодироваться семь различных команд, которые можно передавать при помощи передающего пульта.

Питается передающий пульт от батареи напряжением 9В из шести элементов типа А332 или двух "плоских" батареек.

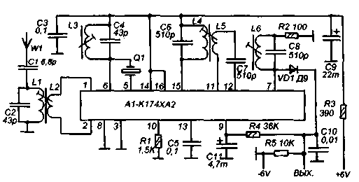
Приемник состоит из приемного тракта на микросхеме К174ХА2 и декодера, построенного по схеме упрощенного частотомера. Приемный тракт целиком заимствован из Л2. Принципиальная схема приемного тракта показана на рисунке 2. Он построен на многофункциональной микросхеме А1 - К174ХА2 по упрощенной типовой схеме.


Puc.2

Сигнал от антенны W1, роль которой выполняет тонкая стальная спица длиной около 0,5 метра, поступает во входной контур L1С2. Контур настроен на частоту несущей передатчика. Выделенный сигнал через катушку связи L2 поступает на симметричный вход УРЧ балансного смесителя микросхемы А1. Гетеродин также входит в состав микросхемы. Схема обвязки гетеродина отличается от типовой наличием в цепи обратной связи кварцевого резонатора Q1, стабилизирующего частоту гетеродина. На выходе гетеродина включен контур L3С4, настроенный на частоту гетеродина. В данном случае в гетеродине используется кварцевый резонатор на 26,655 МГц (с учетом промежуточной частоты 465 кГц и частоты несущей 27,12 МГц). Но в этой схеме можно использовать и резонаторы на другие частоты учитывая другие несущие и промежуточные частоты например, при частоте несущей 27 МГц (если резонатор в передатчике на 13,5 МГц), можно использовать резонатор в приемнике на 13,2 МГц, тогда частота гетеродина будет равна 26,4 МГц, а промежуточная частота 600 кГц. Но при этом необходимо контура L4C6 и L6C8 перестроить с ПЧ 465 кГц на ПЧ 600 кГц.

Сигнал промежуточной частоты выделяется на выводе 15 А1 и поступает в контур L4C6, настроенный на ПЧ = 465 кГц. В данной схеме нет пъезокерамического фильтра. С одной стороны это неблагоприятно сказывается на селективности тракта по соседнему каналу, но с другой стороны обеспечивается более высокая чувствительность из отсутствия потерь в фильтре, и имеется возможность выбирать любую ПЧ в пределах 300-1000 кГц взависимости от того, какие кварцевые резонаторы имеются в наличии. При необходимости, всегда можно в схему ввести пьезокерамический фильтр на 465 кГц, заменив им конденсатор С7. В любом случае, селективность по соседнему каналу такого приемного тракта значительно выше, чем у привычных, применяемых для систем радиоуправления, сверхрегенеративных приемников.

Через конденсатор С7 выделенное напряжение ПЧ поступает, через выводы 11 и 12 А1, на вход усилителя ПЧ микросхемы. На выходе УПЧ (вывод 7) включен преддетекторный контур L6 С8, настроенный, как и L4 С6 на промежуточную частоту (в данном случае на 465 кГц). Детектор выполнен по однополупериодной схеме на германиевом диоде VD1. Низкочастотное напряжение, амплитудой около 100 мВ, выделяется на конденсаторе С10, и поступает на выход радиотракта. Корме того, это напряжение интегрируется цепью R4 СИ для получения постоянного напряжения АРУ, которое подается на вывод 9 микросхемы А1. Вторая цепь АРУ (вывод 10) микросхемы К174ХА2 в данной схеме, с целью упрощения, не используется.

Дальность уверенной связи между передатчиком и приемным трактом получается около 300-500 метров в зоне прямой видимости. Над водой дальность связи еще увеличивается. При наличии таких мощных источников помех, как коллекторные двигатели, подключенные без LC-фильтров, дальность в зоне прямой видимости снижается до 100-200 метров взависимости от уровня помех.

Плату радиоприемного тракта желательно заключить в латунный или жестяной экран.

Напряжение питания приемного тракта 6-9В, при этом. В качестве источника питания можно использовать батарею типа "Крона" или батарею, составленную из дисковых аккумуляторов или отдельных гальванических элементов типа A316. Эта же батарея используется для питания цифровой части декодера.

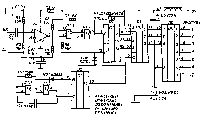
Принципиальная схема цифрового декодера показана на рисунке 3.


Puc.3

Переменное напряжение с выхода приемного тракта поступает на усилитель-ограничитель на операционном усилителе А1. Напряжение преобразуется в импульсы произвольной формы, и далее поступает на триггер Шмидта на элементах 01.3 и D1.4, которые придают этому сигналу окончательную форму прямоугольных импульсов МОП-логики. Триггер Шмидта управляемый, он функционирует, когда на вывод 9 D1.4 поступает логический ноль и становится невосприимчивым к входным импульсам, когда на этот вывод поступает единица. Таким образом, изменяя уровень на выводе 9 D1.4 можно управлять прохождением импульсов на вход счетчика D3. Счетчик D3 служит для подсчета числа импульсов, поступивших на вход декодера в течении измерительного промежутка времени. Измерительный промежуток времени задается при помощи мультивибратора на D1.1 и D1.2 и счетчика D2. Предположим, в исходном состоянии, элемент D1.4 открыт и идет подсчет импульсов счетчиком D3. В это время на выходе D2 будет логический ноль. На счетный вход D3 постоянно поступают импульсы от мультивибратора на D1.1 и D1.2. Как только D2 досчитает до 32-х на его выходе появляется единица. Эта единица поступает одновременно на вывод D1.4 и на вывод 6 регистра D4. прекращается поступление импульсов на вход D3 и код с выходов счетчика D3 переносится в память регистра D4. Это длится в течении полупериода импульсов на выходе мультивибратора, пока на выходе D1.1 логический ноль. Затем состояние этого выхода меняется на единицу. Это приводит к тому, что оказываются закрытыми оба диода VD1 и VD2. В точке их соединения с R8 возникает единичный импульс, который оба счетчика D2 и D3 устанавливает в нулевое положение. После этого D1.4 открывается и начинается новый период подсчета входных импульсов.

Таким образом, в каждый момент времени в регистре D4 будет храниться код результата последнего измерения входной частоты. Если частота не меняется, этот код, периодически обновляясь будет оставаться одним и тем же. Если частота изменится, то через время, равное 32-м периодам импульсов на выходе мультивибратора на D1.3 и D1.4, изменится и код, хранящийся в регистре. Дешифратор D5 служит для преобразования этого кода в более доступную десятичную форму.

Для определения частоты используются только три последних старших разряда счетчика D3, при этом, получается так, что первые семь входных импульсов никак не учитываются. Такое "загрубление" измерения частоты сделано намеренно, чтобы исключить ошибки от температурной расстройки мультивибраторов кодера и декодера, а также от всевозможных помех и наводок.

Питается декодер от того же источника, что и приемный тракт напряжением 6...9В. Индуктивность L1 служит для уменьшения помех от исполнительных устройств. Исполнительные устройства должны управляться транзисторными ключами, рассчитанными на подачу на их входы логических единиц МОП-логики.

Все детали (кроме транзисторных ключей) смонтированы на трех печатных платах. На одной плате все детали передающего пульта (кроме антенны, кнопок и источника питания), на второй плате - радиоприемный тракт, и на третей - декодер. Монтаж ведется на односторонних печатных платах. Плата декодера выполнена компактно, и из-за невозможности нанести тонкие дорожки значительная часть соединений на ней выполнена тонкими монтажными проводами.

В передающем пульте используются подстроечные резисторы типа РП-1-63 или другие аналогичные. Кнопки сделаны из сборки переключателей П2-К из семи модулей, в которой удалена пластина зависимой фиксации (так, чтобы кнопки не фиксировались в нажатом положении). Микросхему К176ЛЕ5 можно заменить на К176ЛА7, К561ЛЕ5, К561ЛА7. Транзистор КТ608 можно заменить на КТ603, KТ630. Транзистор КТ815 - на КТ817, КТ801. Как выбирается кварцевый резо-натор описано выше. Для намотки катушек L1 и L2 передатчика используются каркасы с подстроечными сердечниками от контуров декодеров цветности телевизоров 3-УСЦТ, но без экранов. Катушка L1 содержит 12 витков, а L2 - 22 витка, наматывается проводом ПЭВ 0,31.

Контурные катушки приемного тракта наматываются на таких же каркасах, но с экранами. Экраны обозначены на монтажной схеме пунктирными линиями. Катушки L1 и L3 содержат по 9 витков. L2 содержит 3 витка, намотанных поверх L1. Провод - ПЭВ 0,31. Катушки L4 и L6 применительно к промежуточной частоте 465 кГц содержат по 120 витков провода ПЭВ 0,12, намотанных виток к витку в два слоя. Катушка L5 намотана поверх L4, она содержит 10 витков ПЭВ 0,12.

В декодере операционный усилитель К554УД2А можно заменить на К554УД2Б или К140УД6, К140УД7. Микросхему К176ЛЕ5 можно заменить на К561ЛЕ5. Счетчики К176ИЕ1 прямой замены не имеют, но при необходимости каждую микросхему К176ИЕ1 можно заменить на К561ИЕ10, включив оба счетчика микросхемы К561ИЕ10 последовательно, так чтобы имелись выходы с весовыми коэффициентами 16 и 32. Регистр К561ИР9 можно заменить на К176ИР9, или с изменением разводки на К176ИРЗ или на микросхему К561ИЕ11, включив её только в режиме предустановки, но для записи информации нужно будет схему дополнить RC-цепью формирующей короткий импульс записи на её выводе 1. Дешифратор К176ИД1 можно заменить на К561ИД1 или на демультиплексор К561КП2, в соответствующем включении.

Помехоподавляющий дроссель L1 намотан на ферритовом кольце диаметром 17-23 мм, содержит 300 витков провода ПЭВ 0,12.

Настройку нужно начинать с передающего пульта (рисунок 1). Отключив один из выводов резистора R4 подберите сопротивление R3 таким образом, чтобы напряжение на эмиттере транзистора VT1 было, примерно, равно 3/4 напряжения питания. Затем приступайте к настройке передатчика. Подключите к нему полностью выдвинутую антенну. Для контроля за излучением передатчика удобно пользоваться осциллографом типа С1-65А, на входе которого, вместо кабеля с щупами, подключите объемную катушку из намоточного провода диаметром 0,5-1 мм. Катушка должна иметь диаметр около 50-70 мм, число витков 3-5. Один вывод катушки подсоедините к "земляной" клемме осциллографа, а второй вывод вставьте в центральное отверстие его входного разъема. Расположите передатчик вместе с антенной на расстоянии около 0,5 метра от катушки осциллографа и "поймайте" осциллографом сигнал передатчика. Последовательно подстраивая катушки L1 и L2, а также и конденсатор С6 добейтесь появления на экране осциллографа правильного синусоидального сигнала основной частоты (ошибочно, можно передатчик настроить на гармонику) наибольшей амплитуды. Затем восстановите соединение R4 и проверьте наличие амплитудной модуляции.

Нажмите одну из кнопок S1-S7 и установите соответствующий подстроечный резистор в положение максимального сопротивления. Частота импульсов на выводе 10 D1 должна быть около 500 Гц, установите такую частоту подбором номинала С1.

Настройку приемного тракта производите по общепринятой методике (настройка контуров ПЧ, настройка входного и гетеродинного контура).

Настройку декодера (рисунок 3) производите с подключенным к нему настроенным приемным трактом и по сигналу передатчика. Включите передатчик, он будет излучать амплитудно-модулированный сигнал, который будет принимать приемный тракт. Подбором номинала R1 добейтесь появления правильных прямоугольных импульсов на выходе D1.4 (при нуле на выводе 9 D1.4). Далее, (рисунок 1) нажмите кнопку первой команды S1 и установите движок резистора R6 в положение, близкое к положению максимального сопротивления и замкните кнопку S1 перемычкой. Теперь (рисунок 3) подберите такое сопротивление R9, при котором на выводе 14 D5 будет единица.

Далее, разомкните S1, и последовательно замыкая другие кнопки, подстройте их резисторы так, чтобы на соответствующих выходах дешифратора декодера были единицы.

На этом настройку системы радиоуправления можно считать законченной.

Литература:

1. Кожановский С Д. "Система частотного кодирования", РадиоКонструктор № 11,99.
2. Каравкин В. "Простая СВ-Радиостанция с амплитудной модуляцией", РадиоКонструктор № 1, 2001.

Каравши В., РадиоКонструктор № 2, 2001

Назад