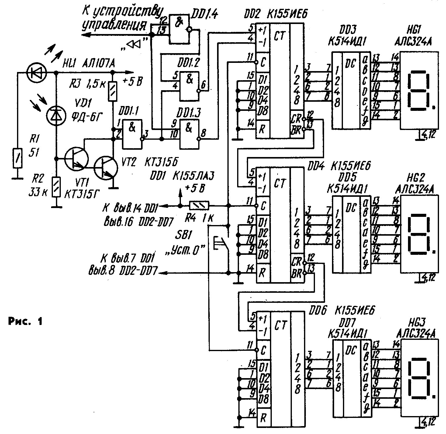
Предлагаемый вариант реверсивного счетчика условного метража ленты позволяет в стационарных магнитофонах повысить точность нахождения нужного участка фонограммы, повысить заметность индикации (что важно для работы в затемненных помещениях), в ряде случаев выполнять роль индикатора включенного состояния магнитофона. Он может быть применен в магнитофонах с электронным управлением режимами ЛПМ, прост по конструкции и надежен в работе. Принципиальная схема устройства показана на рис. 1. Датчик, вырабатывающий импульсы для счета, состоит из оптопары (светодиод HL1 и фотодиод VD1) и закрепленного на оси с диаметром d шкива с отверстиями (рис. 2). При работе ЛПМ резиновым пассиком на шкив передается вращение. При работе датчика на выходе элемента DD1.1 формируются импульсы, которые управляют работой электронных ключей на DD1.2 и DD1.3. При воспроизведении (записи) или перемотке магнитной ленты вперед от блока управления режимами магнитофона к выводам 12, 13 элемента DD1.4 подается сигнал с уровнем логического 0. В этом случае сформированные импульсы датчика поступают на вход счетчика (микросхема DD2, вывод 5) и осуществляется счет импульсов в сторону возрастания показания индикатора (движение магнитной ленты в прямом направлении). Трехразрядная индикация реализуется применением трех счетчиков (микросхемы DD2, DD4, DD6). При перемотке ленты назад к выводам 1 2, 1 3 элемента DD1.4 подается сигнал с уровнем логической 1. В этом случае импульсы датчика поступают на вход—1 счетчика (микросхема DD2 вывод 4), в результате осуществляется счет с убыванием показания индикатора (движение ленты в обратном направлении). Светодиодные индикаторы HG1 — HG3 включены через дешифраторы сооветствующих разрядов DD3, DD5, DD7. Для сброса показаний индикатора следует кратковременно нажать кнопку SB1. В конструкции счетчика использованы резисторы МЛТ-0,125.

В оптопаре, кроме указанных на схеме элементов, можно применить в качестве источника света миниаютюрную лампу накаливания СМН-6-20, СМН-6-55, СМН-6-80 (с соответствующим подбором резистора R1 или даже его исключением) и в качестве фотоприемника фотодиод ФД-3. Вместо транзисторов КТ315Б возможно использование других маломощных кремниевых транзисторов— КТ312, КТ342, КТ3102. Светодиодные индикаторы АЛС324А можно заменить на АЛС324Б, но при этом микросхемы К514ИД1 должны быть заменены на К514ИД2 и в цепи каждого катода индика торов включены токоограничивающие резисторы с сопротивлением 180 Ом.

В качестве кнопки SB1 использован микропереключатель МПЗ-1. Сборка датчика импульсов производится соосно с отверстиями в шкиве. Количество отверстий рассчитывают по формуле
N=Rj/2Ri,
где: Ri — радиус шкива ЛПМ, с которого передается вращение, см;
Rz — радиус шкива датчика, см;
N — количество отверстий, шт. (в случае получения дробного значения округлить до целого большего).
С. БАСАЛАЕВ, г. Бердск, РАДИО 6,90
От редакции. Предложенному варианту счетчика свойственны те же недостатки, о которых мы рассказывали в примечании к предложению харьковских радиолюбителей «Упрощение счетчика времени звучания» («Радио», 1987, № 1, с. 42). Речь идет об инерции вращения катушек (в катушечных магнитофонах),- когда счетчик уже перестает считать, она приводит к погрешностям и их накоплению. И для данной конструкции счетчика необходима тщательная регулировка тормозных устройств подкатушечных узлов.