Автомат для теплицы.

Трудно переоценить роль, которую играют сегодня теплицы: круглый год поставляют они к нашему столу свежие овощи, а к праздникам — цветы. Однако содержание теплицы — дело дорогостоящее и многотрудное. Уменьшить трудозатраты, снизить расход электроэнергии и воды поможет предлагаемый вниманию читателей автомат. В заданное время он включит и выключит электрический свет, обеспечит установленные температурный режим и оптимальную влажность корнеобитаемого слоя почвы. Если в дневное время окажется достаточно естественного освещения, автомат выключит электрическое. Для приближения к естественным условиям предусмотрена возможность установки «ночной» температуры на несколько градусов ниже «дневной». Устройство состоит из трех функциональных частей: таймера, блока автоматики и источника питания.

Принципиальная схема таймера изображена на рис.1. Его основа — электронные часы из радиоконструктора «Старт 7176» [Л] (соединения микросхемы DD1 с цифровым индикатором HG1 для простоты не показаны). Часы дополнены двумя триггерами (микросхема DD2), таким же числом эмиттерных повторителей (VТ1, VТ2) и светодиодных индикаторов (НL1, НL2). Кнопка вызова на табло времени установки будильника 1 обозначена здесь буквой «Д» («День»), будильника 2 — буквой «Н» («Ночь»). Дополнительно введена кнопка SВ7 «Д/Н», позволяющая в любое время установить в теплице режим «дня» или «ночи».

В положении кнопки SВ7, показанном на схеме, RS-триггер DD2.1 находится в единичном состоянии, когда на его инверсном выходе (вывод 12) напряжение низкого логического уровня. При каждом нажатии на кнопку на этом выходе появляется сигнал высокого уровня и триггер DD2.2 переключается то в единичное (напряжение высокого уровня на прямом выходе), то в нулевое состояние (такое же напряжение на инверсном выходе). В результате открывается транзистор VТ1 или VТ2, и возникающее на его эмиттере напряжение положительной полярности поступает на вход соответствующего канала блока автоматики. Состояния триггера индицируют светодиоды НL1 и НL2. Автоматическая смена «дня» и «ночи» происходит под действием сигналов, снимаемых с выводов 27 и 28 микросхемы DD1. Питание микросхемы DD1 необычно: требуемое напряжение 27 В получено от соединенных встречно-последовательно источников напряжением +9 и —18 В (по отношению к общему проводу). Через диод VD1 вывод питания 48 соединен с выводом 1, а через VD2 — с резервным источником питания — аккумуляторной батареей GВ1, что позволяет сохранить отсчет текущего времени при пропадании напряжения в сети. Ток, протекающий через резистор R5, компенсирует ток саморазрядки батареи [Л].

Принципиальная схема блока автоматики показана на рис. 2. Он содержит каналы регулирования освещенности, температуры воздуха и влажности почвы. Каждый из каналов включает в себя измерительный мост с датчиком регулируемого параметра, компаратор на основе ОУ и транзисторный усилитель тока, нагруженный электромагнитным реле и включенным последовательно с его обмоткой светодиодом — индикатором состояния канала. Неинвертирующие входы ОУ подключены к ветвям мостов, содержащим датчики, инвертирующие — к ветвям, представляющим собой регулируемые делители напряжения питания (оно поэтому должно быть стабилизированным). Если значение регулируемого параметра ниже заданного, напряжение на неинвертирующем входе ОУ больше, чем на инвертирующем и выходное напряжение компаратора близко к +24 В, а если, наоборот, выше,— к нулю. В первом случае транзистор усилителя тока открыт, реле включено и цепь питания исполнительного устройства замкнута, во втором — транзистор закрыт и исполнительное устройство выключено. Диоды, шунтирующие обмотку реле, защищают транзисторы от всплесков напряжения самоиндукции, возникающих в моменты закрывания транзисторов. Канал регулирования температуры воздуха выполнен на ОУ DА1 и транзисторах VТ1, VТ2. Измерительный мост образован резисторами R1 — RЗ (они установлены на пульте управления), R13, R16 и терморезистором RК1. Требуемую температуру устанавливают переменным резистором R2. Чем ближе его движок к нижнему (по схеме) выводу, тем выше значение температуры, при которой переключается компаратор на ОУ DА1. В режиме «ночь» с выхода таймера (с эмиттера транзистора VТ1) через делитель R17R20 на базу транзистора VТ1 блока автоматики поступает напряжение высокого уровня, поэтому он открыт и шунтирует часть подстроечного резистора R16, включенную между движком и общим проводом. Вследствие этого компаратор изменяет свое состояние при более низкой температуре, чем «днем». Чем ближе движок резистора R16 к левому (по схеме) выводу, тем больше разница между «дневной» и «ночной» температурами.

Поскольку расстояние от блока до датчика может достигать нескольких десятков метров, не исключены наводки переменного тока на соединительные провода. Чтобы эти наводки не влияли на точность поддержания температуры (погрешность не должна превышать ±1°С), терморезистор RК1 подключен к компаратору через фильтр R15С1. Этой же цели служит конденсатор С4, создающий отрицательную ОС по переменному току.

Канал регулирования освещенности собран на ОУ DА2 и транзисторе VТЗ. Как видно из схемы, напряжение на делитель, в состав которого входит фоторезистор R10, поступает из таймера (с эмиттера транзистора VТ2) только «днем». В это время напряжение на делителе R12R10 около 9 В, и все зависит от освещенности датчика R10 и положения движка переменного резистора R5. Все остальное время суток выходное напряжение ОУ DА2 постоянно равно 0, транзистор VТЗ закрыт, реле K2 обесточено и освещение выключено. Заметим попутно, что фоторезистор R10 должен быть установлен таким образом, чтобы свет из теплицы на него не попадал. В противном случае канал регулирования освещенности может перейти в автоколебательный режим. Назначение остальных элементов этой части блока такое же, как в канале регулирования температуры. Аналогично построен и канал регулирования влажности почвы (DАЗ, VТ4). Измерительный мост образован резисторами R7—R9, R14 и датчиком влажности R11.

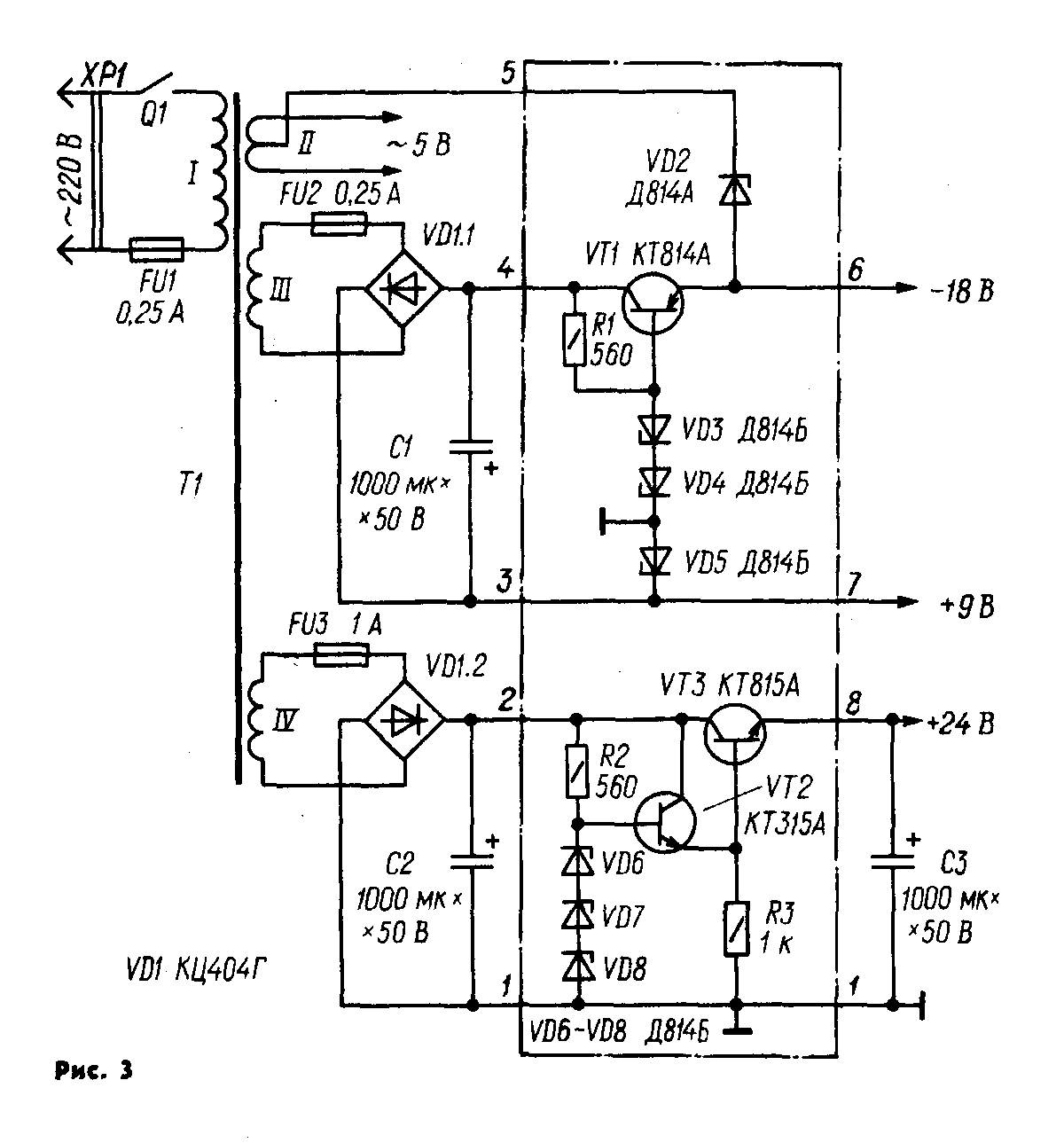
Источник питания устройства (рис. 3) особенностей не имеет. Он состоит из понижающего трансформатора Т1, двух выпрямителей (VD1.1, VD1.2) и такого же числа стабилизаторов напряжения (VDЗ—VD5, VТ1 и VD6—VD8, VТ2, VТЗ).

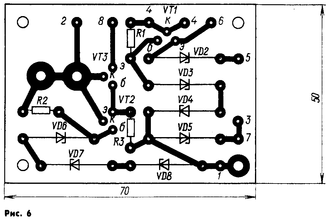
Большинство деталей автомата смонтировано на четырех печатных платах из фольгированного стеклотекстолита толщиной 1,5 мм. На одной из них (рис. 4) смонтирован таймер, на другой (рис. 5) — блок автоматики, на третьей (рис. 6) — источник питания, на четвертой (ее «рисунок» очень прост, поэтому чертеж не приводится) — кнопки управления таймером. В качестве последних можно использовать переключатели П2К без фиксации в нажатом положении, микропереключатели МП1 -1, МПЗ-1 и т. п., кнопки КМ 1-1.

Окружностями красного цвета на чертеже платы таймера (см. рис. 4) выделены отверстия, через которые при монтаже пропускают проволочные перемычки, соединяющие печатные проводники обеих сторон платы. Фрагмент участка с деталями канала регулирования влажности почвы на чертеже платы блока автоматики (рис. 5) повторен дважды. Это позволяет создать устройство, способное контролировать этот параметр в трех разных местах теплицы. Вместо КТ815В в таймере можно использовать любые транзисторы серий КТ815, КТ817. Сопротивление резисторов Rб—R9 некритично и может быть в пределах 15... 100 кОм. ОУ К140УД6 в блоке автоматики можно заменить на К140УД7, К153УД2, а при коррекции печатной платы — и на любые другие, кроме К140УД1А (непригоден из-за низкого номинального напряжения питания), транзисторы КТ315Г — на любые маломощные кремниевые структуры п-р-п с допустимыми значениями тока коллектора и напряжения между коллектором и эмиттером соответственно не менее 50 мА и 25 В. Допустима замена терморезистора ММТ-1 любым другим с отрицательным ТКС. Номинальное сопротивление резисторов R13 и R16 в этом случае рассчитывают по формулам:

R13=RК1 + R16; R16=RК1/4.

Вместо СФЗ-1 можно применить любой другой фоторезистор, а при соблюдении полярности включения — и фотодиод, реагирующий на видимую часть спектра. Резисторы R4 и R6 в этом случае необходимо подобрать таким образом, чтобы при номинальной освещенности фотодатчика (днем) напряжение на движке переменного резистора R5, установленном в среднее положение, стало равным напряжению на неинвертирующем входе ОУ DА2. Датчиком влажности R11 могут служить два стержня из нержавеющей стали или графита диаметром 3...5 мм, погруженные в почву на глубину основного корнеобитания в концах гряды. Сопротивление резистора R14 должно быть равно сопротивлению датчика при оптимальной влажности почвы.

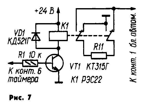
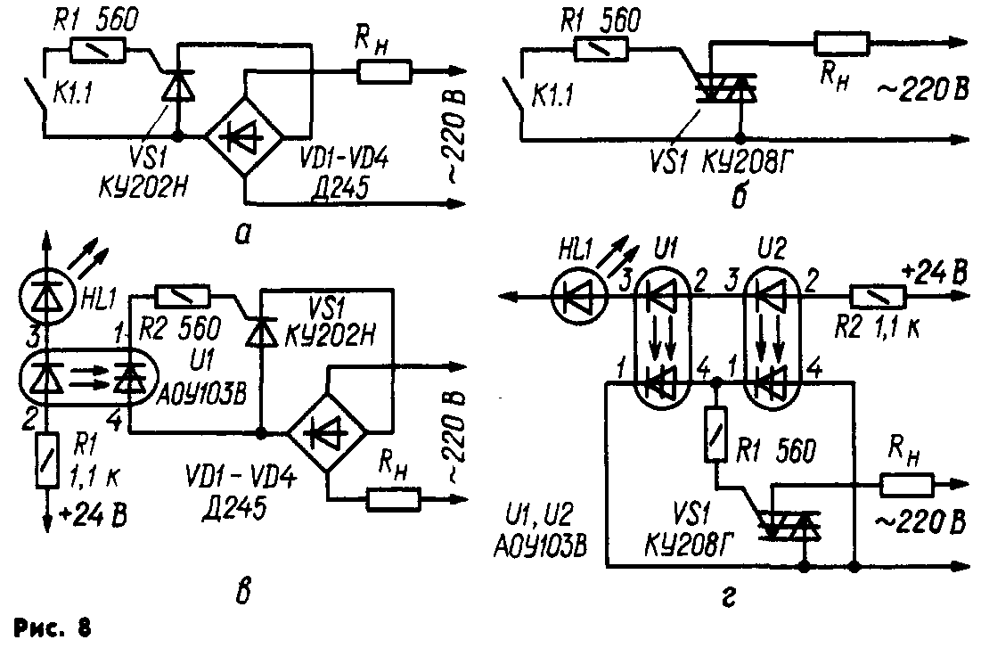
Следует учесть, что под действием постоянного тока в почве протекают электрохимические процессы, которые могут нарушить работу канала регулирования влажности. Чтобы этого не произошло, необходимо периодически изменять направление тока через датчик. Такую коммутацию нетрудно автоматизировать, дополнив блок еще одним реле с усилителем тока (рис. 7), управляемым сигналами таймера. В результате «днем» ток через датчик будет течь в одном направлении, «ночью» — в другом. Реле K1—KЗ (см. рис. 2) и K1 (рис. 7) — любые с рабочим напряжением 24 В и контактами, способными коммутировать соответствующую мощность. Ток срабатывания должен находиться в пределах 10...20 мА (при меньшем токе светодиоды НL1—НL2 будут светиться недостаточно ярко, при большем могут выйти из строя). Если реле используются в качестве промежуточных, т. е. управляют работой более мощных исполнительных устройств, которые и коммутируют нагрузку, можно применить реле РЭС22 (паспорт РФ4.500.131), РЭС32 (РФ4.500.342), РЭС45 (РС4.569.302), РЭС46 (РС4.569.352) и т. п. Их контакты могут управлять магнитным пускателем, тринистором, включенным в диагональ диодного моста в цепи нагревателя Rн, или симистором (см. рис. 8, а, б). Если удастся приобрести оптрон АОУ103В, можно вообще обойтись без реле. Примеры использования этого оптрона для коммутации цепи питания электронагревателя показаны на рис. 8, в и г. В качестве исполнительного устройства в каналах регулирования температуры и влажности вместо реле K1 и KЗ можно применить магнитный клапан. В первом случае его используют для перекрывания газа, поступающего на основную горелку водонагревателя, или горячей воды (при централизованном теплоснабжении), во втором — для открывания воды, поступающей на оросители. Трансформатор Т1 источника питания выполнен на магнито-проводе Ш20xЗО. Обмотки I, II и III (соответственно 1900, 2x21 и 195 витков) намотаны проводом ПЭВ-1 0,25, обмотка IV (180 витков) — проводом ПЭВ-1 0,6. Вместо указанных на схеме в источнике питания можно применить любые транзисторы серий КТ814, КТ816 (VТ1), КТ315, КТ312 (VТ2) и КТ815, КТ817 (VТЗ). Транзистор VТЗ необходимо установить на П-образный теплоотвод размерами 15x20x20 мм, согнутый из листового алюминиевого сплава толщиной 1,5...2 мм. В выпрямителях можно использовать любые кремниевые диоды с допустимым обратным напряжением не менее 50 В и прямым током не менее 100 мА (VD1.1) и 1 А (VD1.2).

Налаживание устройства сводится к установке требуемых значений параметров переменными резисторами R2, R5 и R8. Не исключено, однако, что во время налаживания или эксплуатации реле какого-либо канала будет срабатывать нечетко. В этом случае канал необходимо охватить положительной ОС, включив, например, между инвертирующим входом ОУ и коллектором транзистора-усилителя тока резистор сопротивлением 1...10 МОм (его можно установить со стороны печатных проводников). Следует учесть, что с увеличением сопротивления этого резистора точность поддержания регулируемого параметра возрастает. Для расширения пределов регулирования параметров достаточно установить переменные резисторы R2, R5, R8 и подстроечный резистор R16 большего сопротивления.

В. БЕЛЕНЬКИЙ, г. Одинцова Московской обл.

ЛИТЕРАТУРА:

Георгиев К. Часы-будильник из набора «Старт 7176».— Радио, 1986, № 6, с. 40—44; № 7, с. 29—32.

РАДИО, № 12 1990 г.

Назад