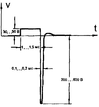
Методы лечения без лекарств всегда были привлекательны не только потому что при этом отпадает необходимость поиска дефицитных и ныне дорогостоящих препаратов, но и потому что они в значительной мере исключают побочные эффекты. Предлагаемый электронейростимулятор предназначен для воздействия слабым электрическим током на зоны кожной поверхности для снятия болей преимущественно неврологического характера и лечения воспалительных заболеваний. Применение прибора в домашних условиях рекомендуется после консультации с врачом. Стимулятор вырабатывает несимметричные биполярные импульсы, форма которых показана на рис.1.

Puc.1.
Питание прибора осуществляется батарейкой "Корунд", "Крона-ВЧ", 6PLF22 или аналогичной напряжением 9 В. Прибор выполнен в диэлектрическом корпусе, внутри которого размещен отсек для батареи питания и электрическая схема, а на одной из внешних поверхностей расположен блок электродов-штырей.
Основные технические данные:
-амплитуда положительного импульса, В не менее 30;
- амплитуда отрицательного импульса, В не менее 200;
- частота следования импульсов, Гц 10±3;
- длительность положительного импульса, мс не более 1,5;
- длительность отрицательного импульса, мс не менее 0,1;
- ток потребления, мА не более 4,5.
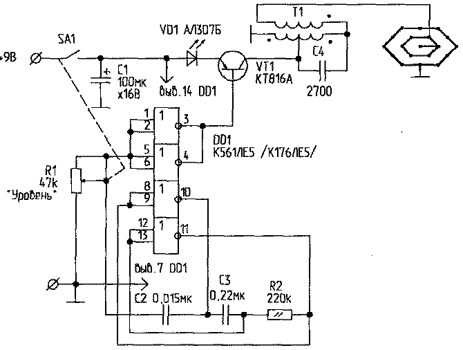
Прибор, схема которого приведена на рис.2, состоит из генератора импульсов на микросхеме DD1 типа К561ЛЕ5 (К176ЛЕ5) и усилителя мощности на транзисторе VT1 с индикатором на свето диоде VD1. С усилителя мощности импульсы через согласующий трансформатор Т1 поступают на электрод. При работе мигающее свечение индикатора VD1 характеризует исправность прибора, а его яркость - величину уровня стимулирующего воздействия.

Puc.2.
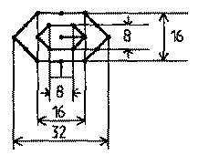
Для обеспечения гигиенических требований электрод перед работой должен быть продезинфицирован 3% раствором перекиси водорода. При проведении сеанса лечения необходимо плотно прижать электрод к коже и включить прибор. Постепенно увеличивая величину стимулирующего воздействия, необходимо достичь чувствительного покалывания, не допуская при этом дискомфортного уровня. Активными вибрационными движениями с постоянной сменой положения электрода можно повысить порог болевого восприятия электрических импульсов, что позволяет работать с более высоким уровнем сигнала. Стимуляцию зон воздействия нужно проводить легкими массирующими движениями в течение 1...5 минут. Стимуляция кожных зон головы, шеи, рук требует меньшего времени, а поясницы, ягодиц, ног - большего. Конструкция электрода показана на рис.3. Он состоит из 19 штырьков длиной 10 мм каждый и диаметром порядка 1 мм с торцами сферической формы. В проекции на кожную поверхность воздействие электрода ограничено его контактной поверхностью, состоящей из 12 штырьков, соединенных сточкой нулевого потенциала прибора. Этим исключается пространственная передозировка.

Рис. 3.
Контроль за уровнем сигнала оценивается по яркости свечения светодиодного индикатора и по субъективным ощущениям пациента. Штырьки электрода распаяны на отдельной плате из фольгированного стеклотекстолита (рис.3), расположенной на передней части корпуса прибора. В качестве штырьков можно использовать посеребренные штыри от разъемов типа ШР или сделать их из латунной или медной проволоки диаметром не менее 1 мм. Внешним торцам штырьков, контактирующих с кожей, необходимо придать полусферическую форму. Штырьки должны иметь защитное покрытие из никеля или хрома. В качестве выходного трансформатора может быть использован согласующий трансформатор от транзисторных приемников с сечением сердечника 6x8 мм, например от радиоприемника "Спидола". Несколько лучшие результаты могут быть получены при использовании согласующих трансформаторов типа ТОТ-109 с магнитопроводом из железноникеле-вого сплава ЗОН.

Puc.4.
Схема и данные трансформатора ТОТ-109 приведены на рис.4, а его включение в схему прибора - на рис.5.

Puc.5.
Печатная плата размерами 40x45 мм под трансформатор ТОТ-109 приведена на рис.6.

Puc.6.
Электростимуляцию желательно проводить на сухой обезжиренной коже. Повышенная влажность или жирность кожной поверхности в ряде случаев может создать дискомфортные ощущения жжения, что препятствует увеличению уровня сигнала, ограничивает глубину проникновения и эффективность стимуляции кожных нейроструктур. В прохладном помещении перед прикосновением к коже пациента следует теплом рук согреть штырьки электрода.
Е.СТАХОВ, 230023, г.Гродно, ул.Ленина, 8 - 13.
Радиолюбитель 1996 г.