Цифровые генераторы шума.

Генераторы шума широко применяются в таких радиотехнических устройствах, как электронные игры (для генерации случайных чисел), синтезаторы музыки и речи, измерители частотных характеристик (например магнитофонов), анализаторы акустических свойств помещений и др. В большинстве названных устройств в качестве первичных источников шума используются «шумящие элементы». Создаваемые ими шумы обусловлены протекающими в них электрическими процессами. К ним относятся, например, тепловые шумы резисторов, шумы стабилитронов, специальных диодов и т. д. Однако все эти источники обладают существенными недостатками: малой мощностью шума, низкой временной и температурной стабильностью параметров, неравномерностью спектральных характеристик по частоте из-за действия других видов шума, например фликкер-шума. Такие генераторы требуют повторной настройки при смене шумящего элемента.

Перечисленные недостатки отсутствуют у цифровых источников шума, «цифровой» шум которых представляет собой временной случайный процесс, близкий по своим свойствам к процессу физических шумов и называющийся поэтому «псевдослучайным процессом». Цифровая последовательность двоичных символов в цифровых генераторах шума называется псевдослучайной последовательностью, представляющей собой последовательность прямоугольных импульсов псевдослучайной длительности с псевдослучайными интервалами между ними. Период повторения всей последовательности значительно превышает наибольший интервал между импульсами. Наиболее часто применяются последовательности максимальной «длины» — М-после-довательности [1], которые при , заданном числе разрядов формирующего их регистра имеют максимальный период повторения. Псевдослучайная цифровая последовательность чаще всего формируется регистрами (последовательными) сдвига, охваченными линейной обратной связью, в общем случае многопетлевой. Для получения сигнала обратной связи в каждой петле используется двоичный сумматор (сумматор по модулю 2) или элемент «исключающее ИЛИ». Регистр с определенным числом разрядов может синтезировать несколько видов псевдослучайных цифровых последовательностей в зависимости от структуры обратной связи. Из всех таких последовательностей М-последова-тельности имеют максимальное число символов в периоде повторения кодовой комбинации, поскольку они включают в себя все состояния регистра, кроме нулевого. Такая последовательность двоичных символов чаще всего используется для формирования шума с равномерной спектральной плотностью в рабочем диапазоне частот, который можно назвать «белым» в заданном частотном диапазоне (хотя, строго говоря, «белым» называется шумовой процесс с равномерной спектральной плотностью в бесконечном диапазоне частот). Отклонение нормированной огибающей спектральной плотности М-последовательности от единичного уровня выражается формулой [1 ]:

/_\=20lg[sin(n/_\f / fT)/(n/_\f / fT)]2, (1)

где /_\ — неравномерность спектра, дБ; /_\f — полоса рабочих частот; fT — тактовая частота регистра. Из этой формулы следует, что при соответствующем выборе отношения /_\f / fT можно добиться достаточно малой неравномерности спектра /_\ в заданном диапазоне частот. Зависимость /_\ от /_\f / fT (рис. 1) можно использовать для выбора fT при заданном  /_\. Например, для получения неравномерности спектральной плотности цифрового шума  /_\=1 дБ тактовая частота fT должна быть не менее чем в 5 раз выше верхней частоты рабочего диапазона. Формируемая с помощью N-разрядного регистра сдвига М-последовательность двоичных символов периодична и содержит все (2N—1) двоичных комбинации состояний регистра в одном периоде (кроме нулевой). Величина (2 —1) называется числовым периодом, длительность которого во времени равна

TN=(2N-1)TT=(2N-1) / fT (2)

где ТT=1 / fT. В связи с периодичностью М-последовательности спектр соответствующего ей сигнала является дискретным (а не сплошным, как у реальных шумовых процессов) [1]. Интервал по частоте между соседними составляющими спектра равен

?f=1/TN=fT/(2N-1). (3)

Из этой формулы следует, что дискретность спектра может быть сделана сколь угодно малой выбором числа разрядов регистра сдвига. На практике же нет необходимости в применении сплошных спектров, так как реальные радиотехнические устройства имеют ограниченные разрешающие способности по частоте. Так, в акустических исследованиях требуемая плотность гармоник спектра ограничивается полосой частот, воспринимаемой человеческим ухом. Кроме того, в отдельных случаях дискретность спектра сигнала может быть и полезной, как, например, при синтезе сигналов с равномерной сеткой частот. Предварительное проектирование цифрового генератора шума сводится к выбору тактовой частоты и числа разрядов регистра сдвига. Тактовая частота (т рассчитывается исходя из заданного диапазона рабочих частот /_\f и допустимой неравномерностью спектра /_\ в этом диапазоне. Для расчета fT можно воспользоваться ф-лой (1) или графиком, приведенным на рис. 1. Число разрядов N регистра сдвига может быть выбрано исходя из максимально допустимой ?f и fT по формуле

N=log2(fT/?f). (4)

Полученное значение N округляют до целого числа в большую сторону. Конкретная структура формирователя цифровой М-по-следовательности определяется как математическими закономерностями, так и дополнительными условиями: экономическими, конструктивными, применяемой элементной базой и т. д. Наиболее целесообразным представляется применение микросхем КМОП-серии, из которых более всего подходит для нашего случая микросхема 176ИР10 [2]. С целью уменьшения числа используемых элементов и упрощения конструкции можно выдвинуть требование о наличии лишь одной обратной связи в регистре. При выборе параметров формирователя шума следует учитывать, что изменение тактовой частоты приводит к пропорциональному изменению диапазона частот /_\f шума и интервала ?f для заданной неравномерности спектра /_\. В соответствии с изложенной методикой авторами был разработан и испытан цифровой генератор «белого» и «розового» шумов, использованный в составе панорамного анализатора спектра, совмещенного с эквалайзером, для оперативного контроля АЧХ акустических трактов (звуковых колонок, помещений для прослушивания стереофонических фонограмм). Анализатор применяется также при регулировке токов записи и под-магничивания и коррекции в магнитофоне со сквозным каналом запись—воспроизведение при смене типа магнитной ленты. Для этого был реализован вариант источника шума с N=23 и fT=150 кГц, обладающий следующими параметрами: /_\f=20 кГц; /_\ = 0,5 дБ; ?f= 0,018 Гц; TN = 56 с.

Разработанный генератор шума содержит последовательный регистр сдвига, сумматор по модулю 2, тактовый генератор, цепь запуска и низкочастотные пассивные фильтры. Регистр с сумматором по модулю 2 образует непосредственно формирователь М-последовательности. Цепь запуска предотвращает появление нулевой комбинации одновременно во всех разрядах регистра при включении питания. Фильтры служат для получения шумов с заданными спектральными свойствами. Все элементы цифровой части генератора типовые. Фильтр «белого» шума представляет собой обычный ФНЧ, методы реализации которого освещены в [3]. Фильтр «розового» шума имеет некоторые особенности. Дело в том, что для получения «розового» шума из «белого» или М-последовательности необходимо использовать ФНЧ, АЧХ которого с ростом частоты падает с крутизной 3 дБ на октаву. В то же время ФНЧ первого порядка (интегрирующая RC-цепь) имеет АЧХ с крутизной 6 дБ на октаву. Поэтому для реализации необходимого ФНЧ используют кусочно-ломаную аппроксимацию требуемой логарифмической АЧХ (ЛАЧХ) с помощью ЛАЧХ простейших RC-цепочек. Описание подробностей применения этого метода выходит за рамки данной статьи и здесь не рассматривается.

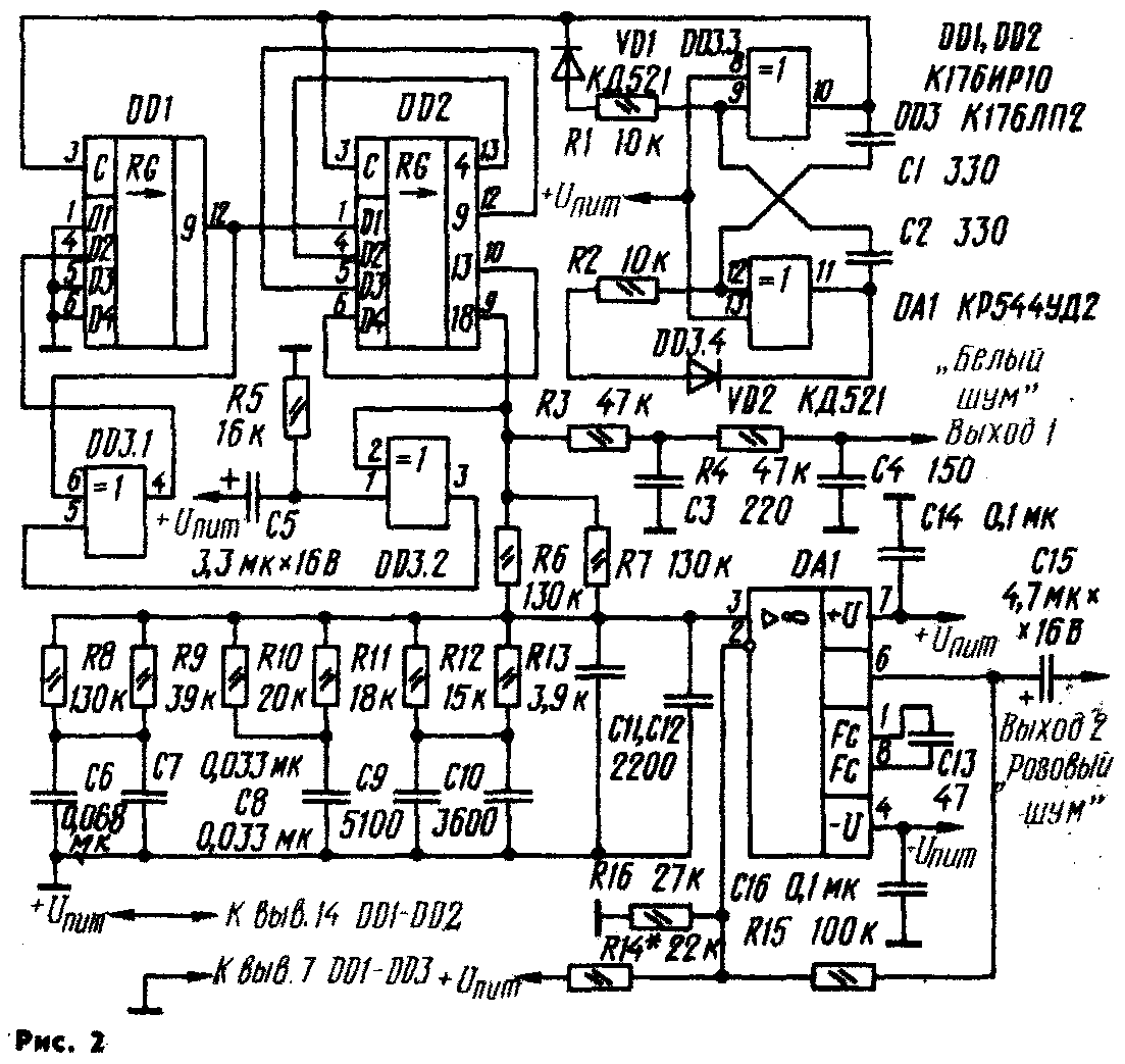
Полная принципиальная схема генератора шума приведена на рис. 2. Регистр сдвига выполнен на микросхемах DD1 и DD2 и содержит 23 разряда. Обратная связь реализуется через сумматор по модулю 2 (элемент «исключающее ИЛИ») на элементе DD3.1 микросхемы DD3. Ее сигнал вводится с 18-го разряда регистра на его вход вместе с выходной последовательностью. Цепь запуска выполнена на элементах R5 и С5. При включении питания на резисторе R5 образуется скачок напряжения — уровень логической единицы, который выводит регистр из нулевого состояния. Элемент «исключающее ИЛИ» при нулевом потенциале одного из его входов является повторителем логического состояния другого входа. Следовательно, если при включении питания все разряды регистра будут находиться в нулевом состоянии, то элементы DD3.1 и DD3.2 повторяют уровень логической единицы, сформированный на резисторе R5. Тогда в первые разряды регистра будет записана логическая единица. После заряда конденсатора С5 на резисторе R5 устанавливается нулевой потенциал и элемент DD3.2 станет повторителем логического состояния выхода регистра и влиять на работу формирователя не будет. При поступлении на один из входов элемента «исключающее ИЛИ» логической единицы этот элемент станет инвертором логического состояния второго входа. Это свойство использовано для построения тактового генератора на элементах DD3.3 и DD3.4. В остальном схема тактового генератора типовая. Фильтр «белого» шума выполнен на элементах R3, R4, СЗ и С4, представляет собой двухзвенный пассивный ФНЧ. В анализаторе спектра, где использован описываемый генератор шума, применяется «розовый» шум, а выход «белого» шума служит лишь для контроля генератора и поэтому не снабжен дополнительным буферным усилителем. Фильтр «розового» шума содержит четыре аппроксимирующих звена: R8, R9, С6, С7, RIO, R11, С8; R12, R13, С9, СЮ и СП. С12, образующих совместно с резисторами R6, R7 ФНЧ с АЧХ, спадающей при увеличении частоты с крутизной 3 дБ на октаву, что приводит к отображению истинной АЧХ исследуемого устройства. Параллельное соединение некоторых элементов позволяет обеспечить точную настройку АЧХ фильтра. Операционный усилитель DA1 на выходе фильтра уменьшает выходное сопротивление генератора и компенсирует уменьшение мощности шума в пассивном фильтре. Резистор R14 компенсирует постоянную составляющую М-последова-тельности, равную приблизительно половине напряжения, питающего цифровую часть генератора (Uпит). При указанных на схеме номиналах элементов погрешность аппроксимации АЧХ не превышает 0,5 дБ относительно кривой 3 дБ на октаву. Мощность «белого» шума составляет 970 мВ2, «розового» — 900 мВ2 (при Uпит = ±6 В). При таком напряжении питания генератор потребляет ток от обоих источников около 5 мА. Свои характеристики генератор сохраняет при изменении напряжения питания от ±5 до ±15 В.

Генератор шума смонтирован на печатной плате из стеклотектолита толщиной 2 мм (рис. 3). В нем применены резисторы МЛТ-0,125 (можно МЛТ-0,25) с допустимым отклонением сопротивления от номинального значения + 5 %, конденсаторы — КМ-6Б или К53-1, К53-4 и т. п. (С5, CIS) и КМ4, КМ5 и КМ6 (остальные). Микросхему К176ЛП2 (ДДЗ) можно заменить К561ЛП2, а КР544УД2 — К544УД2, К140УД6 и К140УД8. Вместо диодов КД521 можно поставить КД522, КД503 и КД509. Следует иметь в виду, что при использовании ОУ К544УД2 и КР544УД2 вместо конденсатора С13 может быть установлена перемычка, а при использовании ОУ К140УД6 и К140УД8 этот конденсатор вообще удаляют. При отсутствии ошибок в печатной плате и монтаже генератор начинает работать без специальной настройки. Необходимо лишь проверить соответствие частоты тактового генератора требуемой и подогнать ее значение с помощью резисторов R1, R2 или конденсаторов С1, С2. Далее резистором R14 следует добиться компенсации постоянной составляющей М-последователь-ности. При полной ее компенсации сигнал на выходе ОУ DA1 (вывод 6) должен быть симметричен относительно нулевого уровня, что можно наблюдать с помощью осциллографа или вольтметра постоянного напряжения. При необходимости контроля АЧХ фильтра «розового» шума надо отпаять резисторы R6 и R7 от выхода генератора М-последо-вательности и, подключив к их свободным выводам генератор синусоидального низкочастотного напряжения, снять АЧХ, измеряя напряжение на выходе ОУ DA1.

М. МАРДЕР, В. ФЕДОСОВ, г. Таганрог

ЛИТЕРАТУРА:

1. Сикарев А., Лебедев О. Микроэлектронные устройства формирования и обработки сложных сигналов.— М.: Радио и связь, 1983.

2. Алексеев С. Применение микросхем серии 176.— Радио, 1984, № 4, с. 25—28.

3. Лэм Г. Аналоговые и цифровые фильтры.— М.: Мир, 1982.

РАДИО № 8, 1990 г.

Назад