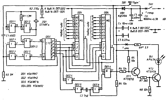
На рис. 1 приведена принципиальная схема генератора, формирующего подобным образом последовательность инфракрасных вспышек. Здесь DD1.1, DD1.2, Rl, ZQ1 - задающий генератор, работающий на частоте часового кварцевого резонатора ZQ1 - 32768 Гц. Микросхемы DD4 и DD5 составляют электронный коммутатор, его выход (объединенные выводы 3 DD4 и DD5) оказывается соединенным с одним из Х-входов этих микросхем в зависимости от адреса, поступающего на входы 1, 2, 4, и сигнала на входе S (активизируется микросхема с S=0). Адрес и сигнал S формирует счетчик DD3. Легко вычислить, что смена адреса будет происходить здесь каждые 0,976 мс (25/32768 с), это tзн - длительность знакоместа в кодовой посылке. В середине каждого знакоместа может быть сформирован короткий (R4C2=~10 мкс) импульс на выходе DD1.4. Но это произойдет лишь в том случае, если данному знакоместу будет соответствовать сигнал лог. 1 на выходе коммутатора. Этот импульс откроет нормально запертый транзисторный усилитель (VT1, VT2 и др.) и ток, возникший в ИК диоде BI1, преобразуется в ИК вспышку той же длительности.

Рис. 1.
Генерация кодовой последовательности
начинается (SA1 включен, кнопка SB1 нажата) с
формирования короткого импульса на входе R
счетчика DD3 (tr=~R3.Cl), устанавливающего его в
исходное, нулевое состояние, и заканчивается с
появлением сигнала 1 на выходе 2в9 (выв. 14) DD3.
Знакоместа - их, очевидно, 16 - следуют во времени в
соответствии нумерацией (по стрелкам) Х- входов
электронных коммутаторов: 1, 2,..., 14, 15 (нулевому
знакоместу всегда соответствует 1; это стартовый
импульс пакета, не входящий, конечно, в число
кодообразующих). Общая продолжительность
кодовой посылки составит таким образом 0,976х15=~14,6
мс. Нужное число-код формируют, так или иначе
коммутируя Х- входы микросхем DD4, DD5: соединяя i-ую
стрелку с «+» источника питания, если в i-том
разряде кода должна быть 1 (XI DD4, формирующий
стартовый импульс пакета , уже соединен с +U ), или
с «землей», если должен быть 0. Так, например, для
генерации кода 111011100111001 потребуется соединить
стрелки 1, 2, 3, 5, 6, 7, 10, 11, 12, 15 с «+», а стрелки 4, 8, 9,13, 14
- с «-» источника питания. Поскольку n=15, то число
различных сигналов, из которых любой может быть
закоммутирован в качестве кодового, составляет
здесь 2в15=32768.
Генератор монтируют на печатной плате,
изготовленной из двустороннего
фольгированного стеклотекстолита
толщиной 1,2...1,5 мм (рис. 2).

Рис. 2.
Фольгу со стороны деталей используют лишь в качестве общего провода (с ней соединен «-» источника питания): в местах пропуска проводников она должна иметь выборки - кружки диаметром 1,5...2 мм (на рисунке не показаны). Места соединения с нуль-фольгой «заземляемых» выводов резисторов, конденсаторов и др. показаны черными квадратами; черными квадратами со светлой точкой в центре - «заземляемые» выводы микросхем и положение проволочной перемычки, соединяющей с нуль-фольгой «минусовой» вывод конденсатора С4. В качестве источника питания генератора можно взять 6-вольтную батарею 11А (габариты - 10,3х16 мм, электрическая емкость -33 мА.ч). Выключатель SA1 типа ПД9-1 монтируют непосредственно на корпусе генератора. Кнопка SB1, типа ПКн-159 или подобная ей, должна иметь провод длиной 6...8 мм, достаточный для его вывода сквозь стенку корпуса. Правильно собранный генератор наладки не требует. Проконтролировать его работу можно с помощью осциллографа, подключив его вход к коллектору транзистора VT1. После включения SA1 и нажатия кнопки SB1 на экране осциллографа (время ждущей развертки 20...30 мс) должна возникнуть и исчезнуть последовательность импульсов, расставленных во времени в соответствии с закоммутированным сигналом. Если это рассмотренный выше код 111011100111001, то ему будет соответствовать осциллограмма, изображенная на рис. 3.

Рис. 3.
(«лишний» импульс в начале пакета -стартовый).
По амплитуде импульсов, измеренных на резисторе
R9,
можно судить о токе в ИК диоде Iимп =~Uимп /R9
(Iимп - в амперах, Uимп - в вольтах, R9 - в
омах), а в быстрой развертке (20...50 мкс, тоже ждущей)
- об их форме и длительности, которая должна быть
в пределах 5...15 мкс. Двухступенчатое включение
кодового излучателя - сначала выключателем SA1, а
затем кнопкой SB1 - связано с особенностью
самовозбуждения кварцованных генераторов, с их
довольно медленным (из-за высокой добротности
кварцевого резонатора) вхождением в рабочий
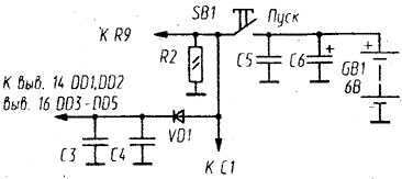
режим. Выключатель SA1 можно исключить,
организовав питание генератора так, как показано
на рис. 4.

Рис. 4.
Но в таком случае кнопку SB1 потребуется нажимать дважды: первое нажатие даст, скорее всего, неверную комбинацию (которая, кстати, может быть даже полезна как маскирующая истинный код). Без выключателя SA1 можно обойтись и в том случае, если в качестве источника питания генератора будет взята низковольтная батарея достаточной емкости, способная обеспечить продолжительную его работу при постоянно включенных микросхемах. Например, литиевый элемент с ЭДС=3 В, имеющий электрическую емкость 0,1 А.ч, сможет проработать в таком режиме около года. В кодовом излучателе могут быть использованы практически любые И К диоды, ограничения - лишь габаритные: высота деталей на печатной плате не должна превышать 8 мм. Все резисторы здесь -типа МЛТ-0,125, неэлектролитические конденсаторы - КМ-5, КМ-6, К10-17Б и др. Конденсатор С4 - типа K50-35 или К50-40. Рабочее напряжение копденсатора С6 (CE-DS Магсоn, его монтируют в положении «лежа») должно соответствовать напряжению источника питания. В варианте, показанном на рис. 4, необходимо предварительно проконтролировать состояние его диэлектрика: ток утечки в С6 должен быть меньше 1 мкА. При увеличении сопротивления резистора R9, ограничивающего ток в ИК диоде, емкость конденсатора С6 может быть соответственно уменьшена. Довольно большая «дальнобойность» ИК излучателя (с R9=3,9 Ом превышающая 10 м) может оказаться просто ненужной.
| Uпит, В | Iпотр, мкА | Iимп, А |
| 2,4 | 5 | 0,18 |
| 3,7 | 16 | 0,38 |
| 4,3 | 30 | 0,38 |
| 5,0 | 60 | 0,46 |
| 6,0 | 140 | 0,59 |
| 7,0 | 360 | 0,72 |
Кодовый генератор сохраняет свою работоспособность в широком диапазоне питающих напряжений. В таблице 1.показана зависимость потребляемого им тока Iпотр и тока в ИК диоде Iимп от напряжения источника питания Uпuт