Тем, что информация может иметь очень высокую ценность сегодня уже никого не удивишь. Но если раньше реально опасаться утечки информации мог лишь ограниченный круг лиц, то сегодня с этим может столкнуться практически каждый. Первое, что обычно приходит на ум, это радиомикрофоны. Они широко распространены, т.к. собрать "жучек" по описанию в радиолюбительской литературе совсем несложно. Автору даже известен случай успешной сдачи экзаменов студентами при помощи радиомикрофона. Однако обнаружить такие радиомикрофоны можно без особого труда, стоит только собрать несложный детектор поля. Вместе с тем существует иной способ снятия информации. Известно, что звуковые волны в помещении вызывают микровибрации оконных стекол. Если направить на стекло ИК-поток, то большая его часть пройдет через стекло внутрь, однако будет и отражение. При этом отраженный поток окажется промодулированным речевой информацией. Для того чтобы оценить реальные возможности похищения информации таким путем и найти эффективный способ противодействия, автором была разработана экспериментальная схема прослушивающего устройства. Оно стоит из двух относительно независимых частей : ИК-передатчика и ИК-приемника.

Puc. 1.
Принципиальная схема ИК-передатчика показана на рисунке 1. Основу передатчика составляет генератор прямоугольных импульсов на микросхеме D1. Выходной сигнал генератора с частотой 35 кГц поступает на базу транзистора VT1, который совместно с VT2 образует составной транзистор Дарлингтона. При помощи этого транзистора коммутируется ИК-светодиод VD1. Отраженный сигнал поступает на вход приемника, схема которого показана на рисунке 2.

Puc. 2.
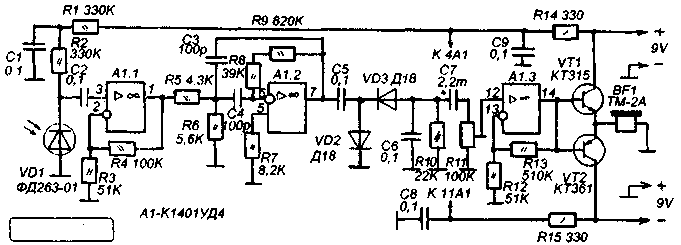
Принятый фотодиодом VD1 сигнал поступает на вход усилителя на собранного на ОУ А1.1, здесь вся полоса принятых частот усиливается в два раза, а также обеспечивается согласование фотодиода с последующими каскадами. На ОУ А1.2 собран активный полосовой фильтр (Л.1), настроенный на частоту 34,67 кГц, т.е. на частоту несущей передатчика. Коэффициент усиления каскада равен 100, полоса пропускания с неравномерностью - Здб - 6,8 кГц, это обеспечивает избирательное усиление несущей и боковых полос. Такое построение схемы позволяет максимально ослабить действие помех и паразитного фона от осветительных приборов. С выхода А1.2 сигнал поступает на амплитудный детектор, построенный по классической схеме, не требующей пояснений. На ОУ А1.3 и транзисторах VT1 и VT2 построен УНЧ, нагрузкой которого служат высокоомные телефоны ТМ-2А или аналогичные. Развязка узлов схемы по питанию осуществляется цепями R1C1, R14C9, R15C8.
Налаживание правильно собранной схемы сводится к подстройке частоты передатчика резистором R1 до получения на выходе приемника максимальной амплитуды сигнала. ОУ К1401УД4 не имеет прямой замены среди отечественных микросхем, но вместо А1.1 и А1.2 можно применить любые ОУ с полевыми транзисторами на входе и частотой единичного усиления не менее 2,5 МГц. А1.3 можно заменить на любой ОУ широкого применения. Автор проверял такой вариант : КР574УД2Б и К140УД708. Заметно повысить характеристики приемника можно если применить малошумящие ОУ TLE2074CN и TLE2144CN фирмы Texas Instruments. Цоколевка этих микросхем полностью совпадает с цоколевкой К1401УД4. Светодиод и фотодиод можно взять зарубежного производства для систем ДУ. В авторском варианте схема с К1401УД4 обеспечивала уверенный съем информации с расстояния 5-10 метров, вариант с TLE2074CN обеспечивал съем информации с расстояния до 15-20 метров, кроме того этот вариант в силу более низкого уровня шумов позволял уверенно разбирать тихие слова даже на фоне громкой музыки. Чувствительность устройства можно повысить дополнительными ИК-светодиодами, включенными параллельно VD1 передатчика (через свои ограничительные резисторы). Можно также увеличить коэффициент усиления приемника добавив каскад, аналогичный каскаду на А1.2, для этого можно использовать свободный ОУ микросхемы А1. Конструктивно светодиод и фотодиод расположены так, чтобы исключить прямое попадание ИК-излучения светодиода на фотодиод, но уверенно принимать отраженное излучение. Не исключено применение оптических систем, например таких как в Л.2. Питание приемника осуществляется от двух батареек типа "Крона", передатчик питается от четырех элементов типа R20 суммарным напряжением 6В (1,5В каждый). В заключение следует напомнить, что использование этого устройства в некоторых случаях запрещено законодательством РФ и может привести к административной или уголовной ответственности.
Литература:
1. Граф Р.Ф. Шните В. Энциклопедия электронных
схем. Том 7, часть 2. - М.:ДМК, 2000
2. Виноградов Ю. ИК линия связи в охранной
сигнализации ж. Радио, 1998 № 2
Уваров А. С., Радиоконструктор № 3, 2001