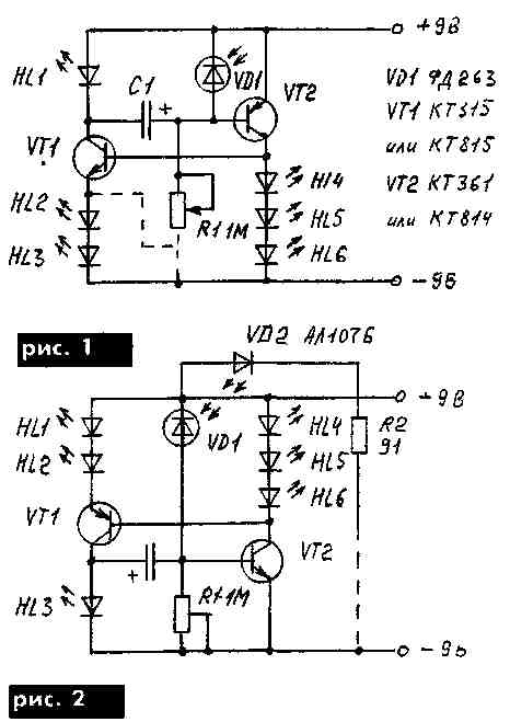
Предлагаю оригинальную схему генератора световых импульсов, которая появилась в результате замены в обычном RC-генераторе резисторов на свето-диоды. Как видно из рис.1, светодиоды разбиты на три цепочки, количество светодиодов в каждой цепочке необязательно такое, которое указано на рис 1. Оно зависит от питающего напряжения, и его подбирают экспериментально. Питающее напряжение, очевидно, можно увеличивать до величины, не превышающей предельно допустимую для транзисторов VT1 и VT2. На рис.2 показан почти "зеркальный" вариант этой же схемы, полностью зеркальным он будет, если VD1 и R1 поменять местами. Такое устройство можно использовать в игрушках, елочных гирляндах, ошейнике собаки и т п, как световой маяк, вспыхивающий при наступлении суме рек, пропадании освещения, когда ток фотодиода VD1 уменьшается, и транзистор VT2 открывается. Пороговый уровень освещенности, при котором начинается генерация вспышек, устанавливают резистором R1. Если поменять местами фотодиод VD1 и резистор R1, вспышки начнутся только при попадании света на фотодиод VD1, ток которого откроет транзистор VT2, этот эффект можно использовать для охранной и (или) пожарной сигнализации, когда взломщик попытается осветить охраняемый в полной темноте объект. Такой световой маяк очень экономичен, в ждущем режиме потребляет ток не более 0,05 мА, а в режиме вспышек 2-3 мА. Кроме того, схему можно применять в качестве базовой для фототерапевтического устройства, поскольку светодиоды видимого света можно заменить на инфракрасные (или дополнить параллельными цепочками из инфракрасных светодиодов с соответствующими балластными резисторами). Схему можно дополнить цепочкой VD2,R2 (см рис 2), которая автоматически включит генератор в момент, когда отраженное от объекта или тела пациента инфракрасное излучение VD2 попадает на фотодиод VD1. Частоту вспышек подбирают конденсатором С1. Выходные импульсы генератора можно использовать и для управления тиристором (симистором) в регуляторах освещенности (температуры, напряжения, если вместо VD1 установить терморезистор или просто переменный резистор).

В.Д.Бородай, г Запорожье, РАДИОАМАТОР 11/99