Схему такого варианта выключателя настольной лампы, бра или иного бытового светильника вы видите на рис.1. В основу его работы положен принцип емкостного реле с сенсорным управлением, что обеспечивает полную гальваническую развязку между выключателем и пользующимся им человеком, а также хорошую помехоустойчивость.

Рис.1.
Триггеры Шмитта DD1.1-DD1.3 микросхемы К561ТЛ1 и D-триггер DD2.1 микросхемы K561TM2, работающий в счетном режиме, образуют цифровую часть устройства, а четвертый триггер Шмитта DD1.4 той же микросхемы DD1, P-N-P транзистор VT1 и тринистор VS1 - узел управления лампой накаливания EL1, включаемой (через разъем X1) в диагональ выпрямительного моста VD5-VD8. С выхода выпрямителя пульсирующее сетевое напряжение выпрямителя подается непосредственно на тринистор VS1, через делитель R6R5 - на входной вывод 5 триггера DD1.4, и к стабилизатору напряжения R8VD2, являющемуся источником питания микросхем и транзистора. Оксидный конденсатор C5 сглаживает пульсации стабилизированного напряжения.
Как действует такой электронный автомат?
Сразу же после подключения его к сети триггер DD1.1, работающий в активном режиме, начинает генерировать прямоугольные импульсы частотой около 10 кГц, которые через подстроечный резистор R2 поступают к сенсору E1 (через конденсатор C1) и на входной вывод 12 триггера DD1.2 (через конденсатор C2). Амплитуду импульсного напряжения на этом выводе устанавливают (резистором R2) такой, чтобы триггер срабатывал на каждый импульс генератора и в его выходной цепи была такая же, как и на входе, импульсная последовательность. С такой же частотой конденсатор C4 заряжается через диод VD1 и разряжается через резистор R4. А так как постоянная времени цепи разрядки во много раз больше постоянной разрядки, то конденсатор C4 оказывается заряженным до напряжения высокого уровня. В это время на выходе триггера DD1.3 будет напряжение низкого уровня, на прямом выходе триггера DD2.1 - напряжение низкого, а на выходе триггера DD1.4 и базе транзистора VT1 - высокого уровня. Транзистор, а значит, и тринистор закрыты и лампа EL1 не горит - автомат находится в ждущем режиме работы.
При приближении к сенсору или касании его рукой общая емкость в точке соединения конденсаторов C1 и C2 увеличивается, из-за чего амплитуда импульсного напряжения на входе устройства уменьшается и оказывается недостаточной для срабатывания триггера DD1.2, и на его выходе появляется сигнал низкого уровня. В это время заряженный конденсатор C4 разряжается через резистор R4, срабатывает триггер DD1.3 и положительный перепад напряжения на его выходе переключает D-триггер DD2.1 в единичное состояние. Теперь на выходе триггера DD1.4 будет напряжение низкого уровня, которое открывает транзистор VT1. В результате в цепи управляющего электрода тринистора VS1 возникает ток, тринистор открывается и, замыкая малым сопротивлением диагональ выпрямительного моста, включает лампу EL1.
А теперь - коротко об экономичности управления тринистором. При переходе сетевого напряжения через нуль тринистор закрывается. Открывается же тринистор, когда значение пульсирующего напряжения на нем становится равным примерно, 20 В, а напряжение на входном выводе 5 триггера DD1.4 достигает высокого уровня. В это время на выходе триггера появляется сигнал низкого уровня, транзистор открывается и в цепи управляющего электрода тринистора возникает импульс тока. Как только тринистор откроется, напряжение на нем скачком уменьшится до 1,5...2 В, а на выводе 5 триггера DD1.4 - до низкого уровня. В результате на выводе 4 триггера появляется сигнал высокого уровня и транзистор закрывается. Таким образом транзистор открывается лишь на время, равное времени срабатывания тринистора, то есть всего на несколько микросекунд. Соответственно тринистор за полупериод сетевого напряжения управляется одним очень коротким импульсом тока, что и повышает экономичность описываемого устройства.
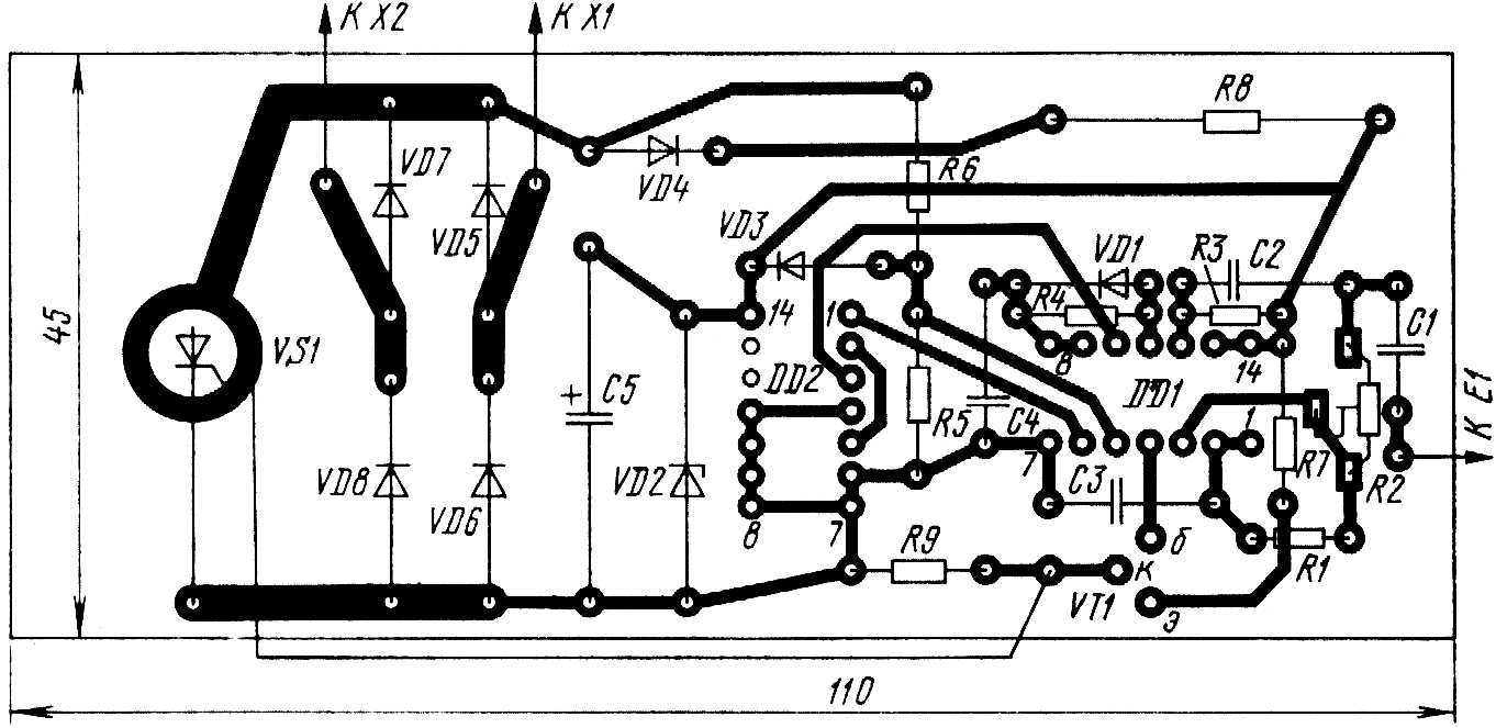
Pис.2
Все его детали, кроме сенсорного контакта, монтируют на печатной плате из фольгированного материала (рис.2). Транзистор VT1 может быть любым из серий КТ361, КТ208, КТ209, КТ502, КТ3107. Тринистор VS1 - КУ202К - КУ202Н, КУ201К, КУ201Л. Диод VD1 - любой детекторный или импульсный, VD3 и VD4 - любые выпрямительные. Диоды VD5-VD8 заменимы на выпрямительный мост КЦ401Б, КЦ402А - КЦ402В, КЦ405А - КЦ402Б. Стабилитрон VD2 должен быть на напряжение стабилизации 10...14 В - Д814В-Д814Д, КС210Ж - КС213Ж, КС210Б, КС210Е, КС510А. Конденсатор C5 - оксидный К50-24, другие - КТ, КД (C1-CЗ) и КЛС, КМ (C4). Резистор R2 - СПЗ-3, остальные - ВС, МЛТ. В целях безопасности конденсатор C1 должен быть на номинальное напряжение не менее 250 В. Сенсорный элемент - это металлическая фольга площадью 40...50 см?, помещенная между двумя пластинками тонкого текстолита, органического стекла. Можно также использовать пластину одностороннего фольгированного материала и наклеить на ее фольгированную сторону пластину из диэлектрика. Фольга такого сенсора должна быть удалена по всему периметру. С платой сенсор соединяйте проводом в надежной изоляции минимальной длины.
Налаживание устройства сводится к установке его чувствительности резистором R2. Здесь приходится выбирать компромисс между максимальной чувствительностью при приближении руки к сенсору и чувствительностью выключателя к помехам. Помехоустойчивость можно улучшить увеличением емкости конденсатора C4. Мощность лампы накаливания определяется допустимым прямым током диодов VD5-VD8 выпрямительного моста. Для диодов, указанных на схеме, она не должна превышать 100Вт. Если появится необходимость плавного регулирования яркостью свечения лампы, то часть узла управления тринистором надо будет смонтировать по схеме, приведенной на рис.3.

Рис.3
Яркость свечения регулируют подбором момента срабатывания триггера DD1.4, а значит, и тринистора, изменением постоянной времени цепи R11R10C6 переменным резистором R11. В остальном устройство работает аналогично.
© Радио, №6, 1993 г.
И.Нечаев, г.Курск