На промышленных объектах в основном используются для сигнализации о пожаре тепловые датчики (они наиболее дешевы). Особенность их устройства такова, что они подают сигнал тревоги, когда охраняемое помещение уже сгорело. Наиболее надежны, по мнению пожарных, считаются датчики, срабатывающие на дым.

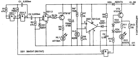
Один из вариантов выполнения датчика дыма приведен на рисунке выше. Cхема состоит из генератора (на элементах микросхемы DD1.1, DD1.2, С1, R1, R2), формирователя коротких импульсов (на DD1.3 и С2, R3), усилителя (VT1) и излучателя (HL1) ИК-импульсов, а также компаратора (DD2) и ключа на транзисторе (VT2). При приеме ИК-импульсов фотодиодом HL2 срабатывает компаратор и своим выходом разряжает конденсатор С4. Как только прохождение импульсов нарушится, конденсатор зарядится через резистор R9 в течение 1 секунды до напряжения питания, и начнет работать элемент D1.4. Он пропускает импульсы генератора на коммутатор тока VT2. Применение светодиода HL3 не является необходимым, но при его наличии удобно контролировать момент срабатывания датчика.

Конструкция датчика имеет рабочую зону, при попадании в которую дыма ослабляется прохождение ИК-импульсов, а если не смогли пройти несколько импульсов подряд — срабатывает датчик (что обеспечивает помехоустойчивость схемы). При этом в соединительной линии появляются импульсы тока, которые и выделяет схема контроля, приведенная ниже.

Датчиков дыма к одному охранному шлейфу можно подключать (параллельно) много. При настройке схемы контроля резистором R14 устанавливаем транзисторы так, чтобы VT3 и VT4 находились в запертом состоянии (светодиод HL4 не светится). Один датчик дыма в режиме ОХРАНА потребляет ток не более 3 мА и проверен при работе в диапазоне температур от -40 до +50 °С. Выход схемы контроля (коллектор VT4) может подключаться к системе охраны непосредственно вместо датчика. При использовании нескольких датчиков, одновременно установленных в разных местах, схему можно дополнить индикатором номера сработавшего датчика дыма. Для этого нужно, чтобы частоты генераторов (зависит от С1 и R2) отличались друг от друга, а воспользовавшись цифровым индикатором частоты, легко будет определить место возгорания. При этом отпадает необходимость вести охранные шлейфы отдельно до каждого датчика, что значительно упростит разводку проводов и снизит их расход. Транзисторы VT1 и VT2 могут быть заменены на КТ814. ИК-диоды подойдут многих других типов, но при этом может потребоваться подбор номинала резистора R6. Конденсаторы использованы С1, С2, С4, С5 типа К10-17а, СЗ — К53- 18-16В, С6 - К50-6-16В. Резистор R14 типа СП5-2, остальные типа С2-23. Датчик дыма целесообразно устанавливать в помещениях, где хранятся легко воспламеняющиеся предметы, а размещать в местах, где проходит поток воздуха, например вблизи вентиляционного отверстия, - в этом случае возгорание будет обнаружено раньше. Схема может найти и другие применения, например в качестве бесконтактного датчика для охранной сигнализации или устройств автоматики.