Устройство является универсальным и предназначено для поддержания фиксированного значения заданной положительной температуры в диапазоне +1...80 °С с точностью 0,2 °С. Термостабилизатор может применяться в искусственном инкубаторе для выведения цыплят из яиц (+37,5 °С), сушильном шкафу (+60 °С), домашней бане или же поддерживать положительную температуру (+2 °С) в утепленном хранилище для овощей на балконе при отрицательной температуре окружающего воздуха. При этом на работе устройства не сказывается возможная нестабильность сетевого напряжения. Питается устройство по бестрансформаторной схеме непосредственно от сети 220 В, что позволяет значительно уменьшить его габариты.
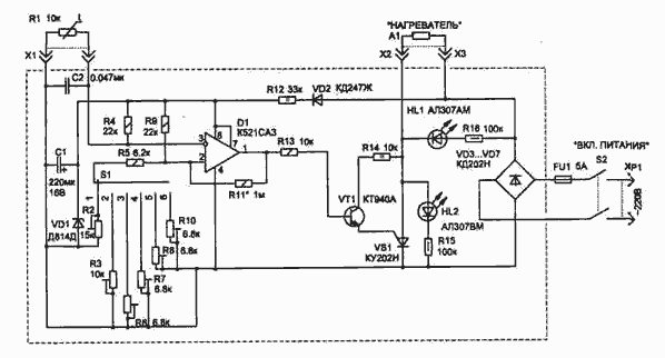
Принцип работы схемы на компараторе D1 в особых пояснениях не чуждается — он часто применяется в различных устройствах и описан в литературе. Особенностью данного включения компаратора является управление выходной нагрузкой по эмиттерному выходу микросхемы. Использование транзистора VT1 позволяет улучшить работу компаратора и упростить схему управления тиристором.

В качестве нагревателя подойдет любая нагрузка мощностью не более 1000 Вт (например, "воздушный" ТЭН на 500 Вт — он более долговечен, чем нагреватель в виде лампочки). Если же требуется управлять более мощной нагрузкой, то диоды VD3...VD7 необходимо применять на больший допустимый рабочий ток (например Д246А, Б, Д247А, Б) и подключить дополнительный тиристор совместно с еще одним транзистором КТ940А аналогично с приведенной схемой. Сигнал управления второй нагрузкой (она подключается к отдельным гнездам) снимается с вывода D1/1. Для управления нагрузкой мощностью более 1000 Вт можно применить один тиристор типа Т122-20-4 или Т122-25-4 (последняя цифра в обозначении может быть и больше). Индикаторами режимов работы схемы являются светодиоды HL1, HL2. Так, при включении устройства тумблером S2, если не подключен нагревательный элемент А1 (или он перегорел), то светиться будут одновременно оба светодиода, а при нормальной работе устройства свечение между индикаторами будет чередоваться: при нагреве А1 светится красный светодиод HL1 (тиристор открыт), при остывании HL2 — зеленый.
В схеме применен в качестве датчика температуры терморезистор типа СТЗ-19 (он обладает малыми габаритами и массой), но подойдут и другие типы (при этом может возрасти инерционность термостабилизации). Для удобства эксплуатации термостабилизатора используется переключатель (S1), который позволяет иметь 5 фиксированных значений температуры и одно изменяемое. В шестом положении переключателя переменный резистор R2 позволяет устанавливать любую температуру в указанном диапазоне. Наиболее часто используемые значения температуры удобно настроить резисторами R3, R6...R8, R10 (многооборотные, типа СП5-2) в соответствующих положениях переключателя. В схеме применены постоянные резисторы типа С2-23; переменный резистор R2 типа СП2-2; конденсатор С1— К50-15, С2 — К10-7В; переключатель S1 типа ПГ2-5-6П2Н; тумблер S2 типа ТЗ; разъем Х1 — РС-4; гнезда Х2, ХЗ типа Г4,0 . При изготовлении конструкции необходимо предусмотреть теплоотвод для тиристоpa VSI и диодов VD3...VD7.