Дистанционный ключ на ДУ от телевизора.

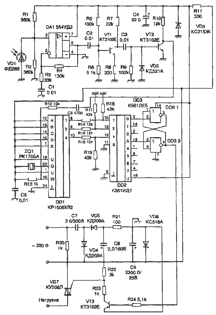
Устройство состоит из пульта ДУ от телевизора на базе микросхемы КР1506ХЛ1 и выключателя на базе микросхемы КР1560ХЛ2, который управляет электромагнитом или электродвигателем. Управляется выключатель кнопками переключения программ, расположенными на пульте ДУ. Например, при нажатии кнопки первой программы выключатель включается, а при нажатии четвертой - выключается.

Устройство представляет собой упрощенный вариант типовой схемы дистанционного управления телевизором. Роль дешифратора команд выполняет та же микросхема КР1506ХЛ2. Все цепи, которые использовались для включения питания телевизора, управления его регуляторами и системой АПЧ исключены. Оставлены только параллельные цифровые выходы «1», «2», «4» на которых при нажатии на пульте ДУ кнопок переключения программ устанавливается двоичный код их номера. Этот код поступает на входы десятичного дешифратора DD2, каждый выход которого соответствует номеру нажатой кнопки.

Для управления выключателем нагрузки используется RS-триггер на микросхеме DD3. В данном случае при нажатии кнопки «1» пульта ДУ логическая единица устанавливается на выводе 3 DD2. В результате на выходе RS-триггера устанавливается единица, которая сохраняется при нажатии любых других, кроме 4-й, кнопок пульта. При нажатии кнопки «4» па выходе RS-триггера установится логический нуль. Импульсная посылка принимается диодом VD1 и усиливается усилителем, выполненным на микросхеме DA1 и транзисторах VT1, VT2, до уровня, необходимого для нормальной работы микросхемы DD1. В зависимости от принятой импульсной посылки на выходах 1, 2, 4 (выводы 8, 9,10 соответственно) появится двоичный код номера включенного канала, который преобразуется в уровень логической «1» дешифратора DD2. Появление логической «1» на выводе 3 микросхемы DD2 приводит к установке на выходе RS-триггера (вывод 4 DD3) высокого уровня и, соответственно, к включению исполнительного устройства. Аналогично появление логической «1» на выводе 15 DD2 приводит к выключению исполнительного устройства и запиранию тайника. Для включения нагрузки используется симистор. Это позволило упростить схему. Дело в том, что обычный тиристор требует установки мостового выпрямителя па выходе. В результате питание на микросхемы устройства пришлось бы подавать от низковольтного стабилизатора напряжения с гасящим резистором. При этом резистор, имеющий, в отличие от конденсатора, активное сопротивление, будет достаточно сильно нагреваться. В данном случае избыток напряжения гасится реактивным сопротивлением конденсатора С7, мощность на котором практически не рассеивается

Схема источника питания построена таким образом, что на управляющий электрод симистора VD7 подается отрицательное относительно катода напряжение. Это позволяет управлять симистором постоянным током. Напряжение питания микросхемы КР1506ХЛ2 должно быть +18 В, в то же время питать микросхемы серии К561 можно напряжением не более 15 В и подавать на их входы уровни выше напряжения питания тоже нельзя. Для питания этих микросхем и усилителя фотоприемника служит параметрический стабилизатор на элементах R11 и VD3. А делители на резисторах R14-R19 согласуют выходные уровни микросхемы DD1 с входными для микросхемы DD2. Схема фотоприемника отличается от типовой, она имеет меньшее входное сопротивление и поэтому менее подвержена воздействию помех.

Назад