Многие любители мастерить нередко пытаются приспособить трехфазные электродвигатели для различных самодельных станков: заточных, сверлильных, деревообрабатывающих и других. Но вот беда— не каждый знает, как питать такой электродвигатель от однофазной сети. Среди различных способов запуска трехфазных электродвигателей наиболее простой и эффективный - с подключением третьей обмотки через фазосдвигающнй конденсатор. Полезная мощность, развиваемая при этом электромотором, составляет 50—60 % его мощности в трёхфазном режиме. Однако не все трехфазные электродвигатели хорошо работают от однофазной сети. К ним относятся, например, электромоторы с двойной клеткой короткозамкнутого ротора серии МД. Поэтому предпочтение следует отдать трехфазным электродвигателям серий А, АО, АО2, АОЛ, АПН, УАД и др. Чтобы электромотор с конденсаторным пуском работал нормально, емкость конденсатора должна меняться в зависимости от числа оборотов. Поскольку на практике это условие выполнить трудно, двигателем обычно управляют двухступенчато — сначала включают с пусковым конденсатором, а после разгона его отсоединяют, оставляя только рабочий.

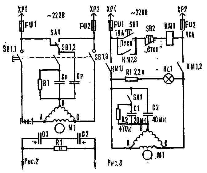
Если в паспорте электродвигателя указано напряжение 220/380 В, то включить мотор в однофазную сеть с напряжением 220 В можно по схеме, приведенной на рисунке 1. При нажатии на кнопку SB1 электродвигатель M1 начнет разгоняться, а когда он наберет обороты, кнопку отпускают — SВ1.2 размыкается, a SB1.1 и SВ1.3 остаются замкнутыми. Их размыкают для остановки электродвигателя. При соединении обмоток электродвигателя в «треугольник» емкость рабочего конденсатора определяют по формуле:
Ср = 4800 x (I / U)
где: Ср — емкость конденсатора, мкФ; I — потребляемый электродвигателем ток, А; U — напряжение сети, В. Если мощность электродвигателя известна, потребляемый им ток определяют по формуле:
I = P / (1.73 x U x n x cosf)
где: Р — мощность электродвигателя (указана в паспорте}, Вт; U — напряжение сети. В; n — КПД, cos f — коэффициент мощности.
Емкость пускового конденсатора выбирают в 2-2,5 раза больше рабочего, а их допустимые напряжения должны не менее чем в 1,5 раза превышать напряжение сети. Для сети 220 В лучше применить конденсаторы марки МБГО, МБГП, МБГЧ с рабочим напряжением 500 В и выше. В качестве пусковых можно использовать и электролитические конденсаторы К50-3, ЭГЦ-М, КЭ-2 с рабочим напряжением не менее 450 В (при условии кратковременного включения). Для большей надежности их включают по схеме, показанной на рисунке 2. Общая емкость при этом равна с/2. Пусковые конденсаторы зашунтируйте резистором сопротивлением 200—500 кОм, через который будет «стекать» оставшийся электрический заряд. Эксплуатация электродвигателя с конденсаторным пуском имеет некоторые особенности. При работе в режиме холостого хода по питаемой через конденсатор обмотке протекает ток, на 20-40 % превышающий номинальный. Поэтому, если электромотор будет часто использоваться в недогруженном режиме или вхолостую, емкость конденсатора Ср следует уменьшить. При перегрузке электродвигатель может остановиться, тогда для его запуска снова подключите пусковой конденсатор (сняв или снизив до минимума нагрузку на валу). На практике значения емкостей рабочих и пусковых конденсаторов в зависимости от мощности электродвигателя определяют из таблицы.
| Мощность трехфазного электродвигателя, кВт | 0,4 | 0,6 | 0,8 | 1,1 | 1,5 | 2,2 |
| Минимальная емкость конденсатора С , мкФ | 40 | 60 | 80 | 100 | 150 | 230 |
| Емкость пускового конденсатора (Сп), мкФ | 80 | 120 | 160 | 200 | 250 | 300 |
Для запуска электродвигателя на холостом ходу или с небольшой нагрузкой емкость конденсатора Сп можно уменьшить. Например, для включения электродвигателя АО2 мощностью 2,2 кВт на 1420 об/мин можно использовать в качестве рабочего конденсатор емкостью 230 мкФ, пускового —150 мкФ. При этом электродвигатель уверенно запускается при небольшой нагрузке на валу. Реверсирование электромотора осуществляют путем переключения фазы на его обмотке тумблером SA1 (рис, 1). На рисунке 3 приведена электрическая схема переносного универсального блока для пуска трехфазных электродвигателей мощностью около 0,5 кВт от однофазной сети без реверсирования. При нажатии на кнопку SB1 срабатывает магнитный пускатель, КМ1 (тумблер SA1 замкнут и своей контактной системой КМ1.1, КМ1.2 подсоединяет электродвигатель Ml к сети220 В. Одновременно третья контактная группа КМ1.3 блокирует кнопку SB1. После полного разгона электродвигателя пусковой конденсатор С1 отключают тумблером SA1. Останавливают электромотор нажатием на кнопку SB2.
В устройстве применены магнитный пускатель типа ПМЛ, рассчитанный на переменный ток напряжением 220 В; SB1, SB2 — спаренные кнопки ПКЕ 612, SA1—тумблер Т2-1; резисторы: R1 — проволочный ПЭ-20, R2 — МЛТ-2, С1, С2 — конденсаторы МБГЧ на напряжение 400 В (С2 составлен из двух параллельно соединенных конденсаторов по 20 мкФ х 400 В); HL1 — лампа КМ-24 (24 В, 100 мА, M1 — электродвигатель 4А71А4 (АО2-21-4) на 0,55 кВт, 1420 об/мин.
Пусковое устройство смонтировано в жестяном корпусе размером 170х140х70 мм (рис. 4). На верхней панели расположены кнопки «Пуск» и «Стоп», сигнальная лампа и тумблер отключения пускового конденсатора. На передней боковой стенке установлен самодельный трехконтактный разъем, изготовленный из трех отрезков медной трубки и круглой электровилки, в которой добавлен третий штифт. Пользоваться тумблером SA1 (рис. 3) не совсем удобно.

Рис. 1. Электрическая схема включения трехфазного электродвигателя в однофазную сеть.
Рис. 2. Схема соединения электролитических конденсаторов.
Рис. 3. Электрическая схема пускового устройства для трехфазного электродвигателя мощностью 0,5 кВт.
Рис. 4. Внешний вид пускового устройства:
1 — корпус, 2 — ручка для переноски, 3 — сигнальная лампа, 4 — тумблер отключения пускового конденсатора, 5 — кнопки «Пуск» и «Стоп», 6 — доработанная электровилка, 7 — панель с гнездами разъема.
Рис. 5. Электрическая схема пускового устройства с автоматическим отключением конденсатора Сп.
Поэтому лучше, если пусковой конденсатор будет отключаться автоматически с помощью дополнительного реле К1 (рис. 5) типа МКУ-48. При нажатии на кнопку SB1 оно срабатывает и своей контактной парой К1.1 включает магнитный пускатель КМ1, а К1.2 — пусковой конденсатор Сп. В свою очередь, магнитный пускатель КМ1 самоблокируется с помощью своей контактной системы КМ1.1, а КМ1.2 и КМ1.3 подсоединяют электродвигатель к сети. Кнопку SB1 держат нажатой до полного разгона электромотора, а затем отпускают — реле К1 обесточивается и отключает пусковой конденсатор, который разряжается через резистор R2. В то же время магнитный пускатель КМ1 остается включенным, обеспечивая питание электродвигателя в рабочем режиме. Останавливают электромотор нажатием на кнопку SB2 «Стоп». В заключение несколько слов об усовершенствованиях, расширяющих возможности пускового устройства. Конденсаторы Ср и Сп можно сделать составными со ступенями по 10—20 мкФ и подсоединять их многолозицмонными переключателями (или двумя-четырьмя тумблерами) в зависимости от параметров запускаемых электродвигателей. Лампу накаливания HL1 с гасящим проволочным резистором рекомендуем заменить на неоновую с дополнительным резистором небольшой мощности; вместо спаренных кнопок ПКЕ612 применить две одиночные любого типа; плавкие предохранители можно заменить автоматическими на соответствующий ток отсечки.
С. РЫБАС, п. Новобратцевский, Московская обл. «М-К» № 2, 1986 г.