Озонаторы широко применяют для освежения и обеззараживания воздуха в непроветриваемых помещениях, например, чуланах, подвалах, туалетах и курительных комнатах. При этом устраняются запахи иулучшаетсяестественная циркуляция воздуха. В домашних условиях такими приборами можно периодически обрабатывать небольшие запасы свежих овощей и фруктов для их лучшей сохранности.

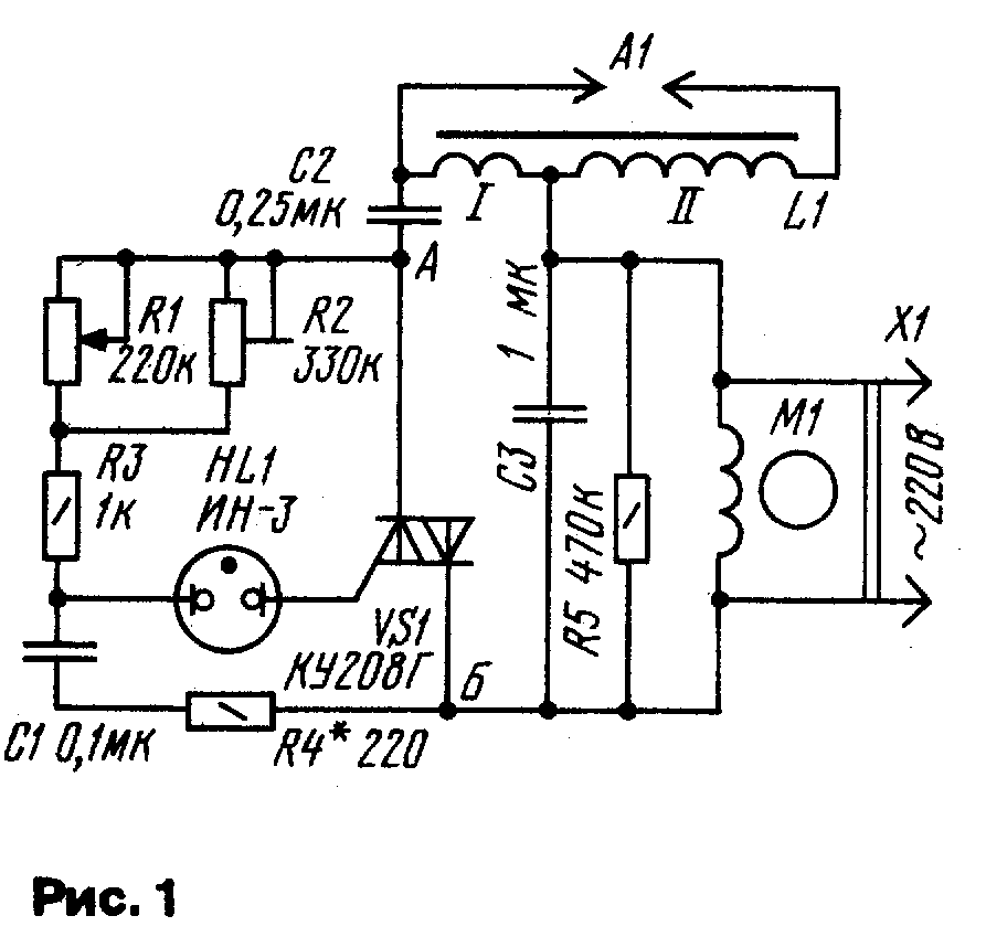
Несложный домашний озонатор можно сделать по схеме, приведенной на рис. 1. В устройство входят: преобразователь сетевого напряжения, основными элементами которого служат неоновая лампа HL и симистор VS1, индукционная катушка L1, элемент А1, создающий озон, и вентилятор с электродвигателем М1. За основу преобразователя напряжения взят симисторный регулятор мощности, описанный нами в «Радио», 1991, № 7, с.63. При включении озонатора в сеть, через обмотку! индукционной катушки, резисторы R1 и R2, R3, R4, заряжаются конденсаторы С1 и С2. При напряжении на конденсаторе С1 60...70 В неоновая лампа HL зажигается и включает симистор VS1. В этот момент конденсатор С2 быстро разряжается через симистор и обмотку катушки до сетевого напряжения, что приводит к выключению симистора. Сформированный таким образом короткий импульс тока создает на вторичной обмотке индукционной катушки высокое напряжение, создающее в элементе А1 коронный разряд. При следующем полупериоде сетевого напряжения конденсатор С1 вновь заряжается, но в другой полярности. А так как конденсатор С2 уже заряжен в предыдущий полупериод и полярность его заряда в данный момент совпадает с полярностью сети, поэтому в момент очередного включения симистора на первичную обмотку индукционной катушки поступает суммарное напряжение сети и конденсатора С2. Конденсатор С2 при этом перезаряжается, а симистор выключается. В следующий полупериод сетевого напряжения цикл формирования импульса повторяется.

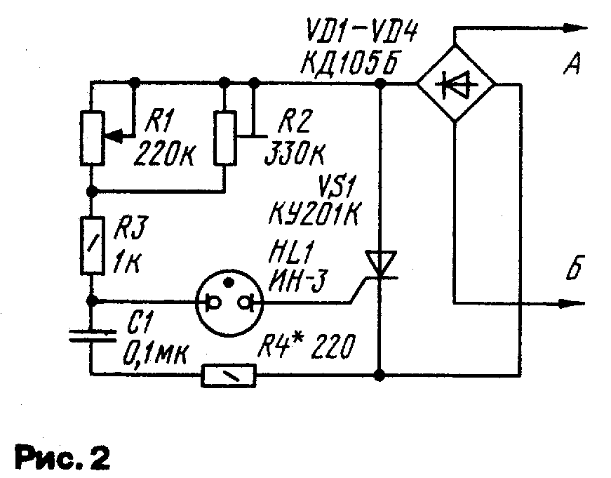
Использование в преобразователе симистора позволило повысить эффективность работы индукционной катушки и почти полностью исключить ее подмагничивание. Можно, конечно, использовать и тринистор. В этом случае преобразователь озонатора следует собирать по схеме на рис. 2.
Изготовление необходимой катушки
индуктивности—дело весьма трудоемкое. Поэтому
ее функцию в описываемом озонаторе выполняет
автомобильная катушка зажигания. Она может быть
любого типа, в том числе бывшая в употреблении, с
разрушенными контактами, поврежденным корпусом.
Катушку зажигания зажимают в тиски и в ее корпусе
по бортику делают ножовкой неглубокий пропил.
Затем осторожно снимают пластмассовую горловину
и вмесе с ней из масла извлекают саму катушку.
Провода обмоток аккуратно кусачками отделяют от
горловины, тампоном удаляют излишки масла с
обмоток и просушивают.
Внешний вид и деталировка элемента, вырабатывающего озон, показаны на рис. 3. Он разработан рекомендациям Дзержинского НИИ химического машиностроения. Элемент представляет собой два электрода 8 и 10, отделенных один от другого чистой пластинкой 9 оконного стекла толщиной 3мм размерами 80x80 мм. Сверху и снизу на них накладывают четыре прокладки 2, 3, 6, 7 размерами 100x20 мм, толщиной 2 мм и две изолирующие пластины 1 и 4 из стеклотекстолита (или гетинакса) толщиной 4...8 мм, которые затем стягивают четырьмя винтами 5 М4х12 мм. В результате в элементе между стеклом и электродами образуются две сквозные щели шириной 60 и высотой 2 мм, где и происходит коронный разряд. Для электродов размерами 70x70мм с контактными выводами используют л истовой алюминий (или его сплавы) толщиной 1мм. Конструкция.одного из возможных вариантов домашнего озонатора показана на рис.4. Монтажная плата преобразователя напряжения и озонирующий элемент укреплёны на изолирующем основании с помощью металлических уголков, а индукционная катушка—алюминиевым хомутом через полоску стеклоткани. Симистор (или тринистор) желательно установить на дюралюминиевом уголке. Провод, идущий от ленточного вывода индукционной катушки к озонирующему элементу, дрлжёй быть по возможности коротким и в фторопластовой трубке. Можно использовать отрезок коаксиального кабеля, сняв с него экранирующую оплетку. Ось резистора R1 (СП-1) должна выходить из корпуса наружу и снабжена изолирующей ручкой. Конденсаторы С1 — К73-11 на номинальное напряжение 160 В, С2 и СЗ — МБМ на номинальное напряжение 400 В.
Для циркуляции озона в
помещении в устройство встроен вентилятор типа
ВН-2, применяемый во многих промышленных
электронных приборах. Но разумеется, можно
использовать обычный настольный вентилятор и им
продувать прибор через декоративные решетки. 
Налаживание прибора сводится к установке диапазона регулирования интенсивности озонообразования. Для этого движок переменногорезистора R1 устанавливают в крайнее верхнее (по схеме) положение, а подстроечного резистора R2—в крайнее нижнее. После включения в сеть неоновая лампа должна загореться. Плавным увеличением сопротивления резистора R2 добиваются появления в озонирующем элементе характерного трескообразного шума и слабого фиолетового свечения барьерного разряда. При дальнейшем увеличении сопротивления резистора интенсивность этих явлений нарастает, а затем происходит срыв генерации. В этот момент надо несколько уменьшить сопротивление подстроечного резистора до восстановления генерации. Интенсивность генерации регулируют переменным резистором R1. Все это делают с особой осторожностью, исключая касание руками токонесущих частей, особенно озонирующего элемента.
Сборка озонатора заканчивается установкой вентилятора, экранирующего металлического (или из фольгированного текстолита) кожуха и декоративных решеток. Описанный электроприбор относится к озонаторам низких концентраций озона, поэтому для освежения воздуха в жилом помещении необходимо включение его на 15...20 мин. В режиме непрерывного вентилирования уровень озонообразования может быть снижен резистором R2. Для обработки же небольшого овощехранилища необходима длительная работа прибора (несколько часов) намаксимальном уровне озонообразования.
Н.ТАЛАНОВ, В.ФОМИН, г. Нижний Новгород
РАДИО № 8, 1993г.