Для защиты электродвигателей от перегрузок до последнего времени обычно применяют предохранители в сочетании с магнитными пускателями. Предохранители надежно защищают устройство от перегрузки по току, но нередко являются первопричиной другого вида повреждений — обрыва фазы.
Защиту от чрезмерно большого тока обеспечивают и тепловые реле магнитных пускателей, которые включают в цепь питания электродвигателя. Однако такое защитное устройство требует подстройки при изменении внешней температуры и подбора нагревательных элементов в соответствии с мощностью защищаемого электродвигателя.
Описываемое ниже автоматическое устройство позволяет защитить электродвигатель как от перегрузки по току, так и от обрыва фазы. Оно регистрирует ток в каждом фазном проводнике и сравнивает наибольшее из измеренных значений с установленным порогом срабатывания.

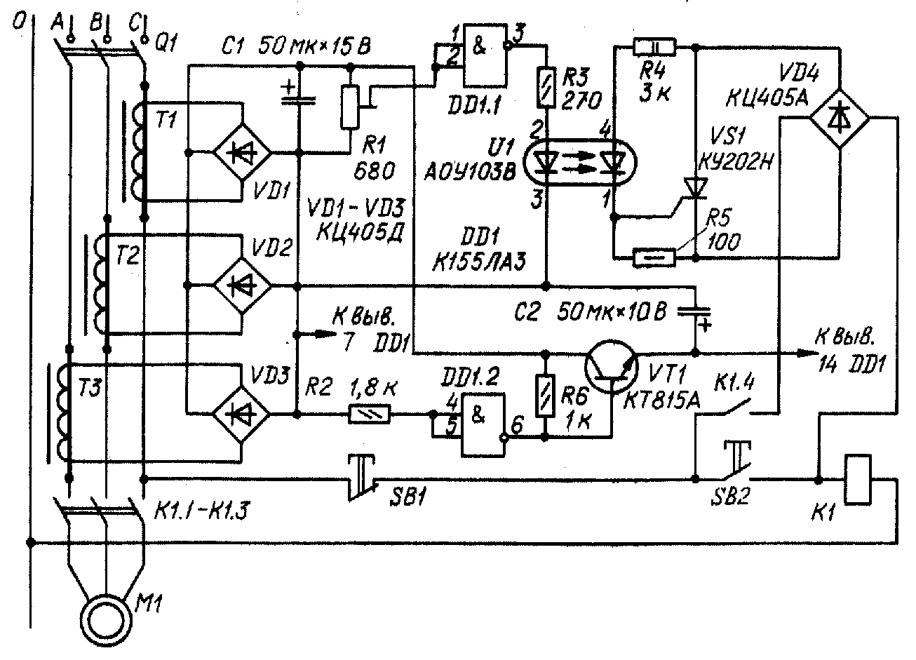
Устройство содержит три одинаковых трансформатора тока Т1—Т3 (см. схему), первичные обмотки которых включены в фазные провода. Напряжение со вторичных обмоток трансформаторов поступает на вход порогового узла, функции которого выполняет логический элемент 001.1. Стабилизатор напряжения, питающий микросхему DD1 выполнен на транзисторе VT1 и элементе DD1.2, который использован здесь как источник образцового напряжения [1, 2]. Выходное напряжение стабилизатора в некоторых пределах можно изменять, подбирая резистор R2. Включают и выключают электродвигатель M1 кнопками SB2 и SB1.
Если нажать на кнопку SB2, напряжение сети поступит на катушку К1 магнитного пускателя. Он сработает и своими контактами К1.1—К 1.3 включит электродвигатель. Кнопку SB2 необходимо держать нажатой до тех пор, пока ротор электродвигателя не достигнет номинальной частоты вращения (иначе устройство может сработать от повышенного по сравнению с номинальным пускового тока). Переменное напряжение вторичных обмоток трансформаторов Т1—Т3 выпрямляют диодные мосты VD1—VD3.
Напряжение на конденсаторе С2 подведено к входу порогового узла; оно же использовано для питания микросхемы (через стабилизатор). Резистор R1 предназначен для установки тока срабатывания устройства защиты при перегрузках, обрывах фазы и замыканиях. При нормальной работе электродвигателя на выходе элемента 001.1 будет сигнал высокого уровня, светодиод оптрона U1 включен, транзистор VS1 открыт. Он блокирует кнопку SB2, поэтому электродвигатель остается включенным и после ее отпускания.
При перегрузке, замыкании, неполнофазном режиме повышается напряжение на одной или нескольких вторичных обмотках трансформаторов, и, следовательно, на выходе элемента DD1.1 появится сигнал 0, Светодиод оптрона погаснет, тринистор закроется и катушка К1 магнитного пускателя будет обесточена. Контакты К1.1—К1.3 размыкают цепь питания электродвигателя. Вновь запустить его можно лишь после устранения причины срабатывания защиты.
В устройстве использованы постоянные резисторы МЛТ, подстроечный — СПЗ-27Б, конденсаторы К50-6, кнопочные переключатели — любой конструкции. Тринистор КУ202Н можно заменить на КУ202К, КУ202Л, КУ202М. Трансформаторы (они идентичны) намотаны каждый на кольцевом магнитопроводе типоразмера К20Х12Х6 из феррита 2000НН. Первичной обмоткой служит фазный проводник, пропущенный через отверстие магнитопровода. Число витков вторичной обмотки трансформаторов тока зависит от мощности используемого электродвигателя (исходное для эксперимента значение — 1000 витков провода ПЭВ-2 0,1). Его следует подобрать таким, чтобы при нормальном рабочем токе электродвигателя напряжение на вторичной обмотке трансформатора было 7...8 В. Налаживание устройства сводится к установке нужного порога срабатывания подстровчным резистором R1.
г. Георгиу-Деж Воронежской обл. В. КАЛАШНИК
РАДИО № 7, 1988 г.