Активный ответвитель ТВ сигнала.

Если необходимо подключить к фидеру телевизионной антенны два-три телевизора, целесообразно использовать активный ответвитель на полевом транзисторе (см. рис.1). Он практически не вносит рассогласования в фидер и в то же время обеспечивает выходной сигнал, достаточный для нормальной работы телевизора.

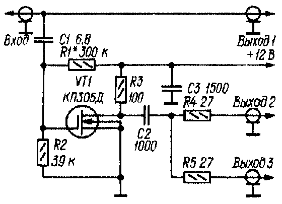
Устройство представляет собой апериодический усилитель РЧ с высокоомным входом и согласованным с 75-омным кабелем выходом. Полевой транзистор VT1 включен по схеме с общим истоком. Режим его работы задан напряжением на затворе, снимаемым с делителя R1R2, Входной сигнал поступает в цепь затвора через конденсатор небольшой емкости С1, усиленный сигнал снимается со стока и через конденсатор С2 и резисторы R4, R5 подается на антенные входы телевизоров.

Рис.1

При монтаже детали входной и выходной цепей усилителя необходимо расположить по разные стороны от транзистора. С фидером (на рис.1 - линия связи Вход -Выход 1) устройство соединяют следующим образом: удалив небольшой участок изолирующей оболочки кабеля, надрезают оплетку и изоляцию внутренней жилы, после чего к последней припаивают конденсатор С1 (его выводы необходимо укоротить до минимально возможной длины), а к оплетке - общий провод ответвителя. Требуемый уровень выходного сигнала устанавливают подбором резистора R1 (на практике - до получения тока стока в пределах 5...7 мА).
Как показали испытания, ответвитель хорошо работает во всех 12 каналах метрового диапазона волн. Взаимного влияния телевизоров, подключенных к основному фидеру и выходам ответвнтеля, не обнаружено. Для питания устройства необходим источник с малым напряжением пульсации (при недостаточной фильтрации на экране телевизора может наблюдаться помеха в виде неподвижной или перемещающейся горизонтальной полосы).

Н. ГОРЕЙКО, г. Лодыжин, Винницкой обл., Радио №7, 1987 г.

Назад