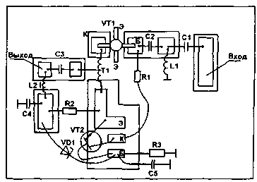
В последнее время резко увеличилось количество транслируемых телевизионных программ как на метровых, так и на дециметровых каналах. Мощный телевизионный сигнал от близко расположенных телепередатчиков перегружает антенный усилитель ДМВ. В результате появляются взаимные помехи. Ниже описан усилитель с автоматической стабилизацией рабочей точки (рис.1) за счет обратной связи по постоянному току, чем обеспечивается его работа в линейном режиме. На транзисторе VT1 выполнен сам усилитель, а на транзисторе VT2 - стабилизатор тока. Элементы С1, С2 и L1 образуют входной фильтр верхних частот. Коэффициент усиления предлагаемого усилителя, в зависимости от применяемого транзистора, может колебаться от 10 до 22 дБ. У меня с транзистором КТ3115 получился коэффициент усиления 20 дБ.
1.gif)
Рис.1.
Конденсатор С3 и дроссель L2 служат для развязки по питанию при питании усилителя по кабелю снижения. Для улучшения соотношения сигнал/ шум усилитель монтируется в непосредственной близости от антенны ДМВ. Смонтированная плата усилителя помещается в герметичную коробку. Вход и выход кабеля герметизируются сырой резиной.
2.gif)
Рис.2.
Эскиз печатаной платы приведен на рис.2. Катушка L1 - бескаркасная, содержит 5 витков провода диаметром 0,5...0,7 мм, намотанных на оправке диаметром 3 мм, длина намотки - 5 мм. Конденсаторы С1 и С2 желательно использовать безвыводные,для планарного монтажа. Трансформатор Т1 наматывается на ферритовом кольце диаметром 4...7 мм с проницаемостью 200...1000 сложенным вдвое проводом ПЭВ-2 диаметром 0,2 мм. Затем начало одной обмотки соединяется с концом другой, образуя среднюю точку, количество витков - 6. Дроссель L2 можно изготовить на ферритовом стерженьке от подстроечных катушек диаметром 5 мм, он содержит 30...40 витков провода диаметром 0,1 мм, после намотки витки фиксируются каплей клея. Стабилитрон VD1 можно заменить тремя кремниевыми диодами типа КД503. Настройка усилителя заключается в установке коллекторного тока транзистора VT1 на уровне 4 мА подбором величины сопротивления резистора R2, и достижении максимума усиления сигнала наиболее слабого телеканала путем растяжения/сжатия витков L1.
Литература:
1. Горшков Б. Элементы радиоэлектронных
устройств. - М.: Радио и связь, 1988.
2. Боровской В. Справочник по схемотехнике для
радиолюбителя. - TexHiKa, 1987.
В.БАШКАТОВ (USOIZ), Донецкая обл., г.Горловка.
Радиолюбитель № 7, 99