Цифровой вольтометр с автоматическим выбором предела измерения.

В различных устройствах для реализации функции аналого-цифрового преобразования (АЦП) стали использовать специализированные БИС. Редакция журнала познакомила читателей с одним из вариантов мультиметра, собранном на подобной БИС,— КР572ПВ2, (К572ПВ2) [1]. В настоящее время отечественная промышленность выпускает другую БИС этой серии — КР572ПВ5. Она имеет выходы для работы с жидкокристаллическими индикаторами (ЖКИ) и может работать от однополярного источника питания напряжением 9 В, что позволяет использовать ее в малогабаритных и экономичных измерительных приборах (мультиметрах). АЦП КР572ПВ5 преобразует входное постоянное напряжение (Uвх.макс.= ±199,9 мВ) в параллельный семисегментный код, непосредственно управляющий 3,5-разрядным ЖКИ. Однополярное напряжение питания 9 В преобразовано внутренней схемой в стабилизированное положительное и нестабилизированное отрицательное напряжения (2,8 и —6,2 В) относительно вывода 32 (аналоговая общая шина). Эти напряжения необходимы для питания аналоговой части КР572ПВ5. Цифровая часть также питается от внутреннего стабилизированного источника АЦП напряжением 5 В с выводами 1 и 37 (цифровая общая шина). Тактовый генератор БИС подключен к выв. 21 через делитель 1:800 и при частоте генератора 50 кГц на выв. 21 получен сигнал прямоугольной формы частотой 62,5 Гц, необходимый для работы ЖКИ. Принцип работы КР572ПВ5 аналогичен описанному в [1] для КР572ПВ2 и в данной статье не рассматривается.

Предлагаемый вниманию читателей измерительный прибор предназначен для измерения напряжения постоянного тока и сопротивления.

Основные технические характеристики:

Верхние пределы измерения, В, кОм..............................................................................2, 20, 200, 2000

Выбор предела измерения...............................................................................................автоматический

Время установления показаний, при тактовой частоте 50 кГц, с, не более...........................2,5

Входное сопротивление, МОм, не менее...................................................................................9

Потребляемый ток, мА, не более.................................................................................................1

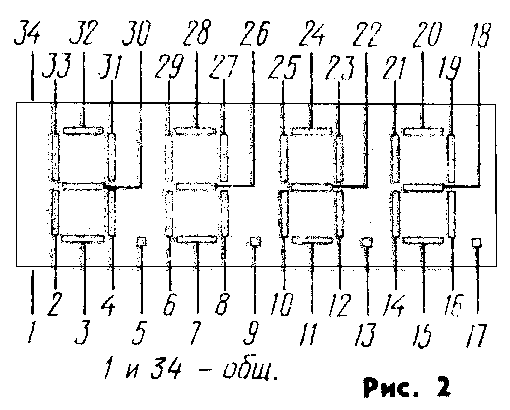
Принципиальная схема прибора приведена на рис. 1. Она состоит из переключателя режима измерения SA1, аналоговых ключей DD2—DD6 с образцовыми резисторами R2—R5 и R7—R10, АЦП DD1 с источником образцового напряжения VT1, ЖКИ HG1 и устройства автоматического выбора предела измерения (УАВПИ) на микросхемах DD7—DD11. В целях упрощения на схеме показано подключение лишь тех сегментов индикатора, которые содержат необходимую информацию для работы УАВПИ. Полная нумерация выводов ЖКИ показана на рис. 2.

Принцип работы УАВПИ основан на оценке состояния разрядов сотен и тысяч 3,5-разрядного выходного параллельного кода КР572ПВ5 (сегменты a, b, g, f — сотен и b, с — тысяч). Если входное напряжение UBX АЦП по абсолютной величине больше, чем 199,9 мВ, то наступает режим перегрузки и на индикаторе будет 1 в разряде тысяч, а в разряде сотен (и в остальных разрядах) индикация отсутствует. Такой сигнал на выходе БИС вызывает переключение измерительного прибора на самый грубый предел. С другой стороны, если |UBX| <20 мВ, то на индикаторе 0 или 1 в разряде сотен, при этом в разряде тысяч индикации нет. Такие комбинации выходного кода дают разрешение на переход к более чувствительному пределу.

Сигнал перегрузки и «недогрузки» АЦП выдает декодер на элементах DD7, DD8, DD9.1. Сигналы с декодера управляют работой счетчика DD10.1 и счетчика-дешифратора DD11. Последовательно включенные счетчики DD10.1 и DD10.2 (у последнего используется только один разряд) осуществляют деление частоты 62,5 Гц (выв. 21 DD1) на 32. Полученная частота (около 2 Гц) поступает на счетный вход DD11 и является тактовой при переключении пределов измерения. При перегрузке АЦП выход DD8.4 имеет уровень 1, который сбрасывает счетчик DD11 до нулевого отсчета, при этом уровень 1 на выходе младшего разряда этого счетчика соответствует включению наибольшего предела измерения. Одновременно уровень 0 на выходе DD8.3 запрещает счет DD10.1. При «недогрузке» АЦП на входе СР DD10.1 будет 1, разрешающая счет, при этом в работу включается и счетчик DD11. На его выходе при каждом счетном такте в разряде, соответствующем номеру такта, будет высокий логический уровень. Число используемых разрядов DD11 равно числу пределов измерения. Если оптимальный предел измерения достигнут, то 0 на выходе DD8.3 остановит счетчик DD10.1, а вместе с ним DD10.2 и DD11. При достижении минимального предела DD10.1 блокируется через вход R, даже если АЦП все еще находится в состоянии «недогрузки». Переключение пределов измерения вольтомметра осуществляют аналоговые ключи DD2—DD5. Их состояние определяет выходной код DD11. Ключи имеют достаточно большое сопротивление в проводящем состоянии (несколько сотен Ом), но включены таким образом, что практически не вносят погрешности ни на одном из пределов измерения. Измеряемое напряжение поступает на вход DD1 через переключатель рода работы SA1 (верхнее положение) и делитель, верхним плечом которого является резистор R1, нижним — один из резисторов R2—R5 в зависимости от состояния ключей DD2, DD3. Максимальное напряжение нижнего плеча делителя ограничено диодами VD1-VD4. Источник образцового напряжения выполнен на транзисторе VT1, работающем в термостабильной точке. Образцовое напряжение 100 мВ с резистора R16 подано на выв. 36 DD1 через один из ключей DD6.

В вольтомметре применен нетрадиционный способ измерения сопротивления [2]. Он пояснен схемой на рис. 3. Через последовательно соединенные образцовый резистор R06P и измеряемый резистор Rx протекает некоторый ток 10 под действием напряжения U0- Измеряемый резистор подключен к входу АЦП, а образцовый — вместо источника образцового напряжения. Так как через резисторы R0gp и Rx протекает один и тот же ток, то отношение падений напряжения на них равно отношению их сопротивлений. Таким образом,

Аинд = Uх / Uобр = IoRx / IoRобр = Rx / Rобр

где: Аинд — показания индикатора.

Преимущество этого способа измерения сопротивления состоит в простоте его реализации и независимости точности измерений от нестабильности напряжения U0. В режиме измерения сопротивлений переключатель SA1 переводят в нижнее положение. Положительное напряжение источника питания подано через VD7 и R6 на ключи DD4, DD5, осуществляющие необходимую коммутацию образцовых резисторов R7—R10 в зависимости от предела измерения выбранного УАВПИ. Напряжение на образцовом и измеряемом резисторах ограничено диодами VD5 и VD6 для исключения режима перегрузки интегратора АЦП. Для этой же цели служит нижний (по схеме) ключ DD6. С его помощью постоянная времени интегратора при измерении сопротивлений увеличена в два раза. Транзистор VT2 служит инвертором сигнала, управляющего ключами DD6. Питание вольтомметра осуществляется от батареи напряжением 9 В («Крона ВЦ», «Корунд») либо от аккумулятора 7Д-0,115-У 1.1. На все микросхемы, кроме DD6, питание подано от внутреннего стабилизатора DD1, так как потребляемый ими ток чрезвычайно мал при работе с низкой частотой переключения.

Конструкция рассчитана на подготовленных радиолюбителей, поэтому описание монтажной платы и конструкции прибора не приводится. Необходимо только обратить внимание, чтобы переключатель SA1 имел между группами контактов надежную изоляцию, рассчитанную на максимальное измеряемое напряжение. На это же напряжение должен быть рассчитан и резистор R1, на котором падает большая часть измеряемого напряжения. Его можно составить из нескольких низковольтных резисторов подходящих номиналов. Следует отметить, что точность прибора ограничена практически только точностью и стабильностью источника образцового напряжения и резисторов R2—R5, R7—R10, которые должны быть прецизионными. В крайнем случае их можно выбрать из распространенных резисторов с допуском не хуже 5 %, но температурная и временная стабильность этих резисторов будет невысокой. В качестве резистора R16 можно использовать непроволочный многооборотный резистор СПЗ-37. В случае применения проволочного резистора типа СП5-2 его номинал надо уменьшить до 100...150 Ом и включить последовательно с ним постоянный резистор на 300... 360 Ом, иначе точно выставить образцовое напряжение будет затруднительно из-за большой дискретности изменения его сопротивления при подстройке. Конденсаторы С4, С5 должны быть с малым коэффициентом диэлектрической абсорбции — К71-5, К72-9, К73-16 и т. п. До установки транзистора VT1 в схему прибора нужно найти его термостабильную рабочую точку. Для этого нужно собрать источник образцового напряжения (VT1, R13, R16), включить последовательно с резистором R16 миллиамперметр с максимальным током 1 мА и подать на затвор VT1 напряжение +2,8 В относительного нижнего (по схеме) вывода резистора R16 от любого стабилизированного источника напряжения. Далее, изменяя температуру транзистора VT1 (например. касаясь его корпуса сначала горячим, затем холодным металлическим предметом), добиться наименьшего изменения тока стока в рабочем диапазоне температуры (0...40 °С) подбором резистора R13. Номинал этого резистора может значительно отличаться от указанного на схеме.

Правильно собранный вольтомметр начинает работать сразу и нуждается лишь в установке резистором R19 частоты тактового генератора КР572ПВ5 50 кГц и резистором R16 образцового напряжения 100 мВ (в режиме измерения напряжения).

Вольтомметр может измерять и переменные напряжения, для этого необходимо предусмотреть включение детектора средневыпрямленных значений в разрыв провода, идущего от SA1 к резистору R14. В связи с тем, что детектор вносит своим фильтром дополнительную постоянную времени (инерционность) в контур системы автоматического выбора предела измерения, то возможно возникновение колебаний в этом контуре, в результате чего вольтом-метр может «проскакивать» нужный предел измерения. Для устранения этого недостатка необходимо лишь уменьшить емкость фильтра, что возможно только до определенного предела, либо уменьшить тактовую частоту переключения пределов измерения. Последний способ очень легко реализуем. Достаточно при переходе на измерение переменного напряжения переключить вход CN DD11 на выход следующего незадействованного разряда DD10.2 (выв. 12). В результате переключение пределов будет происходить в два раза медленнее. Это увеличит время установления показаний до 5 с и обеспечит уверенную работу УАВПИ.

В. ЦИБИН, г. Березовский Свердловской обл.

ЛИТЕРАТУРА:

1. Ануфриев Л. Мультиметр на ВИС.— Радио, 1906, № 4, с. 34—39.

2. Oswald G. Widerstand-Messung mit DVM.— Funkschau, 1981, № 8, S. 98.

3. Raatsch P. Bereichsautomatik fur C7136D.— Radio fernsehen elektronik, 1986, № 10, S. 636— 638.

Радио № 10, 1989 г.

Назад