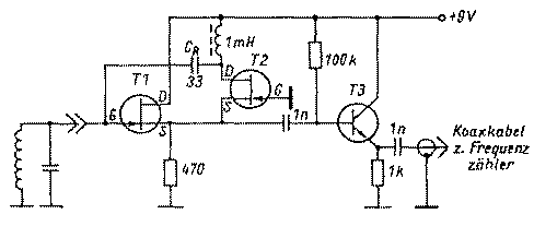
Предлагается приставка к частотомеру для определения резонансной частоты параллельного колебательного контура. Его схема (рис.1) хорошо для этого подходит, т.к. для обратной связи не надо делать отвод от катушки контура. Транзисторы Т1 и Т2 (BF244C) работают в схеме автогенератора, аналогичного известной ламповой схеме с катодной связью. Каскад на ТЗ (2N708 или ВС547В) - согласующий.

Puc.1.
Приведенная схема устойчиво работает в диапазоне 1...30 МГц. Важными являются величины индуктивности в цепи стока Т2 и конденсатора Сг в цепи обратной связи. Уменьшением индуктивности можно обеспечить измерение в 2-метровом диапазоне. Правда, при этом сильно возрастает нижняя граничная частота измерений. Для того, чтобы измерять и на KB, и на УКВ, можно ввести несколько переключаемых индуктивностей. При определении истинной частоты резонанса на УКВ необходимо учитывать также входную емкость схемы.
П.Шмидт (DJ9JFT)
Funk N4, 2001, с.29.