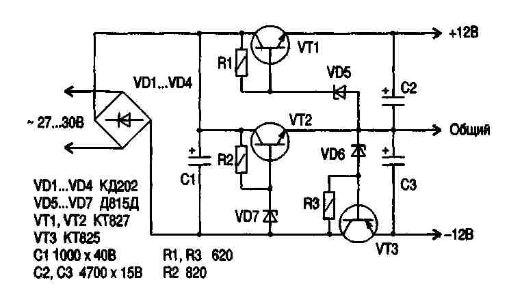
При конструировании различных усилителей мощности ЗЧ радиолюбители довольно часто сталкиваются с проблемой отсутствия двухполярного источника питания. Схема, изобиженная на рис.1, позволяет получить из обыкновенного питания двуполярное, кроме того, она сама по себе является стабилизатором. На вход можно подавать напряжение как переменное, так и постоянное, в последнем случае диоды VD1-VD4 можно исключить, но при этом при подключении придется соблюдать полярность.

рис.1
Рассмотрим работу устройства. Если присмотреться - схема состоит из трех простейших стабилизаторов напряжения. При подключении к источнику питания на коллектор VT2 поступает +27 В, с его эмиттера относительно минуса снимается стабилизированное +12 В, следовательно, между коллектором и эмиттером VT2 разница напряжений составляет 15 В Именно это напряжение и использует VТ1, на его эмиттере относительно эмиттера VT2 также стабилизированное +12 В, а относительно минуса напряжение +24 В. Все вроде бы хорошо, в работе разобрались, получили «плюс», «общий» и «минус» и нет необходимости в применении стабилизатора по минусу на VT3 Однако представим себе ситуацию короткое замыкание выхода верхнего по схеме плеча, тогда эмиттер VT2 окажется замкнутым с эмиттером VT1, на общем проводе относительно минуса окажется +24 В, проще говоря, на нижнем по схеме плече относительного «общего» будет -24 В Это может привести к выводу из строя питающей аппаратуры. Чтобы этого не произошло и установлен стабилизатор по минусу, собранный на VT3.

рис.2
Конструкция и детали Все детали стабилизатора, кроме транзисторов, установлены на печатной плате из однослойного фольгированного текстолита размером 35х95 мм. Транзисторы «посажены» на теплоотводы из дюралюминия и соединены с печатной платой отрезками многожильного провода. Номиналы конденсаторов и сопротивления резисторов могут быть изменены на 20-25 %. Печатная плата показана на рис.2. Если все детали исправны, правильно собранная схема в наладке не нуждается и начинает работать сразу
РАДИОАМАТОР 6/99, С.В. Прус, Хмельницкая обл.