Ремонт усилителя воспроизведена плейера иностранного производства часто бывает затруднителен из-за использования в нем низковольтной микросхемы, аналог которой найти очень трудно Поэтому приходится делать новую конструкцию на транзисторах или микросхемах отечественного производства, но в этом случае радиолюбитель испытывает определенные затруднения в выборе нужной схемы с низким значением напряжения источника питания. Для примера, при повторении схем, описанных в [1, 2], необходимо использовать 53 радиодетали в варианте на микросхемах или 72 радиодетали при транзисторном исполнении. Оптимальнее применить упрощенную схему [3]. У этой схемы очевидные преимущества - один активный элемент (микросхема К157УД2), малое количество используемых деталей, достаточно хорошие характеристики. Но есть один существенный и вроде бы непреодолимый для низковольтного плейера недостаток: высокое напряжение питания микросхемы (в данном усилителе 9В). Из создавшегося положения есть выход — использовать преобразователь первичного напряжения питания плейера, обычно 3 В, во вторичное, более высокое, от которого уже и питать усилитель. В таком варианте для конструкции потребуются всего 10 элементов для преобразователя и 21 для усилителя.
Разработанный вариант преобразователя питания усилителя воспроизведения плейера (питание коллекторного электродвигателя осуществляется непосредственно от источника тока) имеет следующие технические характеристики:
Выходное напряжение, В, при выходном токе 15 мА и входном напряжении 2-3 В.................7 - 10
Коэффициент пульсаций вторичного напряжения, %, не более...................................................0,001
Частота преобразования, кГц.........................................................................................................100...200
КПД, %, не менее ................................................................................................................................. 55
Габариты, мм...................................................................................................................................14х10х10
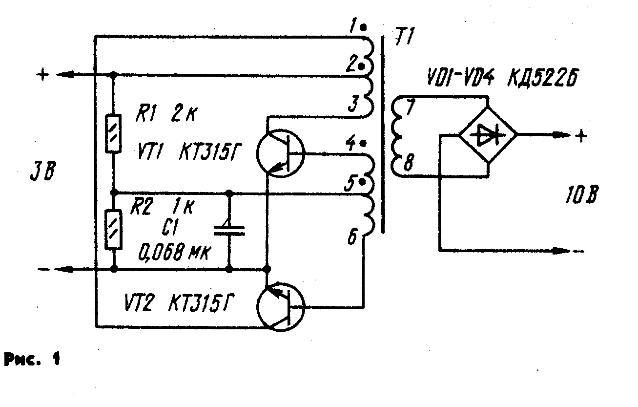
Преобразователь напряжения построен по схеме двухтактного генератора (рис. 1), что позволило получить достаточно высокий КПД. Роль переключателей выполняют транзисторы VТ1 и VТ2, которые поочередно открываются и закрываются подобно транзисторам симметричного мультивибратора. Фазировка их работы осуществлена соответствующим включением коллекторных и базовых обмоток трансформатора Т1. Делитель напряжения R2R1 обеспечивает запуск преобразователя. При включении напряжения питания падение напряжение на резисторе R2 (порядка 0,7 В) плюсом приложено к базам транзисторов и открывает их. Вследствие разброса параметров транзисторов токи коллекторов (и токи в коллекторных обмотках трансформатора Т1) не могут быть совершенно одинаковыми, а увеличение тока в одном из плеч генератора приводит к появлению положительной обратной связи на базу данного транзистора и, как следствие, лавинообразному нарастанию тока до его насыщения. При уменьшении скорости нарастания тока в коллекторной обмотке противоЭДС создает положительную связь на базу транзистора другого плеча, ток коллектора в первом плече спадает и лавинообразно увеличивается в цепи коллектора и обмотке другого транзистора. Таким образом, в магни-топроводе трансформатора наводится переменный во времени магнитный поток, который будет создавать во вторичной обмотке (выводы 7—8) ЭДС. Диодный мост VD1 — VD4 переменное напряжение преобразует в пульсирующее, а его сглаживание осуществляется элементами цепи питания усилителя воспроизведения. В устройстве преобразователя конденсатор С1 повышает надежность процесса самовозбуждения.

В конструкции применены самые распространенные транзисторы КТ315, причем можно взлть транзисторы с любым буквенным индексом и параметром h21Э>50. Однако не следует выбирать транзисторы с слишком большим h21Э, так как при этом падает экономичность устройства. Использование других транзисторов (кроме КТ373Г) нежелательно, так как напряжение насыщения перехода коллектор-эмиттер рекомендованных транзисторов составляет всего 0,4 В, и они обладают небольшими габаритами. Резисторы и конденсатор любые малогабаритные. Тарнсформатор выполнен на кольцевом магнитопроводе К7Х4Х2 из феррита марок 600НН, 400НН. Коллекторная обмотка намотана в два провода (диаметром 0,2 мм) и содержит 11 витков, а базовая (тоже в два провода диаметром 0,13 мм) имеет 17 витков. Вторичная (выходная) обмотка содержит 51 виток провода диаметром 0,13 мм. Намотка производится внавал проводом ПЭВ или ПЭЛ. Вместо диодов КД522Б можно использовать германиевые малогабаритные диоды, при соответствующем изменении числа витков трансформатора. Это даже приведет к повышению КПД преобразователя на 10—15 %. Если в преобразователе применить двухполупериод-ную схему выпрямления с выводом от средней точки вторичной обмотки, то это позволит уменьшить число диодов на два и дополнительно повысить КПД, так как последовательно с нагрузкой (усилителем) будет включен один выпрямляющий диод вместо двух. При этом необходимо произвести перерасчет преобразователя.
Монтаж преобразователя — любой, его детали можно расположить на одной плате с деталями усилителя или оформить в виде отдельного блока. В авторской конструкции был использован второй вариант (рис. 2). Детали преобразователя склеены между собой в объемную конструкцию, состоящую из трех слоев. Слой первый — конденсатор С1 и резисторы R1, R2. Второй — трансформатор и диодный мост, спаянный из VD1— VD4. Третий — транзисторы VТ1, VТ2, спаянные между собой выводами эмиттеров. Перед установкой транзисторов для уменьшения габаритов блока их следует сточить с боков до длины 7 мм. Выводы трансформатора припаяны прямо к выводам деталей. Остальные соединения сделаны тонкими проводниками. После этого следует припаять входные и выходные проводники и проверить работоспособность блока. При использовании исправных элементов и правильно выполненном монтаже конструкция сразу заработает. Если этого не произошло, то надо проверить правильность подключения обмоток трансформатора. После этого всю конструкцию следует залить эпоксидной смолой. Полностью изготовленный и проверенный на работоспособность блок помещают в коробочку из тонкой бумаги, предварительно в ней сделать отверстия для выводов и заполнить объем компаундом.
П. СУКОРЦЕВ, г. Хабаровск, РАДИО № 7, 1992 г.