Простой импульсный стабилизатор.

Преимущества импульсных стабилизаторов постоянного напряжения известны: высокий КПД и устойчивая работоспособность при большой разнице значений входного и выходного напряжения. В «Радио» уже публиковались описания таких стабилизаторов, но они либо не имеют защиты от замыкания в нагрузке [1, 2], либо очень сложны [3, 4]. Предлагаемый стабилизатор с широтно-импульсным управлением (рис. 1) по принципу действия близок к стабилизатору, описанному в [1], но, в отличие от него, имеет две цепи обратной связи, соединенные таким образом, что ключевой элемент закрывается при превышении напряжения на нагрузке или превышении тока, потребляемого нагрузкой.

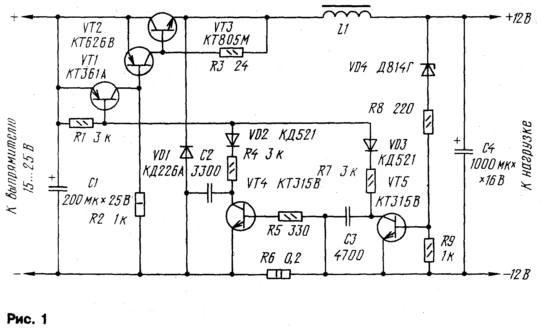
При подаче питания на вход устройства ток, текущий через резистор R2, открывает ключевой элемент, образованный транзисторами VT2,VT3 в результате чего в цепи транзистор VT3 — дроссель L1— нагрузка — резистор R6 возникает ток. Происходит зарядка конденсатора С4 и накопление, энергии дросселем L1. Если сопротивление нагрузки достаточно большое, то напряжение на ней достигает 12 В и открывается стабилитрон VD4. Это приводит к открыванию транзисторов VT5, VT1 и закрыванию ключевого элемента, а благодаря наличию диода VD1, дроссель L1 отдает накопленную энергию нагрузке.

Технические характеристики.

Входное напряжение. U,В.......................................................................................................15 ... 25

Выходное напряжение, U,В.........................................................................................................12

Номинальный ток загрузки I,А.....................................................................................................1

Пульсации выходного напряжений при I=1,0 А, В.................................................................. 0,2

КПД при Uвх.=18 В, I=1,0 А...................................................................................................... 0,89

Потребляемый ток, А. в режиме замыкания цепи нагрузки при Uвх.=18 В.............................0,4

Выходной ток, А. замыкания при Uвх.=18 В ............................................................................. 2,5

По мере уменьшения тока через дроссель и разрядки конденсатора С4 напряжение на нагрузке уменьшится, что приводит к закрыванию транзисторов VT5, VT1 и открыванию ключевого элемента. Далее процесс работы стабилизатора повторяется. Конденсатор СЗ, снижающий частоту колебательного процесса, повышает КПД стабилизатора. Более подробно о работе такого стабилизатора рассказано в [1].

При малом сопротивлении нагрузки колебательный процесс в стабилизаторе происходит иначе. Нарастание тока нагрузки приводит к увеличению падения напряжения на резисторе Кб, открыванию транзистора VT4 и закрыванию ключевого элемента. Далее процесс протекает аналогично описанному выше. Диоды VD2 и VD3 способствуют более резкому переходу устройства из режима стабилизации напряжения в режим ограничения тока, потребляемого нагрузкой. Нагрузочная характеристика стабилизатора приведена на рие.2. На участке а — б устройство работает как стабилизатор напряжения, на участке б—в - как стабилизатор тока. На участке, в—г выходной ток с уменьшением сопротивления нагрузки хотя и растет, но даже в режиме короткого замыкания (точка г) он безопасен для деталей стабилизатора. Интересно отметить: во всех режимах работы стабилизатора потребляемый им ток меньше тока нагрузки.

Стабилизатор выполнен на печатной плате из одностороннего фольгированного стеклотекстолита (рис. 3). Резисторы — МЛТ и С5-16Т (R6). Оксидный конденсатор С4 составлен из двух конденсаторов К50-6 емкостью по 500 мкФ каждый; конденсаторы С2 и СЗ—К10-7В. Диод КД226А (VD1) заменим на КД213; VD2 и VD3 могут быть любыми импульсными. Транзисторы VT1, VT4, VT5 — любые маломощные соответствующих структур с Uкэ max>Uвх. Транзистор VT2 (с некоторым ухудшением КПД) может быть любым из серии КТ814, VT3 — любым мощным структуры n-p-n в пластмассовом корпусе, который следует установить на теплоотводе размерами 40x25 мм из алюминиевого сплава. Дроссель L1 представляет собой 20 витков жгута из трех проводов ПЭВ-2 0,47, помещенных в чашечный магнитопровод Б22 из феррита 1500НМ3. Магнитопровод собран с зазором толщиной 0,5 мм из немагнитного материала. Безошибочно смонтированный стабилизатор налаживания не требует.

Стабилизатор несложно перестроить на другое выходное напряжение и ток, потребляемый нагрузкой. Необходимое выходное напряжение устанавливают выбором соответствующего стабилитрона VD4, а максимальный ток нагрузки — пропорциональным изменением сопротивления резистора R6 или подачей на базу транзистора VT4 небольшого тока от отдельного параметрического стабилитрона через переменный резистор. Участок б — в на нагрузочной характеристике позволяет использовать устройство для зарядки аккумуляторных батарей стабильным током. При этом, правда, КПД стабилизатора падает, и если предполагается длительная работа на этом участке нагрузочной характеристики, то транзистор VT3 придется установить на более эффективный тсп-лоотвод. Иначе допустимый выходной ток придется уменьшить. Для снижения уровня пульсаций выходного напряжения целесообразно использовать LC-фильтр, аналогичный примененному в [1].

Мною смакетирован аналогичный стабилизатор на напряжение 18 В при токе нагрузки, регулируемом от 1 до 5 А. Такое устройство можно использовать, например, для зарядки автомобильных аккумуляторных батарей, если предусмотреть защипу от их перепо-люсовки. Его транзисторы VT1 и VT2 — КТ914А, VT3 - КТ935А, VT4 и VT5 -КТ645А; диод VD1- КД213;VD4 -два последовательно включенных стабилитрона Д814А. Конденсатор С4 — два оксидных емкостью по 500 мкФ на номинальное напряжение 25 В. Дроссель L1 — 12 витков жгута из шести проводов ПЭВ-2 0,57 в магнитопроводе Б36 из феррита 1500НМ3 с зазором 0,5 мм. Резистор R6 — проволочный сопротивлением 0,05 Ом. Транзистор VT3 и диод VD1 установлены на общем теплоотводе с поверхностью 300 см2 через слюдяные прокладки. Для питания такого зарядного устройства использовался трансформатор ТН54 с соединенными последовательно обмотками. Мостовой выпрямитель на диодах Д242 с фильтрующим конденсатором емкостью 10 000 мкФ на номинальное напряжение 50 В.

Литература:

1.Мнровов А. Простой ключевой стабилизатор напряжения. — Радио, 1985, № 8

2.Мировош А. Усовершенствование импульсного стабилизатора напряжения. — Радио, 1987, № 4

З.Миронош А. Мощный импульсный стабилизатор постоянного напряжения. — Радио, 1987, № 9

4.Мвдведев И. Импульсный стабилизатор. - Радио, 1989, № 3

С. ЗАСУХИН, г. Санкт-Петербург

РАДИО № 6, 1993 г.

Назад