Не секрет, что сетевое напряжение порою «скачет» столь высоко, что не всякий электро- или радиоприбор его выдерживает. Отсюда и растущие горы аппаратуры в мастерских. Причем замечено, что особая зона нестабильности напряжения — сельская местность. Конечно, на помощь придет сигнализатор превышения сетевого напряжения [1], получше все же воспользоваться электронной автоматикой, скажем, в виде предлагаемого устройства защиты, «срабатывающего» при повышении сетевого напряжения более допустимого (либо установленного владельцем для данного прибора) и отключающего нагрузку от сети до тех пор, пока напряжение не опустится до безопасного.
Схема автомата приведена на рис. 1. Он содержит выпрямитель стабилизатор на деталях С4, VD4—VD7, СЗ, пороговый элемент на динисторе VS1, электронный ключ на транзисторах VT1, VT2 и исполнительный элемент на электромагнитном реле К1. Работает устройство так. В дежурном режиме, когда сетевое напряжение не превышает допустимого значения, динистор закрыт, конденсатор С2 разряжен, транзистор VT1 открыт. Поскольку напряжение на стоке полевого транзистора мало, транзистор VT2 закрыт, реле К1 обесточено — через его контакты К1.1 нагрузка включена в сеть (через розетку XS1). Как только сетевое напряжение повысится до определенного значения, возрастет и постоянное напряжение на конденсаторе С1 — оно станет достаточным для пробоя динистора. Конденсатор С1 разряжается и подзаряжает конденсатор С2. Но в какой-то момент тока через динистор оказывается недостаточно для удержания динистора в открытом состоянии.
Конденсатор С1 начинает заряжаться и как только напряжение на нем достигнет напряжений пробоя динистора, процесс повторится. При этом конденсатор С2 подзаряжается до напряжения, ограниченного напряжением стабилизации стабилитрона VD2. Но транзистор VT1 в этом случае окажется закрытым, а VT2 - открытым. Сработает реле и контактами К1.1 отключит нагрузку от сети. Если этот режим работы автомата необходимо индицировать, последовательно с обмоткой реле можно включить светодиод HL1 (показан на схеме штриховой линией)—АЛ307Б или аналогичный. Рабочий ток реле не должен превышать прямого тока светодиода, иначе параллельно светодиоду придется включить резистор соответствующего сопротивления. После того как сетевое напряжение уменьшится до допустимого уровня, динистор перестанет открываться, конденсатор С2 за несколько секунд разрядится, транзистор VT1 откроется, а VD2 закроется. Реле обесточится и контактами К1.1 подключит нагрузку к сети.
Для повышения помехоустойчивости в характеристику устройства введен гистерезис — оно срабатывает при одном напряжении, а возвращается в исходное состояние при меньшем на 10...20 В. Это достигается тем, что при срабатывании устройства резистор R5 замыкается и напряжение на динисторе увеличивается. Поэтому для возвращения устройства в исходное состояние сетевое напряжение должно снизиться на величину падения напряжения на резисторе R5. Резистор R6 служит для ограничения тока зарядки конденсатора С4 при первом включении устройства,

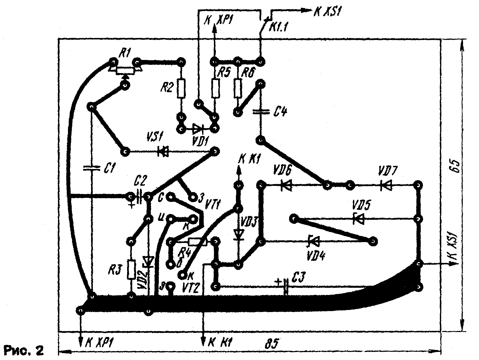
Детали автомата, кроме реле и светодиода (если его решили ввести), размещают на печатной плате (рис.2) из фольгированного стеклотекстолита, Она рассчитана на установку конденсаторов МБМ (С1), К50-24 (С2, СЗ), МБГО (С4), резисторов СПО, СП4 (R1), МЛТ-0,5 (R2), МЛТ-0,125 (остальные). Кроме указанных на схеме, подойдут VD1, VD6, VD7 — Д226Б или аналогичные; VD2 — К6168А, Д814А; VD3 — любой выпрямительный; VD4, VD5 — Д814В—Д814Д; VS1 —КН102Ж, КН102И; VT1 — КПЗОЗГ—КПЗОЗЕ; VT2—КТЗ15В— КТ315И. Реле К1 должно быть с током срабатывания не более 15 мА, в зависимости от его напряжения срабатывания следует выбирать стабилитроны VD4 и VD5. Так, если напряжение срабатывания реле составляет 15В, суммарное напряжение стабилизации стабилитронов должно быть на 5...6 В больше. На такое же напряжение (или большее) должен быть рассчитан конденсатор СЗ. Конечно, контакты реле должны обеспечивать коммутацию подключаемой нагрузки. Автор использовал реле РКМ1 (паспорт РС4.503.835) с включенными последовательно обмотками Можно применить реле и с большим током срабатывания, но в этом случае необходимо увеличить емкость конденсатора С4.
Собранный автомат регулируют так. Установив на его входе с помощью ЛАТРА напряжение, соответствующее максимальному рабочему для данного прибора, и переместив движок резистора R1 в верхнее по схеме положение (автомат сработает), плавно перемещают движок резистора R1 вниз до тех пор, пока реле не обесточится . Далее подбором резистора R5 добиваются нужного гистерезиса, т. е. разности напряжения сети, при котором происходит срабатывание автомата и его возвращение в исходное состояние.
И. НЕЧАЕВ, г. Курск
Литература:
1. Александров И. Сигнализатор изменения сетевого напряжения — Радио, 1989, № 8, с 66
РАДИО № 7, 1993г.