Устройство защиты аппаратуры от колебаний напряжения сети.

Для источников питания радиоэлектронной аппаратуры бытового назначения разработчики обычно закладывают допуск на изменение напряжения сети 10%. К сожалению, в ряде районов страны оно выходит за эти пределы. В этой ситуации аппаратуру лучше отключить. В предлагаемой статье приводится описание несложного следящего устройства, которое вовремя отключит потребителя. Предлагаемое устройство автоматически срабатывает при сетевом напряжении менее 170 В и более 242 В и отключает нагрузку от сети. Благодаря применению мощного реле к нему можно подключать нагрузку, потребляющую ток в несколько ампер.

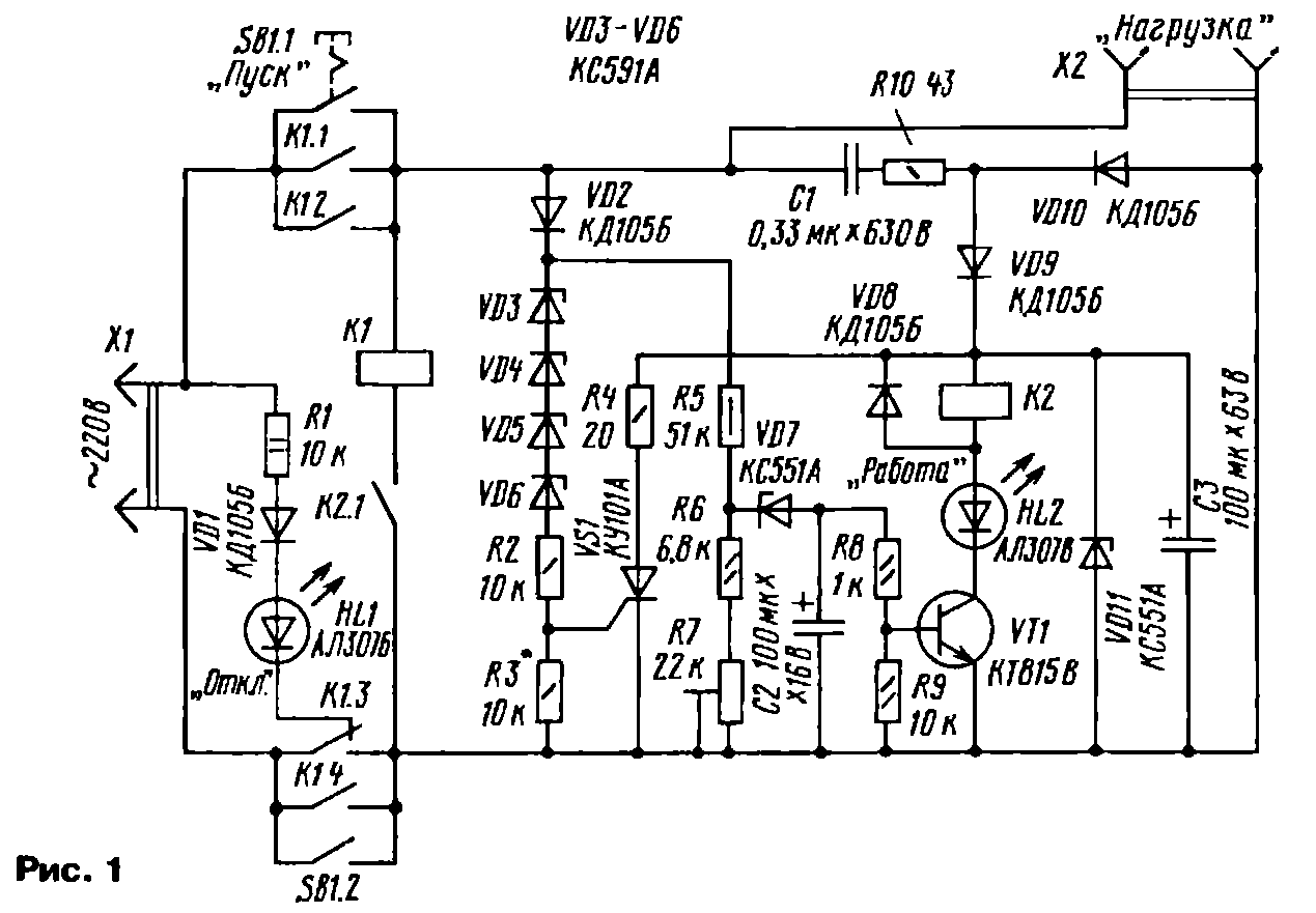
Схема устройства показана на рис. 1. После его подключения к сети все контакты реле К1, кроме К1.3, находятся в разомкнутом состоянии, светодиод HL1 сигнализирует, что нагрузка отключена. Для подключения ее к сети необходимо кратковременно нажать на кнопку SB1 "Пуск". Напряжение, поступающее на устройство защиты через гасящий конденсатор С1, выпрямляется диодами VD9 и VD10, сглаживается конденсатором СЗ и после ограничения стабилитроном VD11 используется для питания реле К2, которое включает более мощное реле К1. Одновременно сетевое напряжение подводится к диоду VD2. Положительные полуволны выпрямленного напряжения поступают на цепочку из стабилитронов VD3 — VD6 и резистивный делитель R5 — R7. Если напряжение в сети будет более 170 В, то поступающее на конденсатор С2 через стабилитрон VD7 напряжение окажется достаточным, чтобы открыть транзистор VT1. В результате сработает реле К2 и его замкнувшиеся контакты подключат реле К1 к сети. Кнопку SB1 при этом отпускают, и устройство переходит в рабочий режим. Светодиод HL1 погаснет, а светодиод HL2 загорится — это сигнал о переходе устройства в режим "Работа". Если же напряжение в сети будет меньше установленного подстроечным резистором R7 уровня, то устройство защиты к сети не подключится. Когда сетевое напряжение превысит допустимый уровень, откроется тринистор VS1. Напряжение, поступающее на реле К2, уменьшится до нескольких вольт, и его разомкнувшиеся контакты отключат устройство защиты и нагрузку от сети. При этом вновь загорится светодиод HL1.

Большинство деталей устройства размещено на печатной плате из одностороннего фольгированного стеклотекстолита толщиной 2 мм (рис. 2). Плата установлена в корпус из изоляционного материала. Там же методом навесного монтажа размещают остальные детали, а также реле К2, если оно имеет большие габариты.

Для монтажа использованы постоянные резисторы МЛТ; подстроечный — СПО (СПЗ-3, СПЗ-19). Конденсаторы К73 (С1) и К50-35 (С2, СЗ). Релв К1 - РПУ-2, МКУ-48 и аналогичные, работающие на переменном напряжении 220 В. К2 — РЭС-6 (паспорт РФО.452.100), РЭС-22 (паспорт РФ4.523.023-02) или другое с током срабатывания до 15 мА, напряжением срабатывания до 50 В и одним контактом на замыкание. Транзистор VT1 может быть заменен на КТ603А, Б или КТ630А-Д. Диоды VD1, VD2, VD8—VD10—любые маломощные выпрямительные с обратным напряжением не менее 400 В и током не менее 50 мА. Стабилитроны VD3 — VD6 определяют напряжение сети, при котором устройство от нее отключается. Здесь смогут работать КС600А, КС620А, КС630А, КС650А. КС680А, а также приборы с меньшим напряжением, например, КС524А. Надобность в них может возникнуть при подборе напряжения срабатывания устройства. Светодиоды подойдут любые, но лучше с разным цветом свечения.

Налаживание устройства защиты сводится к установке порога его срабатывания. При превышении напряжения сети порог выбирают подбором стабилитронов VD3— VD6 (грубо) и резистора R3 (плавно). Резистором R7 устанавливают минимальное напряжение сети, при котором устройство защиты от нее отключается. Для принудительного отключения устройства от сети нужно установить кнопку, работающую на размыкание последовательно с контактами К2.1 реле К2.

И. НЕЧАЕВ, г. Курск

Назад