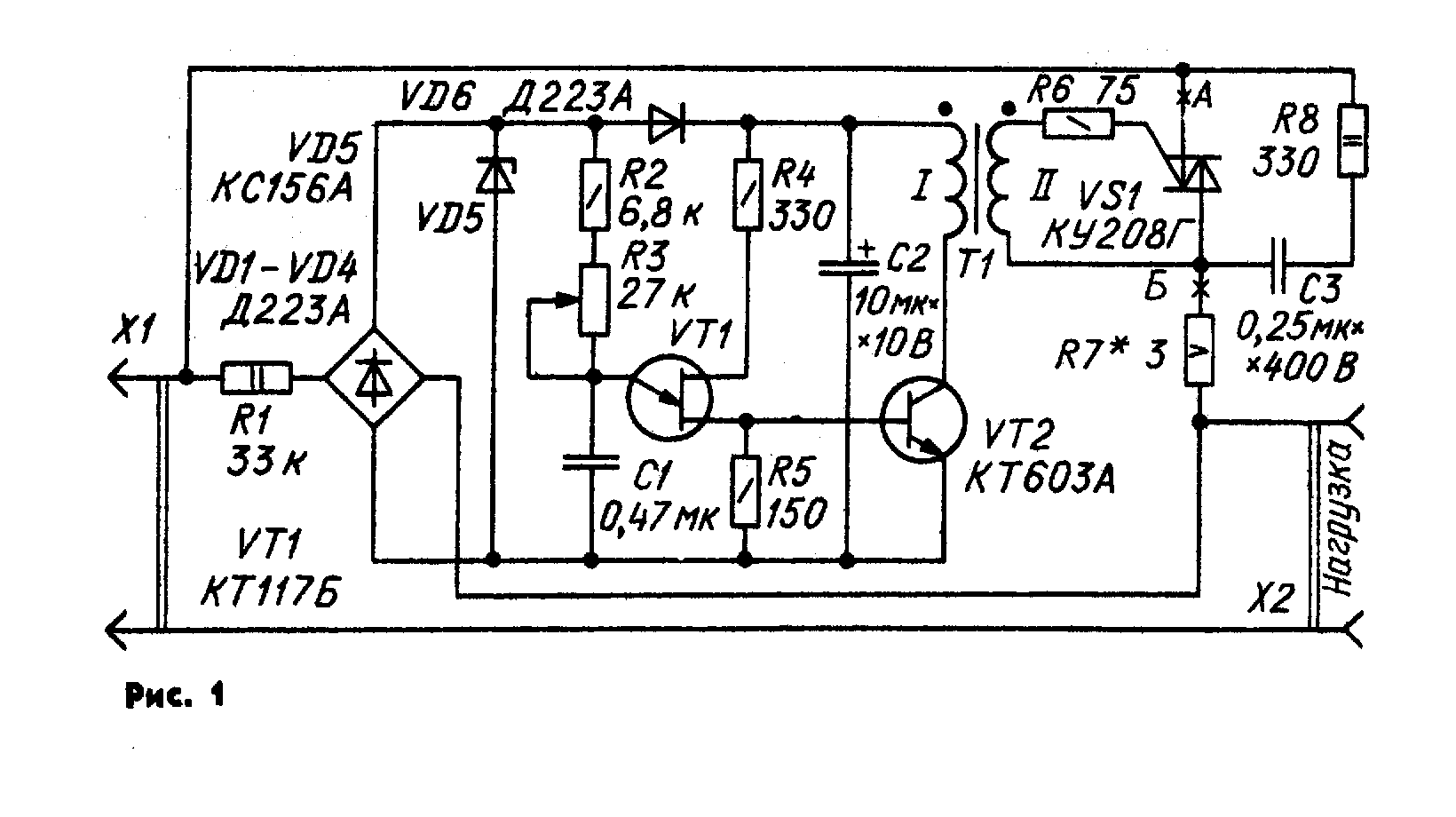
Все, кому приходилось пользоваться электроинструментом для обработки материалов (точильным станком, дрелью и т. п.), знают, что стоит только увеличить рабочую нагрузку, как обороты инструмента начинают падать. Устройство, схема которого показана на рис. 1, позволяет в некоторых пределах изменять частоту вращения якоря подключенного к нему электродвигателя. Кроме этого, оно способно существенно уменьшить зависимость частоты- вращения якоря от механической нагрузки на инструмент. При замыкании резистора R7 цепи обратной связи (ОС) дополнительным тумблером устройство можно использовать и как регулятор мощности до 500 Вт при активной нагрузке. Описания подобных устройств уже публиковались в «Радио», например, в [1] и [2]. От регулятора [ 1 ] предлагаемое устройство отличается наличием цепи ОС, стабилизирующей частоту вращения якоря двигателя электродрели. К тому же оно не требует установки в электродрель дополнительного диода, шунтирующего обмотку возбуждения. По сравнению с устройством, описанным в [2], оно проще, содержит меньшее число деталей и может работать в режиме регулятора мощности.

Принцип
работы устройства основан на двуполупериодном
фазовом управлении симистором VS1 (см. схему), что
обеспечивает двигателю электродрели полную
потребляемую мощность. Но в дрели установлен
коллекторный электродвигатель, поэтому ток в
цепи си-мистора из-за индуктивной нагрузки
прерывается, возникает ЭДС самоиндукции, что
приводит к неустойчивой работе симистора. Для
устранения этого явления параллельно симистору
подключена Цепь R8, СЗ. Выпрямительный мост VD1— VD4
и стабилитрон VD5 обеспечивают питание узла
управления симистором VS1 пульсирующим
напряжением. Резистор R1 гасит избыточное
напряжение сети. Задержку открывания симистора
по фазе определяет время зарядки конденсатора С1
через резисторы R2 и RЗ от источника напряжения»
уровень которого определяется стабилитроном VD5 и
коэффициентом передачи µ однопереходного
транзистора VТ1. При некотором пороговом
напряжении на конденсаторе С1 однопереходный
транзистор открывается, и на его нагрузочном
резисторе R5 появляется импульс напряжения,-
который транзистор VТ2 усиливает до уровня,
необходимого для включения симистора. Симистор
остается открытым до тех пор, пока ток, текущий
через негo, не уменьшится до порога его
выключения. При этом конденсатор С1 разряжается
да напряжения закрывания однопереходного
транзистора VТ1.
После выключения снмистора
конденсатор С1 снопа заряжается — начинается
следующий цикл работы узла управления
симистором. Резистор R7 — элемент цепи ОС по току
в нагрузке. Действие ОС иллюстрируют кривые,
снятые яря неизменном положении движка
переменного резистора R2 и работе электродрели на
холостом ходу (рис. 2) и под нагрузкой (рис. 3). Здесь
t1 — время зарядки конденсатора С1, t2
— время, в течение которого симистор находится в
открытом состоянии. С увеличением нагрузки на
вал электродвигателя частота вращения его якоря
снижается, что приводит к увеличению
потребляемого тока и падения напряжения (при
включенном симисторе) на резисторе R7. Когда
суммарное падение напряжения на семисторе и
резисторе R7 превысит напряжение закрывания
однопереходного транзистора VТ1, конденсатор С1
начинает заряжаться, в результате чего в новом
цикле работы устройства время его зарядки до
напряжения открывания транзистора VТ1 становится
меньше. Поэтому симистор при каждом полупериоде
будет находиться в открытом состоянии дольше,
мощность на валу двигателя соответственно
увеличится и восстановится прежняя частота
вращения. Регулятор испытывался при совместной
работе с электродрелью ИЭ 1032-1. Для работы
регулятора с другим подобным .инструментом
понадобится, возможно, подобрать резистор R7.
В регуляторе использованы постоянные
резисторы — МЛТ, переменный резистор RЗ — СП4-1,
конденсатор С1 — КМ-6 (можно МБМ), СЗ — МБГП,
оксидный С2 —К50-6. Резистор R7 намотан нихромовым
проводом диаметром 0,3 мм на резисторе МЛТ-2
сопротивлением не менее 100 Ом. Однопереходный
транзистор VТ1 может быть КТ117А. Транзистор VТ2 —
КТ603А или любой из серий КТ312, КТ315. Диоды Д223А
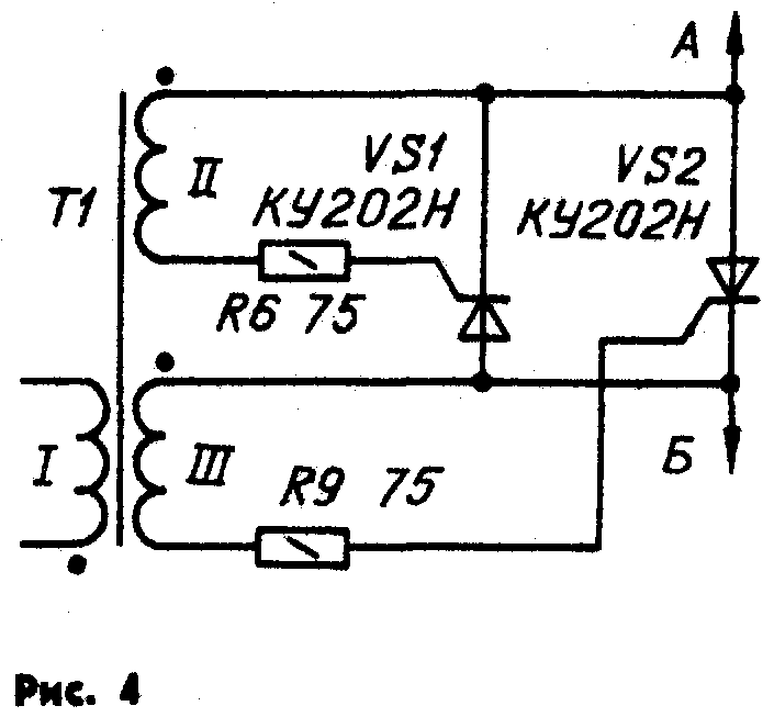
можно заменить на Д220 или КД521 А, симистор КУ208Г —
на два тринистора серии КУ202, включив их
встречно-параллельно, как показано на рис. 4.
Трансформатор
Т1 — МИТ-4 или самодельный, выполненный на
кольцевом магнитопроводе типоразмера К16x10x4,5 из
феррита 2000НМ, Обмотки самодельного
трансформатора содержат каждая по 100 витков
провода ПЭЛШО 0,12. При замене симистора двумя
тринисторами, импульсный трансформатор должен
иметь две вторичные обмотки (рис. 4). Монтаж
деталей регулятора — произвольный (зависят от
используемых деталей). Плату размещают в коробке
подходящих размеров из изоляционного материала.
На лицевую стенку коробки выводят ручку
переменного резистора RЗ, которая должна быть
выполнена из изоляционного материала. Рядом
размещают сетевую розетку Х2 для подключения
электродрели. На задней стенке корпуса
устанавливают латунные штыри диаметром 4 мм,
образующие вилку X1, посредством которой
регулятор подключают к розетке электросети.
Налаживание регулятора, собранного из заведомо
исправных деталей, сводится лишь к подборке
сопротивления резистора R7, добиваясь устойчивой
работы устройства. В случае использования
регулятора для работы с электродрелями
устаревших моделей придется, возможно, увеличить
емкость конденсатора СЗ до 0,47 мкФ. Регулятор
имеет непосредственный контакт с электросетью.
Поэтому, налаживая его, необходимо соблюдать
особую осторожность и выполнять требования
техники безопасности при работе с
электроустановками.
А. ТИТОВ, г. Сходня Московской обл.
ЛИТЕРАТУРА:
1. Г. Денисов. Тринисторный регулятор для коллекторного электродвигателя— Радио, 1990, № 1, с. 61, 62.
2. В, Кузин. Регулятор для вшей-ной машины.— Радио, 1990, № 3, с. 36, 37.
РАДИО № 9, 1991 г.