Мощный
регулятор

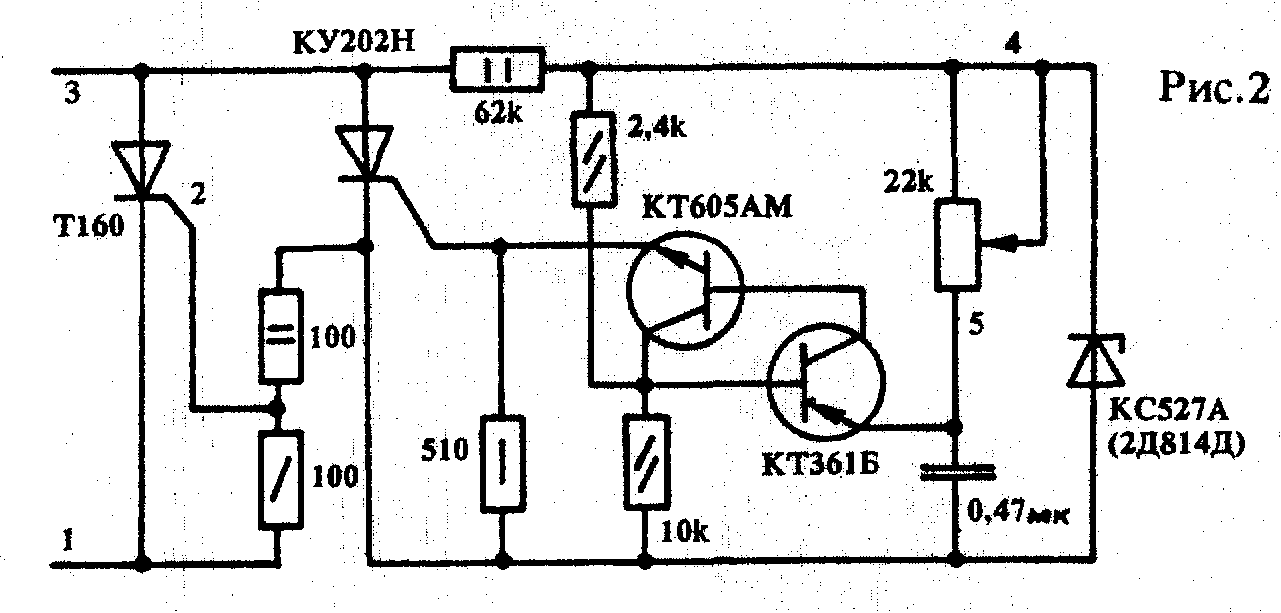
Основное
достоинство этого регулятора -простота и
надежность. Область его применения достаточно
обширна - от питания мощных электроприводов до
сварочных аппаратов. Схема не боится коротких
замыканий во вторичной цепи. Если регулятор
предполагается использовать с активной
нагрузкой (электронагрев, приборы, лампы
накаливания), то Тр1 из схемы можно исключить. На
рис. 1 дана силовая часть схемы, а на рис. 2 - блок
электронного управления, подключаемый к мощному
ти-ристору через контакты 1-3. Через контакты 4-5 на
виешнюю панель управления выведен потенциометр
регулятора.
Радиолюбитель 8/93
А.М., г. Славянок
