Движковый переключатель из П2К.

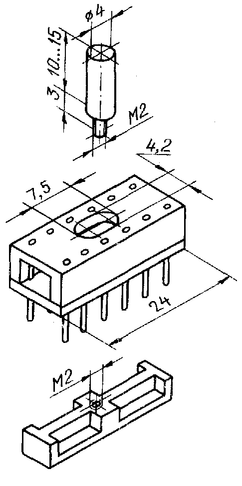
Приобрести в торговой сети миниатюрный движковый переключатель к карманному радиоприемнику исключительно трудно даже жителю г. Харькова, а сельскому радиолюбителю — тем более. И все же выход есть, и довольно простой. От корпуса распространенного переключателя П2К отпиливают часть нужной длины (на рисунке показана заготовка для переключателя на два положения и четыре направления), с верхней стороны •откусывают все выводы, после чего размечают и сверлят отверстие диаметром 4 мм. Подвижную часть (движок) переключателя "укорачивают, сверлят отверстие и нарезают в нем резьбу М2. В заключение надфилем распиливают овальное отверстие в корпусе. Ручку изготавливают из дюралюминия. Перед окончательной сборкой корпус переключателя прочищают изнутри куском поролона, смоченным Спиртом или ацетоном. Готовый переключатель впаивают выводами в плату устройства или приклеивают изнутри к лицевой панели (если она металлическая, то через изоляционную прокладку). Он легок в управлении и надежно фиксируется в обоих положениях.

В. ДИДЕНКО, г. Харьков

Назад