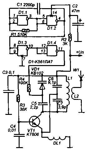
Большинство автосигнализаций при срабатывании сообщают владельцу о покушении на его собственность подавая звуковой сигнал. Одни используют в качестве звукоизлучателя автомобильный клаксон, другие блок-сирены. Но объединяет их один недостаток - дальность оповещения ограничена не только расстоянием, но и звукоизоляцией здания, в котором находится владелец машины. В результате, в зимнее время, когда все окна и форточки квартиры не только закрыты, но и щели в них заполнены утеплителем, а между рам засыпан влагопоглатитель, громкость звучания автосигнализации становится недостаточной для того чтобы её можно было услышать в квартире. В этом смысле более привлекателен радио - автосторож, но он, обычно, значительно дороже акустической сигнализации, а самодельный вариант требует построения сложных приемного и передающего трактов, кодирующего и декодирующего устройства. Применение такого сложного устройства оправдано, когда дальность передачи сигнала должна быть около 1-2 километров, но если нужно передать сигнал, например, со стоянки во дворе на 5-й этаж рядом стоящего дома (в общем метров 100-150), можно воспользоваться простым маломощным передатчиком УКВ ЧМ радиовещательного диапазона, а принимать сигнал на обычный УКВ ЧМ радиоприемник с системой БШН. Такой передатчик можно подключить двумя проводами параллельно автомобильному клаксону, который используется для сигнализации. Антенну, представляющую собой отрезок монтажного провода, проложить по заднему стеклу или поместить внутри пластмассового бампера. А приемник поставить на подоконнике, с той стороны, где стоит машина. Принципиальная схема такого простого передатчика показана на рисунке.

Передатчик состоит из высокочастотного генератора на транзисторе VT1 и частотного модулятора на микросхеме D1. Частота генерации зависит от параметров контура L1 С6 С7 С5 VD1. Обратная связь - емкостная, её напряжение снимается с точки соединения конденсаторов С6 и С7 и подается на эмиттер транзистора VT1. Дроссель в эмиттерной цепи транзистора обеспечивает необходимую развязку между ВЧ напряжением и постоянным током. В результате транзистор VT1 может работать в режиме с относительно высоким током коллектора и выдавать максимальную мощность в контуре. Напряжение смещения на базе транзистора задается резистором R3, конденсатор С4 шунтирует ВЧ составляющую базового напряжения транзистора. Частотная модуляция производится при помощи варикапа VD1, роль которого может выполнять и стабилитрон, на напряжение, превышающее напряжение питания передатчика. Импульсы низкочастотного напряжения частотой около 1000 Гц поступают на варикап от мультивибратора на микросхеме D1. Дроссель DL1 намотан на постоянном резисторе МЛТ-0,5 сопротивлением более 30 кОм, он содержит 60 витков ПЭВ 0,12. Катушки L1 и L2 бескаркасные, они намотаны проводом ПЭВ 0,31 на оправке диаметром 5 мм. И для диапазона 87-108 МГц содержит 6-7 витков, а L2 - 2 витка. Для диапазона 64-75 МГц - L1 содержит 12 витков, L2 - 4 витка.
Бегунков С.П., Радиоконструктор № 2, 2001