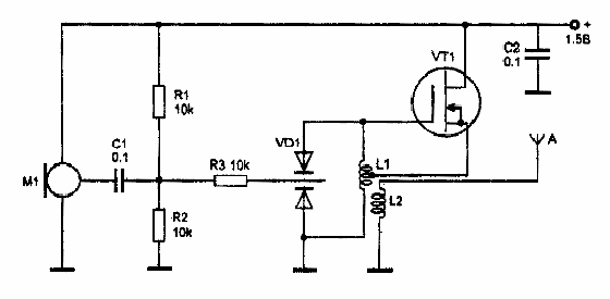
Сверхмаломощного передатчик диапазона 80-100 МГц с частотной модуляцией. Его выходная мощность 0,5 мВт, потребляемый ток не превышает 2 мА. Питание осуществляется от аккумуляторного элемента напряжением 1,5 В. Задающий генератор У KB диапазона выполнен на полевом транзисторе VT1 типа КП313А по схеме индуктивной трехточки с использованием проходной емкости МОП-транзистора. В генератор входят элементы VT1, VD1, L1, L2, С2, R3, а также соединительные и общий провода.

Рис. 1.
Модулирующий сигнал с выхода микрофона М1 через конденсатор С1 и делитель напряжения R1, R2, R3 поступает на варикапную матрицу VD1 типа КВС111А, изменение емкости которой приводит к частотной модуляции задающего генератора. Делитель напряжения на резисторах R1 и R2 служит для установки рабочей точки варикапа VD1. Катушка L1 - бескаркасная, она состоит из 7 витков провода ПЭВ 0,44 с отводом от 3 витка, считая от заземленного вывода. Внутренний диаметр катушки L1 - 4 мм. Катушка L2 содержит 1 виток того же провода, что и катушка L1. Ее нужно разместить соосно катушке L1и по возможности ближе к ее заземленному выводу. В качестве антенны используется отрезок монтажного провода длиной 0,8 м, который для компактности может быть скручен в спираль. Настройка передатчика сводится к установке частоты 88-108 МГц путем изменения индуктивности L1. Частоту настройки контролируют по промышленному приемнику. Транзистор генератора должен иметь ток не менее 1-1,5 мА (при замкнутой накоротко катушке L1). В заключение хотелось бы отметить, что при увеличении напряжения источника питания до 4,5 В выходная мощность высокочастотного генератора возрастет до 10 мВт. При этом для сохранения девиации частоты рекомендуется подобрать сопротивление резистора R3.
Андрианов В.И., Бородин В.А., Соколов А.В. "Шпионские штучки и устройства для защиты объектов и информации", 1996 г.