ОСНОВНЫЕ ТЕХНИЧЕСКИЕ ХАРАКТЕРИСТИКИ
Максимальная мощность излучения передатчик» в антенне (Fmax.)..................не более 5 мВт
Частота передатчика перестраиваемая (Fген.).....................................................66-73 МГц - 108 МГц
Тип модуляции.............................................................................................................частотная ЧМ
Максимальная девиация частоты (Fmах.)..............................................................не более 50 кГц
Индекс модуляции (М)..................................................................................................не более 3,3
Полоса радиоканала (Fk)..........................................................................................не шире 180 кГц
Постоянная времени НЧ предыскажений........................................................................50/75 мкс
Полоса пропускаемых частот........................................................................................50...15000 Гц
Максимальный радиус действия (Rmax.).....................................................................не менее 500 м.
Напряжение питания питания (Uпит)...................................................................................9 В
Потребляемая мощность (Рпотр.)...............................................................................не более 200 мВт
Потребляемый ток (Iпотp.)...........................................................................................не более 23 мА
Чувствительность с микрофонного входа...................................................................не менее 2 мВ
Чувствительность с линейного входа..........................................................................не менее 100 мВ
Особенность данного
передатчика — размещение колебательного
контура в базовой цепи генерирующего элемента.
Работает генератор по принципу емкостной
"трехточки" (рис.2). В нем используется
частотная модуляция. Принципиальная
схема радиомикрофона приведена на рис.1. В его
состав входят два блока: низкочастотный и
высокочастотный. Применение в конструкции
микрофонного усилителя, использование
высокочувствительного микрофона (типа МКЭ-3,
МД-271) и оптимальный выбор режима работы
транзистора VT2 позволяют достичь требуемого
значения глубины модуляции. Схема обладает
определенной универсальностью и может быть
адаптирована в зависимости от требуемой
конструкции и области применения. Наличие
регулятора глубины модуляции позволяет
использовать передатчик для разных целей: как
радиомикрофон для передачи речи или для
подключения к различным источникам звука
(телевизору, проигрывателю, магнитофону и т.д.) с
целью ретрансляции их звукового сигнала на любой
УКВ ЧМ радиоприемник. Для этого в схему включен
разъем XS1, позволяющий одновременно с
отключением микрофонного усилителя подать на
линейный вход модулятора сигнал внешнего
источника. Дальность действия радиомикрофона в
зависимости от конструкции передающей и
приемной антенн и класса радиоприемника может
составить в помещении с железобетонными стенами
несколько десятков метров, а при прямой
видимости — не менее 0,5 — 0,6 км. Микрофонный
усилитель, построенный на одном транзисторе по
схеме с общим эмиттером, предназначен для
повышения чувствительности модулятора. В
качестве VT1 желательно использовать малошумящий
транзистор типа КТ3102. В коллекторную цепь
транзистора включено сопротивление нагрузки R4.
Напряжение смещения на базе VT1 определяется
резисторами R2 и R3. Переменное сопротивление R5
регулирует глубину модуляции несущей частоты
Рген. радиопередатчика ("громкость").
Входное сопротивление микрофонного усилителя
составляет порядка 300 Ом, поэтому в нем можно
использовать практически любой низкоомный
микрофон, однако для уменьшения габаритов
конструкции предпочтение следует отдать
миниатюрному МКЭ-3, МД-201 и им подобным. На рис.3
представлена альтернативная схема микрофонного
усилителя на ИМС К548УН1, обладающего гораздо
большим коэффициентом усиления, и,
соответственно, увеличивающего
чувствительность радиомикрофона. ИМС К548УН1
характеризуется низким уровнем шумов (не белее 60
дБ) и некригичностью к нестабильности и
пульсациям напряжения питания. Поскольку эта ИМС
представляет сдвоенный усилитель, то второй
канал дает радиолюбителю возможность
подключения дополнительного источника звука. В
данном варианте коэффициент усиления зависит or
соотношения сопротивлений 3R3/3R2 и на-хоатсяв
пределах от100 до 300. Чувствигельнось микрофонного
усилителя—не менее 1мВ. Сигнал с коллекторной
нагрузки транзистора VT1 через регулятор R5
поступает в цепь низкочастотных предыскажений
R6C9, целью которой является повышение
помехозащищенности тракта передачи звука путем
подъема уровня ВЧ составляющих звукового
сигнала в передатчике и обратного действия, т.е.
срезания ВЧ в радиоприемном устройстве. При
использовании в систе
ме связи отечественного радиоприемника
постоянная времени для линейности АЧХ всего
тракта должна составлять 50 мкс, а для импортного
— 75 мкс. В последнем случае величины R6 и С9
составят 5,1 кОм и 0,015 мкф соответственно. Для
повышения качества звучания в области верхних
частот (субъективного восприятия) можно
применить и более высокое значение времени
коррекции, однако при значительном завышении
данных номиналов происходит не только резкое
подчеркивание высоких частот в принимаемом
сигнале, но и возрастает уровень шумов.
Отсутствие RC-це-пи в передающем устройстве
приведет к "глухому" звучанию приемника. В
качестве цепи НЧ предыскажений можно применить
простейший регулятор тембра, схема которого дана
на рис.4. Этот регулятор позволяет изменять
соотношение НЧ 100 Гц и ВЧ 10 кГц приблизительно на
±15 дБ относительно друг друга. Требуемая
величина максимальной девиации несущей частоты
±50 кГц (для отечественного стандарта, ±75 кГц для
западного) получается при изменении напряжения
звуковой частоты на базе транзистора VT2,
приблизительно равном ±10...100 мВ. При значительно
больших величинах возможно появление искажений
звука в виде хрипа (из-за нелинейности
модуляционной характеристики или перегрузки
входных каскадов УНЧ радиоприемника) и
возникновение паразитной АМ(ПАМ).



В автогенераторах подобного типа ЧМ чаще всего основываются на изменении параметров колебательного контура или изменении потенциалов выводов генерирующего элемента. В данном случае применяется второй вид ЧМ, т.к. управляющее напряжение приложено к базе транзистора VT2, изменяя тем самым напряжение смещения на переходе база-эмиттер, и, соответственно, емкость цепи Б-3, которая является составной частью колебательного контура генератора (рис.2). Данный контур включает в себя также катушку индуктивности L3, расположенную по ВЧ между базой и массой, и конденсаторы С13—С15. Конденсатор С 15 включен в цепь обратной связи емкостной "трехточки", являясь одним из плеч делителя Сб-э — С15, с которого снимается напряжение ОС. Емкость С15 позволяет регулировать уровень возбуждения и должна составлять примерно 5-8 пф. Для установки оптимального режима работы генератора и получения максимально возможной мощности необходимо правильно выбрать генерирующий элемент. При этом надо учитывать, что его верхняя граничная частота должна не менее чем в 5-6 раз превышать рабочую частоту передатчика. Этому требованию наиболее полно удовлетворяют транзисторы типа КТ355А, КТ372А-В, КТ326, КТ363А,Б, Хотя можно использовать и более распространенные КТ315, КТ339 и др. Применение транзисторов структуры п-р-п более желательно, т.к. они обладают лучшей температурной стабильностью. В генераторе необходимо исключить возможность появления сильной ПАМ. Ослабить ее можно правильным подбором рабочей точки генератора, зависящей от сопротивлений R7—R9. Резисторы R7 и R8 зашунтирова-ны по ВЧ конденсаторами С10 и СИ. Величина сопротивления в цепи эмиттера составляет примерно 68...100 Ом, поэтому во избежание его влияния на колебательный контур, которое может вызвать чрезмерное расширение полосы частот резонансной кривой, последовательно с R9 включен дроссель, блокирующий прохождение токов ВЧ. Раньше существовал специально выделенный для радиомикрофонов диапазон частот 57,5... 58,5 МГц. Но в данной конструкции частота генерации передатчика находится в пределах 66...73 МГц, что позволяет использовать в качестве приемного устройства практически любой промышленный радиоприемник с отечественным УКВ диапазоном, в связи с чем не требуется самому заниматься его изготовлением. Кстати, таким же образом поступают за рубежом при производстве бытовых маломощных радиомикрофонов и средств радиоохранной сигнализации. Например, частота настройки японского радиомикрофона "Orion" равна 100 МГц и может перестраиваться в пределах ±8 МГц (японо-американский широковещательный диапазон УКВ (FM) — 88... 108 МГц). Чтобы избежать возможных помех радиовещательным станциям и, наоборот, помех с их стороны, необходимо выбрать свободный участок УКВ диапазона (емкость его составляет несколько десятков радиоканалов, а используется максимум 4...6). При этом смещение частоты радиомикрофона от ближайшей радиостанции должно быть не менее 250 кГц. Можно перевести работу передатчика на второй радиовещательный диапазон УКВ 100...108 МГц, принятый недавно в отечественном стандарте [2,8]. Этот диапазон пока еще только осваивается, да и то лишь в больших городах (Москва, Санкт-Петербург, Минск), в других местностях он, видимо, еще долго будет оставаться свободным. К тому же во многих импортных радиоприемных устройствах имеется возможность приема на частоте 87,5... 108 МГц. Да и переделать отечественный приемник типа "Ирень" для работы в этом диапазоне не представляет особых трудностей. Ниже приводится рад формул, по которым можно рассчитать данные колебательных контуров на разные частоты и LC-константы соответствующих частот. Данные измерений в пф, мкГн, см, МГц. Емкость контура Сконт. выбирается, исходя из воотношения Сконт. = 1...5 (м). Индуктивность Lдр. = 20...50 Lконт. Расчет индуктивности однослойной катушки (при соотношении l/D = 0,4...2,5 тoчность составляет не менее 1%): длина намотки L=dпp. • w, D=dкapк.+dпp., (w — количество витков)
L=0,01 • D • w? / 1/D + 0,46 или L = D? • w? / 45D + 100L
Частоту генерации можно определить, исходя из формулы: F=159 / v¬LC
Расчет LC-констант выполняется по формуле: LC = (159 / F)?
Соответственно
L=LC / C или C=LC / L
Ниже даны LC-константы некоторых частот: 66 МГц - 5,8; 73 МГц - 4,74; 104 МГц - 2,34; 70 МГц - 5,16; 100 МГц - 2,53; 108 МГц - 2,17. При расчетах необходимо учитывать паразитную емкость монтажа, которая составляет приблизительно 3-6 пф. Источник звука с выходным напряжением 0.2..0.5 В подключается к линейному входу—гнезду XS1. Дроссели L1 и L2 индуктивностью 5..20 мкГн, резистор Р1и конденсаторы С1, С7 служат для развязки каскадов РМ по НЧ и ВЧ. При напряжении питания 9 В потребляемый радиомикрофоном ток составляет около 20 мА, а мощность излучения при правильном согласовании с антенным контуром равна 5 мВт. Данная схема без существенных переделок может работать на частотах до 120... 150 МГц. При этом потребуется изменить лишь параметры колебательного контура. Наличие стабилизатора напряжения в схеме желательно, но необязательно. Его можно исключить, однако при этом ухудшится стабильность несущей частоты. Вообще же стоит заметить, что при определенных изменениях в номиналах некоторых резисторов и конденсаторов радиомикрофон может сохранять работоспособность при напряжении питания от 1,5 до 25 В. Для питания, в зависимости от конкретного применения, можно использовать различные источники напряжения, например, батарею типа "Корунд" или "Крона", аккумулятор 7Д-0.1. Сетевые блоки питания должны иметь низкий уровень пульсаций вырямленного напряжения (не более 10—20 мВ). Радиомикрофон монтируется на печатной плате из одностороннего фольгированного стеклотекстолита толщиной 1...1,5 мм. При проектировании печатной платы и монтаже надо стремиться к тому, чтобы в схеме было как можно меньше нежелательных обратных связей, возникающих, в основном, из-за различных паразитных емкостей. Для этого длина выводов деталей и печатных дорожек должна быть минимальной, не следует делать печатные дорожки слишком широкими. Особенно это касается дорожек и выводов, примыкающих к базе и эмиттеру генерирующего транзистора. Каскады радиомикрофона удобнее всего располагать в линейку (рис.5,6, расположение деталей показано со стороны печатной платы). Связь колебательного контура с антенной — индуктивная. Но антенну можно также присоединить непосредственно к катушке колебательного контура L3 — ко второму (со стороны массы) витку через конденсатор емкостью 1 ...2 пф. При этом длину антенны желательно уменьшить до 60...80 см во избежание внесения паразитной емкости в задающий контур и ухода в сторону частоты генерации. Для устранения микрофонного эффекта катушки L3 и L4 необходимо жестко закрепить на плате и после настройки залить парафином, эпоксидной смолой или закрепить клеем Бф-2. На рис.7,8 даны печатная плата и схема расположения деталей для радиомикрофона, смонтированного в корпусе от радиоприемника "Невский". При монтаже от последнего использованы телескопическая антенна, регулятор громкости, разъем питания и соединительное гнездо XSI. Можно использовать любой другой подходящий корпус (например, радиоприемники "Олимпик", "Ирень") или склеить его самому. С целью снижения размеров конструкции и уменьшения паразитных емкостей следует использовать малогабаритные детали. Для сопротивлений подойдут резисторы типа ВС-0,125. (0)МЛТ-0.125, или С2-ЗЗН± 10% (К). Переменные сопротивления — типа СПЗ-1. СПЗ-19, СПЗ-22А, СПЗ-38. Необходимо особо остановиться на подборе конденсаторов, т.к. от них зависят многие параметры. В частотнозадающих цепях лучше всего использовать керамические конденсаторы типа КДУ, КД-1, КТ-1 (корпус серого или голубого цвета), К10-17, К10-38, К26-1 с ТКЕ ПЗЗ, МПО или МЗЗ. В блокировочных цепях можно ставить К10У-5, К10-7В, К22У-1. К22-5.КМ-5. Из подстроенных годятся КТ4-23, КПК-(М)Т, КПК-МН. На месте оксидных конденсаторов подойдут К50-6. К50-16. К50-35, К50-38.


Для изготовления контурных катушек L3 и L4 желательно применить посеребренный провод диаметром 1-2 мм. При его отсутствии серебрение можно выполнить самому в соответствии с рекомендациями, данными в [13]. Катушки без каркаса, внутренний диаметр — 10 мм. Первая содержит 5, а вторая — 3 витка провода диаметром 1,5, индуктивность L3«0,25 мкГн (для диапазона 100...108 МГц — 4 и 2 витка соответственно, индуктивность L3?c0,19 мкГн). При установке катушек L3 и L4 на плату следует иметь в виду, что расстояние между их цент* рами должно составлять примерно 8 мм. В качестве антенны используется укороченный ассиметричный диполь — четвертьволновый отрезок толстого многожильного провода длиной 80... 100 см или подходящая телескопическая антенна (можно меньшей длины). Индуктивновть блокирвочных дросселей L1-L3 примерно равна 5...20 мкГн. Тип — Д(М)-1,2, ДПМ-0,1, ДВА. Можно применить самодельные, намотав на корпусе резистора МЛТ-0,25 сопротивлением не менее 500 кОм 40...50 витков провода ПЭВ-0,1, уложенных в один ряд. Гнездо XSI — типа ГК2. Катушка 3L1 содержит 500 витков провода ПЭВ-0,1 на пермаллоевом кольце. Правильно собранная схема начинает работать сразу. В наличии генерации можно убедиться по изменению потребляемого тока при закорачивании на массу базы транзистора VT2 конденсатором емкостью порядка 0,01 мкф. Дальнейшая регулировка заключается в подборе рабочей точки транзистора VT2.


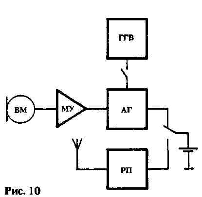
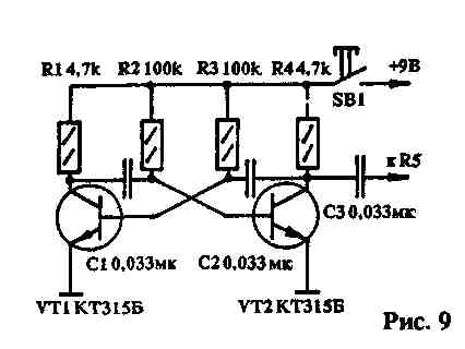
При принудительном срыве генерации напряжение между базой и эмиттером VT2 должно быть около 0,66 В. Неустойчивость генерации при выходе генерирующего элемента из рабочего режима можно заметить по шумам, хрипам и резким изменениям звукового тона. Далее путем растяжения или сжатия витков катушки L3 необходимо подогнать частоту генератора под требуемое значение (в данном случае ~70 МГц), которое должно выставляться при среднем положении ротора конденсатора С 14. При этом можно воспользоваться радиоприемником типа "Океан", (со шкалой принимаемых частот и индикатором уровня принимаемого сигнала, который пригодится при дальнейшей настройке). Для контроля настройки и качества модуляции на линейный вход радиомикрофона подается звуковой сигнал напряжением 0,2 В и частотой 1 кГц. Точное значение частоты автогенератора подбирается вращением сердечника конденсатора С 14 диэлектрической (пластмассовой) отверткой. При необходимости дальнейшей настройки следует помнить, что при несоответствии верхней границы диапазона регулировка производится под-строечным конденсатором, а нижней — изменением расстояния между витками катушки колебательного контура. При налаживании необходимо учитывать, что от конденсаторов С13...С15 зависит частота генерации и девиация несущей (чувствительность модулятора по НЧ), С 15 влияет на уровень возбуждения генератора. В заключение подстроечным конденсатором С 12 необходимо настроить антенный контур L4C12 в резонанс с частотой передатчика и подобрать связь между катушками L3 и L4 по максимальной отдаваемой мощности. Контроль настройки при этом ведется при помощи ВЧ вольтметра или индикатора уровня принимаемого сигнала. Особое внимание необходимо уделить уменьшению гармоник в выходном радиосигнале и не допускать эксплуатации радиомикрофона при значительном их уровне. Устройство не должно создавать помех на частотах близлежащего диапазона. При Рген., лежащей в диапазоне 66...73 МГц, можно проверить уровень третьей гармоники по помехам на IX...XI каналах телевизионного приемника (по этим же телеканалам можно проверить уровень второй гармоники диапазона 100... 108 МГц). Налаживать следует таким образом, чтобы гармоники не создавали каких-либо значительных помех на указанных частотах, помня о том, что они, как и ПАМ, во многом зависят от режима работы автогенератора. Настройка микрофонного усилителя сводится к подбору рабочего режима транзистора VT1 при помощи резисторов R2 и R3, определяющих напряжение смещения на базе VT1, и установлению коэффициента усиления не менее 50 (при этом может потребоваться изменить сопротивление коллекторной нагрузки — резистора R4). При подаче на базу VT1 напряжения 2 мВ частотой 1 кГц переменное напряжение на коллекторе должно быть не менее 100 мВ. Уровень усиления можно контролировать, подключив на выход микрофонного усилителя телефонный капсюль типа ТМ-4. Для изготовления переговорного устройства с симплексной связью можно воспользоваться блок-схемой, представленной на рис.10. Напомним, что симплексной называется такая связь, при которой передача и прием ведутся поочередно: сначала одна радиостанция только передает, а другая только принимает, затем наоборот. Если кто-то захочет самостоятельно сделать простой УКВ ЧМ радиоприемник, который будет работать как в паре с передатчиком, так и отдельно, как радиопереговорное устройство, то можно воспользоваться схемами, приведенными в [8-12]. При изготовлении радиопереговорного устройства к схеме можно добавить генератор тонального вызова (ГТВ) (рис.9), собранного по схеме мультивибратора на транзисторах 9VT1 и 9VT2. Выход ГТВ присоединяется к контакту 5 XS1. При нажатии на кнопку 9S1, находящуюся в цепи питания мультивибратора, сигнал частотой около 1 кГц подается с разделительного конденсатора 9СЗ ГТВ на линейный вход модулятора радиомикрофона. Исходя из данной схемы автогенератора, можно изготовить радиоохранную сигнализацию или миниатюрный передатчик с минимальным набором деталей, который свободно поместится в спичечном коробке. Схема такого устройства изображена на рис.11. Радиус действия мини-передатчика и стабильность несущей частоты невелики, но при использовании хорошего радиоприемника или магнитолы с АПЧ этого и не требуется. Некоторые данные такой конструкции приведены на рис.11, остальное зависит от творческой фантазии радиолюбителя.
ЛИТЕРАТУРА:
1. Шумилин М.С. и др. Проектирование транзисторных каскадов передатчиков. — М.:Радио и связь, 1987.
2. Выходец А.В. и др. Звуковое и телевизионное вещание. — М.: Радио и связь, 1987, с. 144-148.
3. Иванов В.К. Оборудование радиотелевизионных передающих станций.— М.: Радио и связь, 1981.
4. Учебник сержанта войск связи. Книга третья. — М.Военное изд-во МО СССР, 1953.
5. Богданович Б.М., Ваксер Э.Б. краткий радиотехнический справочник.— Мн.:Беларусь, 1976.
6. Байков А.Л. Музыкантам о звукоусилении. — Мн: Полымя, 1981.
7. Дольник А.Г., Эфрусси М.М. Микрофоны. — М.: Энергия, 1967.
8. Терещук P.M. и др. Полупроводниковые приемно-усилительные устройства:
Справочник радиолюбителя. — Киев: Наукова думка, 1989, с.780.
9. Ринский В. УКВ ЧМ приемник: В помощь радиолюбителю. Сборник. Вып. 100. — М.: ДОСААФ, 1988, с.49-62.
10. Захаров А. УКВ ЧМ приемник с ФАПЧ. — Радио, 1985, N12, с.28-30.
11. Погарцев И. УКВ приемник с ФАПЧ. — Радио, 1986, N 5, с.36.
12. УКВ ЧМ приемник на одном транзисторе. — Радио, 1970, N6, с.59.
13. Радио, 1987, N7.C.59.
И.МОСТИЦКИЙ, 225320, Брестская обл., г. Барановичи-10, а/я 40., Радиолюбитель 4/93